0  155190  155198  155204  155208  155214  155216  155220  155226  155228  155234  155240  155244  155246  155250  155256  155258  155264  155268  155270  155274  155276  155280  155282  155284  155285  155286  155288  155289  155290  155292  155294  155298  155300  155304  155306  155310  155316  155318  155324  155328  155330  155334  155340  155346  155348  155354  155358  155360  155366  155370  155376  155384  447090 

22.(14分) 如图所示,水平传送带A、B相距s=3.5m,工件与传送带间的动摩擦因数μ=0.1。工件滑上A端瞬时速度vA=4m/s,到达B端的瞬时速度设为vB,g取10m/s2

(1)若传送带不动,vB多大?(4分)

(2)若传送带以速度v逆时针匀速转动,vB多大?(2分)

(3)若传送带以速度v顺时针匀速转动,试说明当V取不同值时vB 的可能值?(8分)

 

试题详情

21、(12分)如图3-53,斜面倾角为θ,劈形物P上表面与m的动摩擦因数为μ,P上表面水平,为使m随P一起运动,求:

(1)、当P以加速度a沿斜面向上加速运动时,则μ不应小于多少?

(2)、当P在光滑斜面上自由下滑时,μ不应小于多少?

试题详情

20.(10分)如图,某时刻AB两物体相距7 m,A以4 m/s的速度向右做匀速直线运动,此时B的速度为10 m/s,方向向右,在摩擦力作用下做匀减速运动.已知动摩擦因数μ=0.2,从该时刻起经多长时间A追上B

试题详情

19、如图3-47,质量为m的物块放在倾角为θ的斜面上,斜面体质量M,斜面与物块的动摩擦因数μ=0.2,地面光滑,θ=37°,现对斜面体施一水平推力F,使M和m一起以加速度a在水平面上做匀加速运动,(若M与m始终保持相对静止, g取10m/s2)       

(1)当a=5 m/s2 ,则m所受摩擦力方向是沿斜面向           

(2)当a=10 m/s2 ,则m所受摩擦力方向是沿斜面向           

试题详情

18、如图3-8所示,一足够长的竖直杆与木架连在一起,杆与木架的质量共为m1=1.0kg,一个质量为m2=2kg的小球紧套在竖直杆上,今使小球沿竖直杆以初速度竖直向上运动,木架恰好对地无压力.则小球上升时的加速度大小为     m/s2,若小球与杆间的相互作用力大小不变,则小球下滑时的加速度大小为      m/s2   (取g=10m/s2)        

试题详情

17.质量为2kg的物体在合外力F的作用下运动,其速度-时间图象如图所示。由图可知,在0-2s内,F的大小是________;F的方向与运动方向相_________。在2-4s内,F的大小是________;F的方向与运动方向相________。

试题详情

16.如图所示,三个质量相等的物体用轻弹簧和轻绳连接起来,当剪断A绳的瞬间三个物体的加速度分别为________、________、________;剪断B绳的瞬间三个物体的加速度分别为________、________、________。(取向下为正方向)

试题详情

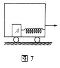
15.如图7所示,质量为10kg的物体A拴在一个被水平拉伸的弹簧一端,弹簧的拉力为5N时,物体A 处于静止状态,若小车以1m/s2的加速度向右运动后(m/s2),则(   )

A.物体A相对小车仍然静止

B.物体A受到的摩擦力减小

C.物体A受到的摩擦力大小不变

D.物体A受到的弹簧拉力增大

]第Ⅱ卷(非选择题 共60分)

试题详情

14. 如图所示,质量分别为mA、mB的A、B两物块用轻线连接放在倾角为θ的斜面上,用始终平行于斜面向上的拉力F拉A,使它们沿斜面匀加速上升,A、B与斜面的动摩擦因数均为μ,为了增加轻线上的张力,可行的办法是(   )

A.   减小A物的质量     B. 增大B物的质量

C. 增大倾角θ       D. 增大动摩擦因数μ

试题详情

13、弹簧秤挂在升降机顶板上,下端挂一质量2kg的物体,当升降机在竖直方向运动时,弹簧秤的示数始终是12N,如果从升降机的速度为3m/s时开始计时,则经过1s升降机的位移可能是(g=10m/s2)(   )

A、1m   B、3m   C、4m   D、5m

试题详情


同步练习册答案