0  157197  157205  157211  157215  157221  157223  157227  157233  157235  157241  157247  157251  157253  157257  157263  157265  157271  157275  157277  157281  157283  157287  157289  157291  157292  157293  157295  157296  157297  157299  157301  157305  157307  157311  157313  157317  157323  157325  157331  157335  157337  157341  157347  157353  157355  157361  157365  157367  157373  157377  157383  157391  447090 

4.某人造地球卫星因受高空稀薄气体的阻力作用,绕地球运转的轨道会慢慢改变。每次测量中卫星的运动可以近似看作圆周运动。某次测量卫星的轨道半径为,后来变为<。以表示卫星在这两个轨道上的动能, 表示卫星在这两个轨上绕地球运动的周期,则

A.,

B.,

C.,

D.,

试题详情

3.一列简谐横波以1 m/s的速度沿绳子由A向B传播,质点A、B间的水平距离 3 m,如图甲所示。若t=0时刻,质点A正从平衡位置向上振动;其振动图象如图乙所示,都规定向上为正方向.则质点B的振动图象为下图中的

试题详情

2.下列与能量有关的说法正确的是

  A.比结合能越小,表示原子核中核子结合得越牢固,原子核越稳定

  B.根据玻尔理论,原子从高能态向低能态跃迁时放出的光子的能量等于前后两个能级之差

  C.做平抛运动的物体在任意相等时间内动能的增量相同

  D.在静电场中,电场线越密的地方正电荷的电势能一定越高

试题详情

1.下列叙述中符合物理学史实的是

A.伽利略通过理想斜面实验,得出力是维持物体运动原因的结论

B.贝可勒尔通过对天然放射性的研究,发现原子核是由质子和中子组成的 

C.卢瑟福预言了中子的存在,查德威克通过原子核人工转交的实验发现了中子

D.牛顿通过实验求出了万有引力恒量,验证了万有引力定律

试题详情

25.(20分)如图所示,在直角坐标系的第Ⅳ象限中存在竖直向上大小为E=20N/C的匀强电场和垂直纸面向里大小为B=0.5T的匀强磁场,两场正交的剖面区域为边长L=5m的正方形ABCD。现有两个可看作质点的小球从区域的A、D两点水平射入场区,已知A点入射小球l带正电,带电量为q=1.6×10-3C、质量m=3.2×10-3kg,速度是;D点入射小球2不带电,速度为。重力加速度取10m/s2。求:(结果可用根式表示)

  (1)当时.请计算相关数据,并根据所得数据在正方形ABCD内画出两个球运动的轨迹,并求出轨迹交点的坐标;

  (2)保持的速度不变,则速度满足什么条件时两小球的运动轨迹一定不存在交点,并说明理由。

试题详情

23.(16分)如图所示,两个质量分别为2m和m的小球(均可看作质点)用长为的不可伸长的轻线相连。将轻线水平拉直,并让两小球由静止开始同时自由下落。下落h高度时,线的中点碰到插在O点的水平钉子上后瞬间粘在钉子上,然后两小球均以O为圆心,为半径做圆周运动,撞钉过程能量损失不计且不考虑两球相碰后的运动过程。如果细线能承受的最大拉力为8mg,要使线在最低点被拉断,高度h不超过多少?

20090427
 
24.(19分)如图所示,在倾角为的光滑斜面上,存在着两个相邻的磁感应强度大小相等的匀强磁场区域,其中区域内磁场方向垂直斜面向下,区域内磁场方向垂直斜面向上,宽度均为L;一个质量为m、边长为L的正方形线框以速度刚进入上边磁场时恰好作匀速直线运动,当ab边到的中间位置时,线框又恰好作匀速直线运动。求:

  (1)线框ab边到达gg’和中间位置时的速度为多少?

  (2)线框从开始进入上边的磁场至ab边到达gg’和中间位置的过程中产生的热量为多少?

试题详情

22.(17分)

   I:(8分)如图是某同学用打点计时器打出的一条纸带,图上注明了他对各计数点间距离 的测量结果,相邻两计数点间有4个点未画出。交流电的频率为50Hz,打下计数点C时纸带的瞬时速度为    m/s。纸带的加速度为     m/s2。(充分利用已知数据,尽量减小误差,结果保留三位有效数字)

   II:(9分)现有一种特殊的电池,它的电动势E约为10V,内阻r约为50Ω,已知该电池允许输出的最大电流为50mA,为了测定这个电池的电动势和内阻,某同学利用如图(a)所示的电路进行实验,图中电压表的内阻很大,对电路的影响可不考虑,R为电阻箱,阻值范围为0~9999Ω,R0是定值电阻,起保护电路的作用。

  (1)实验室备有的定值电阻R0有以下几种规格:

       A.10Ω  2.5W                  B.100Ω  1.0W

       C.200Ω  1.0W                 D.2000Ω  5.0W

     本实验应选哪一种规格?答      。(填表示选项的字母)

  (2)该同学接人符合要求的R0后,闭合开关S,调整电阻箱的阻值,读取电压表的示数,改变电阻箱阻值,取得多组数据,作出了如图(b)所示的图线。则根据该同学所作出的图线可求得该电池的电动势E为      v,内阻r为     。(保留两位有效数字)

试题详情

21.如图所示,足够长的斜面体C质量为M,始终静止在水平面上,一质量为m的正方形木板A,上表面光滑,木板A获得初速度v0后恰好能沿着斜面匀速下滑。当木板A匀速下滑时,将一质量也为m的滑块B轻轻地放在木板A上表面(题中未画出,设B初速度为0),关于滑块B在木板A上滑动的过程中,下列说法正确的是 (   )

    A.滑块B的动量为时,木块A和滑块B的速度大小相等

    B.滑块B的动量为时,斜面对水平面压力大小为(M+2m)g

    C.滑块B的动量为时,木板A的动量为0

    D.滑块B的动量为时,水平面对斜面体的摩擦力向右

非选择题

试题详情

20.光滑绝缘水平面上,一点电荷固定在P点,有一个质量为m的带负电的试探电荷以初速度v0由A点向P点运动,至B点时速度刚好为零,C是AB的中点。则下列说法正确的是                       (   )

    A.试探电荷的加速度越来越小

    B.A、B、C三点电势的关系为

    C.AC间与CB间电势差相等

    D.试探电荷由A至B的过程中电势能增加了

试题详情

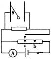
19.竖直放置的一对固定的平行金属板并联在阻值为R的电阻两端,金属板的左极板上用绝缘线悬挂了一个带正电的小球,将平行金属板按图所示的电路图连接,电源和电流表的内阻均不计。已知滑动变阻器最大值为R,a、b两点将滑动变阻器阻值三等分。当滑动变阻器的滑片在a位置时,小球处于静止状态,电流表的读数为I1,绝缘线与左极板的夹角为θ1;当滑片在b位置时,小球再次达到静止状态,电流表的读数为I2,绝缘线与左极板的夹角为θ2。则下列选项正确的是(   )

    A.θ12I1< I2                   B.θ12、I1> I2

    C.θ12I1= I2                   D.θ12、I1=I2

试题详情


同步练习册答案