0  194006  194014  194020  194024  194030  194032  194036  194042  194044  194050  194056  194060  194062  194066  194072  194074  194080  194084  194086  194090  194092  194096  194098  194100  194101  194102  194104  194105  194106  194108  194110  194114  194116  194120  194122  194126  194132  194134  194140  194144  194146  194150  194156  194162  194164  194170  194174  194176  194182  194186  194192  194200  447090 

2、汽油机飞轮转速是3600r/min,在1s内汽油机内能转化为机械能的次数及完成的冲程数为(  )

  A、15次,60个冲程     B、18次,120个冲程

  C、30次,120个冲程     D、900次,30个冲程

试题详情

1、关于燃料的热值,以下说法正确的是(   )

A、 燃料的热值与燃料的燃烧情况无关

B、 容易燃烧的燃料,热值一定大

C、 煤的热值大于干木柴的热值,燃烧煤放出的热量比燃烧干木柴放出的热量一定多

D、为了提高锅炉的效率,一定要用热值高的燃料

试题详情

10、解:(1)因为灯泡与滑动变阻器串联接在电路,有因为电源电压为3V,所以当滑动变阻器两端的电压为0.5V时,小灯泡两端的电压为额定电压,根据此时电流表的示数,可求得小灯泡的额定功率。

(2)U=3V-2.5V=0.5V

(3)R=U0/I=2.5V÷0.25A=10Ω

(4) P=U0I=2.5V×0.25A=0.625W

试题详情

9、解:(1)当S1、S2都闭合且滑片P置于滑动变阻器的右端时,流过R0的电流

流过滑动变阻器的电流I=2.22 A-1.85 A=0.37A

滑动变阻器的最大电阻值:

(2)当S1、S2都断开且滑片P置于滑动变阻器的中点时,变阻器与灯泡串联

电路中总电阻:

灯泡的电阻:

灯泡的额定功率:

试题详情

1、1.8  0.2  2、40  1210  1/11  10  3、C  4、D  5、(1)3  (2)0-15V  (3)滑动变阻器  3.8  (4)D  6、(1)略  (2)24Ω  7、(1)0.9W  10Ω  (2)略  (3)当RR0相等时功率最大  8、(1)电源电压小于3.8V  (2)“3.8V”小灯泡

试题详情

1、PUI  2、电流表  电压表  滑动变阻器  电流表  滑动变阻器  电压表  3、断开  电阻最大  4、①甲为电流表   乙、丙分别为灯和电压表②右  左  5、D  6、C  7、C  8、C  9、“6V  0.5A”的灯泡更亮  10①略 ②略 ③0.36  2.268  ④1.35 

拓展练习

试题详情

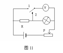
10、如图11所示,方芳在做测定额定电压为2.5V小灯泡额定功率的实验中误将电压表并联在滑动变阻器两端,正要改动时,马强看见电源为两节干电池串联时,忙说不必,这样也可求出小灯泡的额定功率,方芳不明白,你能告诉她如何测吗?电压表的示数为多大时小灯泡正常发光?如果小灯泡正常发光时,电流表的示数为0.25A,则小灯泡正常发光时的电阻多大,其额定功率多大?

巩固练习

试题详情

9、如图10所示,电源电压为18.5V,定值电阻R0=10Ω,当S1、S2都闭合且滑片P置于滑动变阻器的右端时,电流表的读数是2.22A,当S1、S2都断开且滑片P置于滑动变阻器的中点时,电流表读数为0.5A,灯泡正常发光.求:

 (1)滑动变阻器的最大电阻值.

  (2)灯泡的额定功率及其电阻值.

试题详情

8、为了比较标有“2.5V”和“3.8V”小灯泡的额定功率大小,小明利用实验室器材进行了如下实验:

   (1)先连接电路(如图图8所示),测定“2.5V”小灯泡的电功率,并记录结果如表一。然后小明从电路中取下 “2.5V”小灯泡,换上“3.8V”小灯泡,并改用电压表 “0-15V”量程进行实验。闭合开关后,调节滑动变阻器,他发现电压表示数始终无法达到3.8V。其原因是:_____________________。

   (2)补充实验条件后,小明继续实验并记录结果如表二。比较表一和表二数据,可知正常发光时,哪只灯泡的电功率大? ____________________________。

 

试题详情

7、小丽借助定值电阻R0探究滑动变阻器串联时电功率变化规律,设计了如图7所示的电路图,其中电源电压为6V且保持不变,她调节滑片P分别位于a、b、c、d、e五点时,电压表和电流表的示数及电功率的如下表;

滑片P的位置
a
b
c
d
e
电压/V
1
2
3
4
5
电流/A
0.5
0.4
0.3
0.2
0.1
电功率/W
 
 
 
 
 

①变阻器的最大功率是_______,电阻R0的阻值为_______。

②根据记录求出滑动变阻器在各点的电阻和电功率,并以电阻为横坐标,电功率为纵坐标,作出电功率与滑动变阻器阻值之间的关系图像。

③分析图象可得出结论是什么?

试题详情


同步练习册答案