0  196984  196992  196998  197002  197008  197010  197014  197020  197022  197028  197034  197038  197040  197044  197050  197052  197058  197062  197064  197068  197070  197074  197076  197078  197079  197080  197082  197083  197084  197086  197088  197092  197094  197098  197100  197104  197110  197112  197118  197122  197124  197128  197134  197140  197142  197148  197152  197154  197160  197164  197170  197178  447090 

3. 使用定滑轮不省功。

试题详情

2. 不省力 , 可以改变力的方向。

试题详情

1. 滑轮的位置固定不变。

试题详情

3.情感、态度与价值观:

  体验科学探究的乐趣 , 学习科学的探究方法 , 从而领悟科学的思想和精神 , 培养抽象思维和论证问题的能力。通过对实验数据的收集 , 培养严肃认真的操作态度及科学分析实验数据的能力。

[ 教学重点 ]

  定滑轮、动滑轮的作用。

[ 教学方法 ]

  采用实验探究、讨论归纳的方法。

[ 教学过程 ]

 
教师活动设计
学生活动设计
一、复习提问
  1.杠杆有哪三种?各有什么特点?举例说明。
  2.剪铁用的剪刀和镊子是省力杠杆还是费力杠杆?
  学生回答。
 
  教师出示实物并进行演示,并画出这两个杠杆的示意图。要求学生正确画出它们的力臂,讲清道理,说明结论。
  剪铁用剪刀和镊子两杠杆示意图如图所示。

 
  画出力臂。
二、新课引入
  教师先举一个滑轮的实例,再要求学生举滑轮的例子,根据使用时滑轮的不同情况进行分类(即按定滑轮和动滑轮分类)。
  学生举例。
  提问它们的特点是什么,由此给出定义:滑轮是一个周边有槽、并可以绕轴转动的轮子。
  教师给出滑轮的分类。
  滑轮有两种:定滑轮和动滑轮。使用时滑轮的位置固定不变的叫做定滑轮,使用时滑轮的位置跟被拉动的物体一起运动的叫做动滑轮。
 
  讨论特点。
  再举些滑轮实例,可连接录像。
  学生观看录像。
1 .定滑轮
  观察定滑轮。定滑轮工作时,它的轴固定不动。
 举例:如旗杆顶部的装置为定滑轮。
 (2) 提问:使用定滑轮有什么特点?
 观察定滑轮工作的状态,轴是固定不动的。
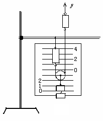
 演示实验:
 ① 称量钩码的重力;
 ② 演示如图所示的实验,匀速拉动弹簧测力计,物体上升,拉力的方向改变,但弹簧测力计的示数不变,特点是 G F 。使用定滑轮吊起物体时,可以改变力的作用方向,达到操作方便的目的。

 观察实验:
 学生通过教师的演示得出使用定滑轮可以改变力的作用方向,定滑轮不能省力。
 提问:使用定滑轮不能省力,那么能否省距离?能否省功?
 学生思考
 按照下图进行演示。使学生清楚地看到:“动力作用点移动的距离 s 与物体上升高度 h 相等,使用定滑轮不能省力,也不能省距离。” 由此得出使用定滑轮不能省功。

 观察实验,得出结论:
 ① 动力作用点移动的距离 s 与物体上升高度 h 相等,使用定滑轮不能省力,也不能省距离。
 ② 由 W Fs得出 W 与提升物体所需的功Gh相等,使用定滑轮不能省功。
2 .动滑轮
  (1) 教师边讲边演示动滑轮提升重物。
  要求学生讨论分析,此时提起重物使用的滑轮与刚才演示实验使用的定滑轮有何不同点?
  教师在学生讨论后小结:动滑轮工作时,轴和重物一起移动。另外用力方向也不同,用定滑轮时拉力方向是向下的,使用动滑轮提升重物时拉力的方向是向上的。
 
  (2) 提问:使用动滑轮有什么好处?动滑轮中绳的拉力和做功情况怎样?
 学生讨论。
 (3) 组织学生实验,按课本实验探究,参照下图进行实验。
 由于研究定滑轮时教师已演示过实验,学生可以自己设计出实验步骤。
 说明:重物用 2 个钩码表示,有利于分析数据。用弹簧秤测出钩码重。读取弹簧秤的示数时,跨过动滑轮的两条绳要竖直、平行。

 学生实验,教师巡回指导。
  实验:两人一组,自行设计实验步骤及表格记录数据。
 按左图所示进行实验。
 观测弹簧测力计的示数F1 F2 及钩码升高的高度 H 和手拉弹簧测力计拉起的高度s
 学生实验完毕后,教师请几组学生分别将自己的一组数据填到教材中的表格中,分析学生数据。
 (4) 总结:
 使用动滑轮提升钩码,弹簧秤的示数约是钩码重的二分之一。
 两根绳子吊着重物和滑轮,这两根绳子的力之和约等于钩码的重力,符合平衡力的原理。
 动力作用点移动的距离s是物体上升高度 H 的 2 倍。
 使用动滑轮不能省功。
 说明:在提升钩码的过程中也把动滑轮提升起来了,当钩码重远大于动滑轮重时,动滑轮才可忽略不计,从而得出使用动滑轮可以省一半力的结论。
 
 通过数据分析得出:
 ⑴ 使用动滑轮提升钩码,弹簧秤的示数约是钩码重的二分之一。
 ⑵ 动力作用点移动的距离s是物体上升高度 H 的 2 倍。而使用动滑轮虽不能改变力的方向,但可以省一半力。使用动滑轮不能省功。
三、课堂小结
  认识定滑轮、动滑轮。

[ 实践活动 ]

 建议:“发展空间”中的“我的设计”。

[ 板书 ]

第三节 滑轮

试题详情

2.过程与方法:

  由问题的提出、猜测、经过实验探究 , 使学生亲身经历物理问题的研究过程。

试题详情

授课地点:  物理实验室

授课时间:  1课时

[仪器材料]  定滑轮、绳子、钩码、弹簧测力计

分组实验器具: 动滑轮、绳子、钩码、弹簧测力计、铁架台、刻度板

[ 教学目标 ]

1.知识与技能:

  使学生借助已有知识:理解滑轮的原理 , 知道滑轮的作用。

试题详情

1. 通过探究,你能理解阿基米德的名言吗? 请就此写一篇短文。   2. 用杠杆知识分析、理解天平的原理和调整过程。

[ 板书 ]

  杠杆平衡的条件:

  动力×动力臂 = 阻力×阻力臂

  F1L1F2L2

试题详情

3.情感、态度与价值观: 体验科学探究的乐趣,了解杠杆在生活中的应用。

[ 教学重难点 ]

  探究杠杆平衡条件。

[ 教学方法 ]

  实验探究法。

[ 教学过程 ]

 
教师活动设计
学生活动设计
一、 杠杆的原理
 出示杆秤,对杆秤进行分析,画出支点、动力、阻力、动力臂、阻力臂。
 使用杆秤称水果,要求称不等量的水果,请一位学生上来演示。
 学生称不等量的水果。
 置疑:
 你为什么要这样称 ?
 因为要使杠杆达到平衡,如果杆秤不平衡了,就无法称出水果的多少,且要根据水果的多少来移动秤砣或更换秤钮。
 对,我们要使杠杆达到平衡。
 杠杆的平衡与哪些因素有关,有什么样的关系 ?
 与动力、阻力、动力臂、阻力臂有关。
 与水果及秤砣重量,还有他们与杠杆提手之间的距离有关。
二、实验探究
 通过实验探究,得到确定的关系。
 探究杠杆的平衡条件。
 每2人一组实验,要求讨论如何设计这个实验。
 讨论实验步骤。
步骤如下:
  (1) 将杠杆挂在铁架台上,观察是否在水平位置平衡 ( 静止 ) ;若不是,可调节平衡螺母,使之水平平衡。
  此处可提问:为什么要使杠杆在水平位置平衡?若学生回答不出,可要求课后思考。  
  (2) 在杠杆支点的左边挂一定量的钩码,在支点右边也挂上钩码,直至杠杆平衡为止。
  (3) 重复多做几次平衡实验,得到不同数据。
  (4) 将数据记录下来,分析得出结论。
 记录的是杠杆上的格数,如果不在水平位置平衡,那么臂长就不等于格数×格长了。
  开始实验,完成探究任务。    老师在学生探究过程中进行巡视,发现问题及时提出,让学生自己去分析、解决问题。
 完成实验后,任意选择五组,请组中作记录的学生将结果投影到屏幕上。  将五组中的实验数据任意各取一组填入表格中,讨论可得到什么结论 ( 杠杆平衡的条件 ) 。
 教师可提出各种猜想,加减乘除关系都可。
 可能有学生得到其他关系式,但不适合所有数据,因此它不是杠杆平衡条件。
 
 学生分组认真探究,将结果填入自己设计好的表格中,同时对得到的结论进行分析、讨论。
 对公式进行变形可以得到比例式 ,它的含义是:如果动力臂是阻力臂的几倍,那么动力就是阻力的几分之一。
 
 学生:动力×动力臂 = 阻力×阻力臂。
[课堂练习] 
 1.画出下图中 FF的力臂,并比较杠杆平衡时 F' F的大小.

 2.下图所示杠杆,OA 长20cm,AB 长60cm,现在 A 处挂一重200N的物体,若使 B 处的弹簧秤示数最小,弹簧秤的方向怎样?弹簧秤的示数是多少?

  练习,理解。
三、杠杆的分类
  由杠杆的平衡关系,可以得到当力不等时,对应的力臂也不等。可将杠杆分为三类:
杠杆类型
省力杠杆
费力杠杆
等臂杠杆
力臂的大小关系
L1> L2
L1< L2
L1 = L2
力的大小关系
F1 < F2
F1 > F2
F1 = F2
力的作用点移动距离的大小关系
s1 > s 2 费距离
s1 < s 2 省距离
s1 = s2

  跟随教师分析出三种类型的杠杆。
 
  分析中提出相关问题:省力、费力是谁相对谁而言?省距离、费距离的含义是什么?
  举例分析:从撬棒撬石头分析费距离的含义。
  所谓省距离或费距离指的是动力作用点移动距离s1 ,相对于阻力作用点移动距离s2 而言的。杠杆平衡条件说明,当动力臂大于阻力臂时,动力小于阻力是省力杠杆。如图所示,当动力作用点移动 s1 距离时,阻力作用点移动s2 距离,且s1 >s2 ,因此使用撬棒撬石头省力而费距离。

 
 思考,回答。
  要求学生举例,并进行分类。
  举例,分类。
四、课堂小结
  杠杆的平衡条件 F1L1F2L2
 杠杆的分类:省力杠杆、费力杠杆、等臂杠杆。

[ 实践活动 ]

试题详情

2.过程与方法: 经历“探究杠杆平衡条件”的过程。

试题详情

授课地点:  物理实验室

授课教师: 

授课时间:  1课时

[仪器材料]  杆秤

分组实验器材: 铁架台、杠杆、钩码等

[ 教学目标 ]

1.知识与技能:

  (1) 知道杠杆平衡的条件;

  (2) 能根据实际需要正确选择和使用杠杆。

试题详情


同步练习册答案