0  262201  262209  262215  262219  262225  262227  262231  262237  262239  262245  262251  262255  262257  262261  262267  262269  262275  262279  262281  262285  262287  262291  262293  262295  262296  262297  262299  262300  262301  262303  262305  262309  262311  262315  262317  262321  262327  262329  262335  262339  262341  262345  262351  262357  262359  262365  262369  262371  262377  262381  262387  262395  447090 

4、将澳大利亚三大地形区逆时针旋转90°,与下列哪个国家地形最为相似(  )

A、加拿大   B、美国   C、中国   D、印度

试题详情

3、在地图上所画地区的范围愈小,要表示的内容愈详细,选用的比例尺应(  )

  A、越大   B、越小   C、中等   D、最小

试题详情

2.下列各点中位于东半球的是(   )

A、162°E  30°E  B、170°E  50°S

C、15°W  70°N  D、100°W  0°S

试题详情

1、地球的赤道半径比极半径(  )

  A、长   B、短   C、相等   D、长一倍

试题详情

3、请考生将各科选择题答案填在答题表内,考试结束,只交答题表。

单项选择题:  共60小题,每小题2分,共120分。在每小题列出的四个选项中,只有一项是最符合题目要求的。

试题详情

2、考试时间80分钟;

试题详情

1.在学校举行的物理创新大赛上,小明和小红所在的科技小组分别设计了一种测量托盘所受压力的压力测量仪,如图甲、乙所示。两装置中所用的器材与规格完全相同,压力表是由电压表改装而成,R1为定值电阻,阻值为10Ω,R2为滑动变阻器,规格为“10Ω  lA"。金属指针OP可在金属杆AB上滑动,且与它接触良好,金属指针和金属杆电阻忽略不计。M为弹簧,在弹性限度内它缩短的长度与其所受的压力大小成正比。当托盘所受压力为零时,P恰好位于R2的最上端;当托盘所受压力为50N时,P恰好位于R2的最下端,此时弹簧的形变仍在弹性限度内。

(1)甲装置中,当P位于R2的最下端时,电压表的示数为3V,则电源电压是多少?

(2)甲装置中,压力25N的刻度位置标在电压表表盘多少伏的刻度线上?

(3)在甲、乙两种装置中,两压力表的刻度特点有何不同?试说明理由。

河源中学实验学校2009-2010第二学期

试题详情

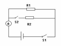
3.如图所示电路,电阻R1=10Ω,若断开S2、闭合S1,电流表的示数I1=0.3A;若闭合S1、S2,电流表的示数I2=0.5A。求

(1)电源两端的电压;

(2)电阻R2的阻值;

(3)电阻R2通电1min产生的热量。

七 综合题目 (每题3分,共9分)

试题详情

1(6分)如图l4所示,小明在跑步机上锻炼身体.设他在跑步机上以5m/s的速度匀速跑动30min,跑动的总动力为40N.

求:(1)他在这段时间内相当于跑了多少路程?

(2)他在这段时间内做了多少功?

(3)他做功的功率是多少?

2.(6分)如图19所示,电源电压恒定,滑动变阻器R1的最大阻值是20Ώ,闭合s后,当滑动变阻器的滑片P移到中点位置时,电流表Al的示数为0.3A,电流表A的示数为0.5A求:

(1)电源电压;

(2)电阻R2的值;

(3)滑动变阻器工作时消耗的最小功率.

试题详情

1.图8卡通画中,电路一只接通,哪只鸟有触电危险?哪只鸟相对安全?请分别说明理由。

试题详情


同步练习册答案