0  292428  292436  292442  292446  292452  292454  292458  292464  292466  292472  292478  292482  292484  292488  292494  292496  292502  292506  292508  292512  292514  292518  292520  292522  292523  292524  292526  292527  292528  292530  292532  292536  292538  292542  292544  292548  292554  292556  292562  292566  292568  292572  292578  292584  292586  292592  292596  292598  292604  292608  292614  292622  447090 

5、有关下图的表述合理的是( )

A.此地区可以大面积种植水稻   

B.此地区适宜大规模机械化作业

C.此地区发展耕作业只能修筑梯田  

D.此地区只适宜发展林、牧、副业

试题详情

4、一年中,泰山观日出时刻最早的方位是( )

A.④   B.③    C.②    D.①

试题详情

3.作为一种清洁能源,风能的开发越来越受到人们的关注。读陆地与海上风速剖面比较图(下图),回答

据图判断,为了有效利用风能发电,应使安装发电装置的风塔高度

A. 海洋上高于陆地       B. 陆地上高于海洋

C. 海洋上和陆地上相同     D. 据图无法判断

泰山日出是旭日东升的壮观景象,读图回答。

试题详情

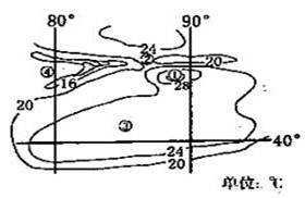
2.下图为某地区七月等温线分布图,若在该地区①②③④四处中选择一处建设大型风力发电站,位置最佳的是     

A.①       B.②       C.③      D.④

试题详情

读某地质剖面图回答

1.从地质构造和埋藏条件看,下列各处可能形成相应矿床的是

   A.①-天然气   B.②-煤炭   C.⑤-大理石   D.⑥-石油

试题详情

053.08年3月临沂市教学质量检查考试(一)15.[物理3--4](8分)如图所示,半球形玻璃砖的平面部分水平,底部中点有一小电珠.利用游标卡尺(或直尺)测量出有关数据后,可计算玻璃的折射率.试完成以下实验步骤:

①若S发光,则在玻璃砖平面上方看到平面中有一圆形亮斑.用游标卡尺测出          (写出对应字母和其表示的意义)

②推导出玻璃折射率的表达式(用上述测量的物理量的字母表示).

解:(8分)解①圆形亮斑的直径d1(或算出半径r1);半圆形玻璃砖的直径d2 (或算出其半径r2) (2分)

②由几何关系,   (2分)

由全反射知识, (2分)

解得或  (2分)

gk008.2008年高考理综重庆卷19、右图是一个圆柱体棱镜的截面图,图中EFGH将半径OM分成5等份,虚线EE1FF1GG1HH1平行于半径ONON边可吸收到达其上的所有光线.已知该棱镜的折射率,若平行光束垂直入射并覆盖OM,则光线  ( B )

  A.不能从圆弧NF1射出    B.只能从圆弧NG1射出

C.能从圆弧G1H1射出    D.能从圆弧H1M射出

试题详情

018.湖南省师大附中07-08学年第一次月考2.一个半径为R的玻璃半球,如图(1)所示,平放在水平桌面上,已知玻璃的折射率为,一束竖直光照射的半球的平面上与水平桌面上,结果在水平桌面上出现一个暗环,该暗环的面积为     ( C  )

     A.          B.

     C.   D.

试题详情

030.扬州市07-08学年度第一学期期末调研试卷13.(2)(6分)半径为R的半圆柱形玻璃,横截面如图所示,O为圆心,已知玻璃的折射率为,当光由玻璃射向空气时,发生全反射的临界角为45°.一束与MN平面成45°的平行光束射到玻璃的半圆柱面上,经玻璃折射后,有部分光能从MN平面上射出.求能从MN射出的光束的宽度为多少?

解:如下图所示,进入玻璃中的光线①垂直半球面,沿半径方向直达球心位置O,且入射角等于临界角,恰好在O点发生全反射.光线①左侧的光线(如:光线②)经球面折射后,射在MN上的入射角一定大于临界角,在MN上发生全反射,不能射出.

光线①右侧的光线经半球面折射后,射到MN面上的入射角均小于临界角,能从MN面上射出.

最右边射向半球的光线③与球面相切,入射角i=90°.

由折射定律知:

r=45°   ……3分

故光线③将垂直MN射出

所以在MN面上射出的光束宽度应是. ……3分

试题详情

050.江苏省盐城市07-08学年度第二次调研考试12-2.(2)在桌面上有一个倒立的玻璃圆锥,其顶点恰好与桌面接触,圆锥的轴(图中虚线)与桌面垂直,过轴线的截面为等边三角形,如图所示。有一半径为r=0.1m的圆柱形平行光束垂直入射到圆锥的桌面上,光束的中心轴与圆锥的轴重合。已知玻璃的折射率为n=1.73。则:

①通过计算说明光线1能不能在圆锥的侧面B点发生全反射?

②光线1经过圆锥侧面B点后射到桌面上某一点所用的总时间是多少?(结果保留三位有效数字)

解:①sinC=1/n (2分)

 (1分);(1分)

所以,光线1能在圆锥的侧面B点发生全反射。

②根据几何关系知(1分)

所以,总时间 (2分)

试题详情

066.珠海市2008年高考模拟考试14.(11分)如图所示,光线以30°入射角从玻璃中射到玻璃与空气的界面上,它的反射光线与折射光线的夹角为90°,求:

(1)这块玻璃的折射率;

(2)光在玻璃中的传播速度;

(2)没有光线从玻璃上表面折射出来的条件.

解:(1)由图知,入射角i=30°,折射角r=60°

                  (4分)

(2)光在玻璃中的速度为:v=c/n=3.0×108/1.732=1.73×108m/s  (3分)

(3)若要没有光线从玻璃中折射出来,即发生全反射,入射角i应满足:

                   (2分)

得:                    (2分)

试题详情


同步练习册答案