0  304039  304047  304053  304057  304063  304065  304069  304075  304077  304083  304089  304093  304095  304099  304105  304107  304113  304117  304119  304123  304125  304129  304131  304133  304134  304135  304137  304138  304139  304141  304143  304147  304149  304153  304155  304159  304165  304167  304173  304177  304179  304183  304189  304195  304197  304203  304207  304209  304215  304219  304225  304233  447090 

6. 从地面竖直上抛一个小球,设小球从地面上升到最高点所用的时间为;从最高点下落到地面所用的时间为。若考虑空气阻力作用,则

   A.      B.      C.    D. 无法判断

试题详情

5.下表是四种交通工具的速度改变情况,下列说法正确的是   

 
初始速度(m/s)
经过时间(s)
末速度(m/s)

2
3
11

0
3
6

0
20
6

0
100
20

   A.①的速度变化最大,加速度最大      B.②的速度变化最慢

   C.③的速度变化最快            D.④的末速度最大,但加速度最小

试题详情

4.如图所示,质量分别为m1m2m3的小物块ABC用两根相同的自然长度为、劲度系数为k的轻弹簧连接起来,在竖直向上的外力F的作用下静止,小物块ABC可视为质点,AC之间的距离是

A.             B.

C.             D.          

试题详情

3、用轻弹簧竖直悬挂质量为m的物体,静止时弹簧伸长量为L.现用该弹簧沿斜面方向拉住质量为2m的物体,系统静止时弹簧伸长量也为L.斜面倾角为300,如图所示.则物体所受摩擦力

A.等于零            B.大小为,方向沿斜面向下

C.大小为,方向沿斜面向上  D.大小为mg,方向沿斜面向上

试题详情

2、如图所示,质量为m的等边三棱柱静止在水平放置的斜面上。已知三棱柱与斜面之间的动摩擦因数为,斜面的倾角为,则斜面对三棱柱的支持力与摩擦力的大小分别为( )

A.mg和mg     B.mg和mg

C.mg和mg    D.mg和mg

试题详情

1、水平地面上有一木箱,木箱与地面之间的动摩擦因数为。现对木箱施加一拉力F,使木箱做匀速直线运动。设F的方向与水平面夹角为,如图,在从0逐渐增大到90°的过程中,木箱的速度保持不变,则  (   )

A.F先减小后增大      B.F一直增大

C.F的功率减小       D.F的功率不变

试题详情

1. D  2.C  3.A  4.C  5.B  6.C  7.D  8.C

试题详情

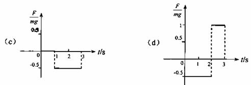
21.如图所示,在倾角为30°的足够长的光滑斜面上有一质量为的物体,它受到沿斜面方向的力F的作用。力F可按图(a)、(b)、(c)、(d)所示的四种方式随时间变化(图中纵坐标是Fmg的比值,为沿斜面向上为正)

  已知此物体在t=0时速度为零,若用分别表示上述四种受力情况下物体在3秒末的速率,则这四个速率中最大的是

A.               B.          C.         D.

试题详情

20.某人造卫星运动的轨道可近似看作是以地心为中心的圆.由于阻力作用,人造卫星到地心的距离从r1慢慢变到r2,用ElE2分别表示卫星在这两个轨道上的机械能,则

A . r1<r2E1<E2   B. r1>r2E1<E2   C. r1<r2E1> E2   D . r1>r2E1>E2

试题详情

19.滑块以速率v1靠惯性沿固定斜面由底端向上运动,当它回到出发点时速率为v2,且v2< v1,若滑块向上运动的位移中点为A取斜面底端重力势能为零,则(   )

    A.上升时机械能减小,下降时机械能增大。

  B.上升时动能减小,下降时动能也减小。

    C.上升过程中动能和势能相等的位置在A点上方。

  D.上升过程中动能和势能相等的位置在A点下方。

试题详情


同步练习册答案