0  312168  312176  312182  312186  312192  312194  312198  312204  312206  312212  312218  312222  312224  312228  312234  312236  312242  312246  312248  312252  312254  312258  312260  312262  312263  312264  312266  312267  312268  312270  312272  312276  312278  312282  312284  312288  312294  312296  312302  312306  312308  312312  312318  312324  312326  312332  312336  312338  312344  312348  312354  312362  447090 

16.(12分)(7、8、9、10班同学不做)如图11,放在斜面底端的物体A用细绳利用定滑轮与物体B相连,已知斜面的倾角A物体的质量m1=0.1 kg,B物体距地面高h=1 m,物体A与斜面间的动摩擦因数g取10 m/s2,忽略细绳与滑轮的质量及滑轮的摩擦,斜面足够长。若AB物体由静止释放,B物体经t1=0.5 s落到地面,落地后不动,求①B物体的质量m2;②1.5 s时A物体到斜面底端的距离S.

试题详情

15.(12分)火星被认为是除地球之外最有可能存在生命的星球. 火星的质量是地球质量的0.1倍,半径是地球半径的0.5倍,假设火星是均匀球体,试求火星探测器围绕火星表面做匀速圆周运动的周期. 已知地球半径为R,地球表面重力加速度为g.(不考虑火星大气阻力的影响)

试题详情

14.(12分)如图10所示,当汽车通过拱桥顶点的速度为10 m/s时,车对桥顶的压力为车重的3/4,如果要使汽车在粗糙的桥面行驶至桥顶时,恰好不受桥面的摩擦力作用,则汽车通过桥顶的速度应为多少?

图10
 
 

试题详情

13.(10分)如图9所示,射击枪水平放置,射击枪与目标靶中心位于离地面足够高的同一水平线上,枪口与目标靶之间的距离s=100 m,子弹射出的水平速度v=200 m/s,不计空气阻力,取重力加速度g为10 m/s2,求:

(1)从子弹由枪口射出开始计时,经多长时间子弹击中目标靶?

图9
 
(2)子弹击中目标靶的位置与靶中心的距离h为多少?

试题详情

12.(8分)如图7为“用DIS(位移传感器、数据采集器、计算机)研究加速度与力的关系”的实验装置.

图7
 
 

(1)在该实验中必须采用控制变量法,应保持_________不变,用钩码所受的重力作为_________,用DIS测小车的加速度.

(2)改变所挂钩码的数量,多次重复测量. 在某次实验中根据测得的

图8
 
多组数据可画出关系图线(如图8所示).

①分析此图线的OA段可得出的实验结论是___________________.

②(单选题)此图线的AB段明显偏离直线,造成此误差主要原因是(   )

A.小车与轨道之间存在摩擦              B.导轨保持了水平状态

C.所挂钩码的总质量太大               D.所用小车的质量太大

试题详情

11.(6分)在研究平抛物体运动的实验中,用一张印有小方格的纸记录轨迹,小方格的边长l=1.25 cm,若小球在平抛物体运动中的几个位置如图6中的abcd所示,则小球平抛的初速度是__________ m/s, (g取9.8 m/s2).

图6
 
 

试题详情

10.假设有一载人宇宙飞船在距地面高度为4200km的赤道上空绕地球做匀速圆周运动,地球半径约为6400km,地球同步卫星距地面高为36000km,宇宙飞船和地球同步卫星绕地球同向运动,每当二者相距最近时. 宇宙飞船就向同步卫星发射信号,然后再由同步卫星将信号发送到地面接收站,某时刻二者相距最远,从此刻开始,在一昼夜的时间内,接收站共接收到信号的次数为(   )

A.4次            B.6次             C.7次            D.8次

试题详情

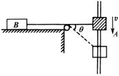
9.如图5所示,物体A以速度v沿杆匀速下滑,A用细绳通过定滑轮拉物体B,当绳与水平夹角为时,B的速度为:        (   )

A.vcos             B.vsin               C.v/cos                 D.v/sin

图5
 
 

试题详情

8.某人在地面上用弹簧秤称得其体重为490 N. 他将弹簧秤移至电梯内称其体重,t0t3时间段内,弹簧秤的示数如图4所示,电梯运行的图可能是(取电梯向上运动的方向为正)(   )

图4
 
 

试题详情

7.如图3所示,质量为m的等边三凌柱静止放置在斜面上. 已知三棱柱与斜面之间的动摩擦因数为,斜面的倾角为,则斜面对三棱柱的支持力与摩擦力的大小分别为(  )

    A.            B.

图3
 
C.            D.

试题详情


同步练习册答案