0  315294  315302  315308  315312  315318  315320  315324  315330  315332  315338  315344  315348  315350  315354  315360  315362  315368  315372  315374  315378  315380  315384  315386  315388  315389  315390  315392  315393  315394  315396  315398  315402  315404  315408  315410  315414  315420  315422  315428  315432  315434  315438  315444  315450  315452  315458  315462  315464  315470  315474  315480  315488  447090 

13.(10分)如图9所示,射击枪水平放置,射击枪与目标靶中心位于离地面足够高的同一水平线上,枪口与目标靶之间的距离s=100 m,子弹射出的水平速度v=200 m/s,不计空气阻力,取重力加速度g为10 m/s2,求:

(1)从子弹由枪口射出开始计时,经多长时间子弹击中目标靶?

图9
 
(2)子弹击中目标靶的位置与靶中心的距离h为多少?

试题详情

12.(8分)如图7为“用DIS(位移传感器、数据采集器、计算机)研究加速度与力的关系”的实验装置.

图7
 
 

(1)在该实验中必须采用控制变量法,应保持_________不变,用钩码所受的重力作为_________,用DIS测小车的加速度.

(2)改变所挂钩码的数量,多次重复测量. 在某次实验中根据测得的

图8
 
多组数据可画出关系图线(如图8所示).

①分析此图线的OA段可得出的实验结论是___________________.

②(单选题)此图线的AB段明显偏离直线,造成此误差主要原因是(   )

A.小车与轨道之间存在摩擦              B.导轨保持了水平状态

C.所挂钩码的总质量太大               D.所用小车的质量太大

试题详情

11.(6分)在研究平抛物体运动的实验中,用一张印有小方格的纸记录轨迹,小方格的边长l=1.25 cm,若小球在平抛物体运动中的几个位置如图6中的abcd所示,则小球平抛的初速度是__________ m/s, (g取9.8 m/s2).

图6
 
 

试题详情

10.假设有一载人宇宙飞船在距地面高度为4200km的赤道上空绕地球做匀速圆周运动,地球半径约为6400km,地球同步卫星距地面高为36000km,宇宙飞船和地球同步卫星绕地球同向运动,每当二者相距最近时. 宇宙飞船就向同步卫星发射信号,然后再由同步卫星将信号发送到地面接收站,某时刻二者相距最远,从此刻开始,在一昼夜的时间内,接收站共接收到信号的次数为(   )

A.4次            B.6次            C.7次            D.8次

试题详情

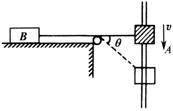
9.如图5所示,物体A以速度v沿杆匀速下滑,A用细绳通过定滑轮拉物体B,当绳与水平夹角为时,B的速度为:        (   )

A.vcos             B.vsin              C.v/cos                 D.v/sin

图5
 
 

试题详情

8.某人在地面上用弹簧秤称得其体重为490 N. 他将弹簧秤移至电梯内称其体重,t0t3时间段内,弹簧秤的示数如图4所示,电梯运行的图可能是(取电梯向上运动的方向为正)(   )

图4
 
 

试题详情

7.如图3所示,质量为m的等边三凌柱静止放置在斜面上. 已知三棱柱与斜面之间的动摩擦因数为,斜面的倾角为,则斜面对三棱柱的支持力与摩擦力的大小分别为(  )

    A.               B.

图3
 
C.            D.

试题详情

6.如图2所示,吊篮P悬挂在天花板上,与吊篮质量相等的物体Q被固定在吊篮中的轻弹簧托住,当悬挂吊篮的细绳烧断瞬间,吊篮P和物体Q的加速度大小是(   )

A.aP=aQ=g                          

B.aP=2gaQ=0

图2
 
C.aP=gaQ=2g                      

D.aP=2gaQ=g

试题详情

5.探测器绕月球作半径为r、周期为T的匀速圆周运动,月球的半径为R,则月球的平均密度为:                              (   )

A.     B.     C.       D.

试题详情

4..如图1所示,质量为m的小球在竖直平面内的光滑圆轨道上做圆周运动.圆半径为R,小球经过圆环最高点时刚好不脱离圆轨.则其通过最高点时  (    )

A.小球对圆环的压力大小等于mg

B.小球受到的向心力等于重力

C.小球的线速度大小等于

图1
 
D.小球的向心加速度大小等于g

试题详情


同步练习册答案