0  315726  315734  315740  315744  315750  315752  315756  315762  315764  315770  315776  315780  315782  315786  315792  315794  315800  315804  315806  315810  315812  315816  315818  315820  315821  315822  315824  315825  315826  315828  315830  315834  315836  315840  315842  315846  315852  315854  315860  315864  315866  315870  315876  315882  315884  315890  315894  315896  315902  315906  315912  315920  447090 

5.构建和谐型、节约型社会深得民心,遍布于生活的方方面面。

自动充电式电动车就是很好的一例。将电动车的前轮

装有发电机,发电机与蓄电池连接,当骑车者用力蹬

车或电动自行车自动滑行时,自行车就可以通过发电

机向蓄电池充电,将其他形式的能转化成电能储存起

来。现有某人骑车以500J的初动能在粗糙的水平路面

上滑行,第一次关闭自充电装置,让车自由滑行,其

动能随位移变化关系如图中的线①所示;第二次启动

自充电装置,其动能随位移变化关系如图线②所示,则第二次向蓄电池所充的电能是

   A.300J        B.250J        C.200J        D.500J

试题详情

4.如图所示,A、B为相同的两个灯泡,均发光,当变

阻器的滑片P向下端滑动时,则

   A.A灯变亮,B灯变暗           

   B.A灯变暗,B灯变亮

   C.A、B灯均变亮  

   D.A、B灯均变暗

试题详情

3.如图所示,圆形区域内有垂直纸面的匀强磁场,三个质量和电荷量都相同的带电粒子a、

  b、c,以不同的速率对准圆心O沿着AO方向射入磁场,其运动轨迹如图。若带电粒子只受磁场力的作用,则下列说法正确的是

  A.a粒子动能最大

  B.c粒子速率最大

  C.b粒子在磁场中运动时间最长

  D.它们做圆周运动的周期Ta<Tb<Tc

试题详情

2.下列说法正确的是 

    A.电荷放在电势高的地方,电势能就大

    B.无论正电荷还是负电荷,克服电场力做功它的电势能都增大

    C.正电荷在电场中某点的电势能,一定大于负电荷在该点具有的电势能

    D.电场强度为零的点,电势一定为零        

试题详情

1.下列陈述中不符合历史事实的是

   A.法拉第引入“场”的概念来研究电磁现象

   B.库仑通过研究电荷间的相互作用总结出库仑定律

   C.伽利略通过“理想实验”得出“力不是维持物体运动的原因”

   D.开普勒发现行星运动定律并给出了万有引力定律

试题详情

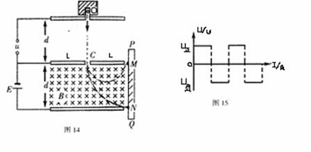
14.(16分)利用电场和磁场的共同作用可以控制带电粒子的运动轨迹和运动形式。在某个探究实验室中,设计了如图14所示的装置,上中下三块长度均为2L的金属电极板平行等距正对放置,已知L=5㎝,相邻两板间相距均为d=10cm,上面两金属板正中有小孔,紧贴上板小孔有一个带电粒子发生器,可从小孔O处不断输出带电粒子(初速度较小可忽略不计),粒子的比荷为 q/m=10-2c/kg 。在上面两板间加周期性变化的方波电压(周期很大,远大于粒子运动时间),如图15所示,在下面两板间接入直流电源,电动势一定,同时该区域有垂直向里的匀强磁场,磁感应强度为B=1.6×10-3T,整个装置处于真空中。若带电粒子离开O点后,沿直线向下穿过中板中间的小孔C后恰好能在该区做匀速圆周运动,下面两板的右端紧靠着竖直的接收屏PQ,由于上两板间方波电压的作用,带电粒子恰好可以控制在经过两极板边缘的两条圆弧之间,最后打在紧靠两板末端边缘上的屏上的M、N两点及其之间,重力加速度为g=10m/s2

(1)直流电源的电动势E=?

(2)带电粒子在C点的最大速度v和最小速度v分别是多少?

(3)若最上板电压为正时规定为正向电压,则方波电压坐标的正值U和负值U分别是多少?

15(16分).如图所示,两条“^”形足够长的光滑金属导轨PME和QNF平行放置,两导轨间距L=1m,导轨两侧均与水平面夹角a=37o,导体棒甲、乙分别放于MN两边导轨上,且与导轨垂直并接触良好,两导体棒的质量均为m=0.1kg,电阻也均为R=1Ω,导轨电阻不计,MN两边分别存在垂直导轨平面向上的匀强磁场,磁感应强度大小均为B=1T.设导体棒甲、乙只在MN两边各自的导轨上运动,

(sin37o =0.6,cos37o =0.8,g=10m/s2)

(1)将乙导体棒固定,甲导体棒由静止释放,问甲导体棒的最大速度为多少?

(2)若甲乙两导体棒同时由静止释放,问两导体棒的最大速度为多少

(3)若仅将乙导体棒的质量改为m'=0.05kg,电阻不变,在乙导体棒由静止释放的同时,让甲导体棒以初速度v0=0.8m/s 沿导轨向下运动,问在时间t=1s内电路中产生的电能为多少?

 

试题详情

13.(12分)2009年11月26日,我国海军171海口号、169武汉号导弹驱逐舰和微山湖号补给舰为履行国际义务,奉命赴亚丁湾索马里海域,开始对过往船只执行护航任务。某日清晨,海面上有薄雾,一艘某国的货轮正在匀速行驶,到达A处时,船长突然发现后侧面不远处,有海盗的快艇正在向他们靠近,并预计还有40min就会追上货船,于是立即向在C处海域执行任务的我国某驱逐舰发出求援信号,我官兵立即推算出40min后的货船位置应在D处,马上调好航向,沿CD直线方向从静止出发,恰好在40min内到达D处,如图12所示,驱逐舰运动的速度、时间图如图13所示,求:

(1)驱逐舰走的航线CD的长度。

 (2)假设该驱逐舰以最大速度航行时,轮机输出的总功率为2.5×103kW。则驱逐舰受海水的阻力有多大?

(3)假设舰体受海水的阻力不变,舰体质量为7000吨,则在第36分钟时,轮机通过涡轮对海水的推力为多大?方向如何?

      

试题详情

12.(10分)荡秋千是大家喜爱的一项体育运动。随着科技迅速发展,将来的某一天,同学们也会在其它星球上享受荡秋千的乐趣。假设你当时所在星球的质量是M、半径为R,可将人视为质点,秋千质量不计、摆长不变、摆角小于90°、不计阻力,万有引力常量为G。那么,

(1)该星球表面附近的重力加速度等于多少?

(2)若经过最低位置的速度为v0,你能上升的最大高度是多少?

试题详情

11.(16分)在“测定一节干电池电动势和内阻”的实验中:

(1)第一组同学利用如图a的实验装置测量,电压表应选择量程      (选填“3V”或“15V”),实验后得到了如图b的U-I图像,则电池内阻为     Ω。(电压表、电流表均为理想电表)。

(2)第二组同学也利用图a的连接测量另一节干电池,初始时滑片P在最右端,但由于滑动变阻器某处发生断路,合上电键后发现滑片P向左滑过一段距离x后电流表有读数,于是该组同学分别作出了电压表读数U与x、电流表读数I与x的关系图,如图c所示,则根据图像可知,电池的电动势为      V,内阻为       Ω。

 

试题详情

10.如图所示,质量为m的物体带正电Q在斜面上处于静止状态,物体与斜面均在匀强电场内,匀强电场E方向水平向右。当斜面的倾角θ逐渐增大(θ<90°),而该带电体仍静止在斜面上时,(   )

  A.物体所受合外力为零。

  B.物体所受静摩擦力的方向可能会改变180°。

  C.物体的重力势能逐渐增大,电势能逐渐减小。

  D.物体的重力势能逐渐增大,电势能逐渐增大。

第Ⅱ卷 ( 非选择题:共70分)

试题详情


同步练习册答案