0  31629  31637  31643  31647  31653  31655  31659  31665  31667  31673  31679  31683  31685  31689  31695  31697  31703  31707  31709  31713  31715  31719  31721  31723  31724  31725  31727  31728  31729  31731  31733  31737  31739  31743  31745  31749  31755  31757  31763  31767  31769  31773  31779  31785  31787  31793  31797  31799  31805  31809  31815  31823  447090 

7.下列人物,翻译过西方科学著作的是

A.黄宗羲    B.王夫之    C.徐光启    D.宋应星

试题详情

6.下列关于《梦溪笔谈》的叙述,正确的是

A.记载了许多古代科技成果      B.由明代人编写

C.作者是郭守敬                D.是记载“靖康之变”的史籍

试题详情

5.唐太宗时在蒙古高原一带最强大的少数民族是

A.鲜卑    B.突厥    C.回纥    D.吐蕃

试题详情

4.十六国时期,汉族在北方建立的政权是

A.南凉    B.北凉    C.前凉    D.后凉

试题详情

3.史书记载:“主父偃说上曰:‘愿陛下令诸侯得推恩分子弟以地,侯之。’于是上从其计。”文中“上”指:

A.汉高祖    B.汉文帝    C.汉景帝    D.汉武帝

试题详情

2.下列各项,属于人头税的是:

①算赋   ②口赋    ③调    ④租

A.①②    B.②③    C.①③    D.②④

试题详情

1.下列言论,属于韩非思想主张的是:

    A.制天命而用之                    B.刑过不避大臣,赏善不遣匹夫

C.选择天下之贤可者,立以为天子    D.百亩之田,勿夺其时,数口之家可以无饥矣

试题详情

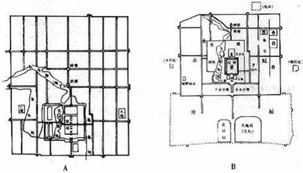
(2)元朝定都北京后,实行漕运。请回答其原因和具体措施。(8分)

 

 

 

 

 

 

2002年普通高等学校春季招生全国统一考试

试题详情

A                                     B

 

试题详情

40.(30分)

北京从一个古老的都城发展成为现代化的国际都市,2008年的奥运会也将在这里举行。请回答下列问题。

(1)               元、明两代都曾在北京建都,请指出A、B两图各是哪一朝代的城区图,并据图

说明影响都城选址的主要自然因素及其在都市中发挥的功能。(6分)

 

 

 

试题详情


同步练习册答案