0  330756  330764  330770  330774  330780  330782  330786  330792  330794  330800  330806  330810  330812  330816  330822  330824  330830  330834  330836  330840  330842  330846  330848  330850  330851  330852  330854  330855  330856  330858  330860  330864  330866  330870  330872  330876  330882  330884  330890  330894  330896  330900  330906  330912  330914  330920  330924  330926  330932  330936  330942  330950  447090 

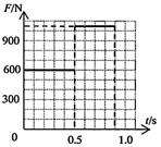
31.起跳摸高是学生常进行的一项活动,竖直起跳的时间和平均蹬地力的大小能够反映学生在起跳摸高中的素质.为了测定竖直起跳的时间和蹬地力的大小,老师在地面上安装了一个压力传感器,通过它可以在计算机上绘出平均压力与时间的关系图象.小刘同学身高1.72m,站立时举手达到2.14m,他弯曲两腿,做好起跳的准备,再用力蹬地竖直跳起,测得他对传感器的压力F与时间t的关系图象如图所示.已知图中网格间距相等,不计空气阻力,取g = 10m/s2.求小刘同学起跳摸高的最大高度约为多少?

答案

 小刘同学起跳摸高的最大高度约为2.59m

全 品中考网

试题详情

31.(12分)如图所示,在动摩擦因素μ=0.2的水平面AB上,水平恒力F推动质量为m=1kg的物体从A点由静止开始作匀加速直线运动,物体到达B点时撤去F,接着又冲上光滑斜面(设经过B点前后速度大小不变),最高能到达C点。用传感器测量物体的瞬时速度,并在表格中记录了部分测量数据。求:

t/s
0.0
0.2
0.4

2.2
2.4
2.6

v/m•s-1
0.0
0.4
0.8

3.0
2.0
1.0

(1)恒力F的大小;

(2)斜面的倾角

(3)若在A处撤去推力F,给物体一个水平向左的初速度v0,恰能使物体运动到C点,求此初速度v0的大小。

答案:(1)∴Fma1+mmg=4N     

(2))   ∴a=30°        

 (3)

  解得  v0=5.6m/s       

杨浦

*8.一辆汽车在水平公路上转弯,沿曲线由M向N行驶,速度逐渐减小.如图所示,分别画出汽车转弯时所受合力的四种方向,你认为正确的是:

答案:B

试题详情

13.如图所示,一斜面体静止在粗糙的水平地面上,一物体恰能在斜面体上沿斜面匀速下滑,可以证明此时斜面不受地面的摩擦力作用.若沿平行于斜面的方向用力向下推此物体,使物体加速下滑,斜面体依然和地面保持相对静止,则斜面体受地面的摩擦力  (     )

(A)大小为零  (B)方向水平向右

(C)方向水平向左 (D)大小和方向无法判断

答案:A

*18.天文学家如果观察到一个星球独自做圆周运动,那么就想到在这个星球附近存在着一个看不见的星体──黑洞。星球与黑洞由万有引力的作用组成双星,以两者连线上某点为圆心做匀速圆周运动,那么(     )

(A)它们做圆周运动的角速度与其质量成反比 

(B)它们做圆周运动的线速度与其质量成反比

(C)它们做圆周运动的半径与其质量成反比  

(D)它们所受的向心力与其质量成反比

答案:BC

试题详情

10.一物块以某一初速度沿粗糙的斜面向上沿直线滑行,到达最高点后自行向下滑动,不计空气阻力,设物块与斜面间的动摩擦因数处处相同,下列哪个图像能正确地表示物块在这一过程中的速率与时间的关系(     )

                                         

答案:C

试题详情

31.(12分)特战队员从悬停在空中离地235米高的直升机上沿绳下滑进行降落训练,某特战队员和他携带的武器质量共为80 kg,设特战队员用特制的手套轻握绳子时可获得200 N的摩擦阻力,紧握绳子时可获得1000 N的摩擦阻力,下滑过程中特战队员至少轻握绳子才能确保安全. g取10m/s2. 求:

(1)特战队员轻握绳子降落时的加速度是多大?

(2)如果要求特战队员着地时的速度不大于5m/s,则特战队员在空中下滑过

程中按怎样的方式运动所需时间最少,最少时间为多少?

答案:解:(1)  

(2)         

奉贤

试题详情

25.水平地面上有一质量为2kg的物体,物体在水平拉力

F的作用下由静止开始运动,10s后拉力大小减为F/3,

该物体的运动速度随时间变化的图像如图所示,则物

体受到的拉力F的大小为__________N;物体与地面

之间的动摩擦因数_________.

答案:8.4  ,  0.34

试题详情

14.压敏电阻的阻值随所受压力的增大而减小,有位同学利用压敏电阻设计了判断小车运动状态的装置,其工作原理如图(a)所示,将压敏电阻和一块挡板固定在绝缘小车s上,中间放置一个绝缘重球。小车向右做直线运动过程中,电流表示数如图(b)所示,下列判断正确的是…(   )

t
 
(A)从时间内,小车做匀速直线运动

(B)从时间内,小车做匀加速直线运动

(C)从时间内,小车做匀速直线运动

(D)从时间内,小车做匀加速直线运动

答案:D

试题详情

7.如图所示是一个玩具陀螺,abc是陀螺表面上的三个点. 当陀螺绕垂

直于地面的轴线以角速度稳定旋转时,下列表述正确的是……(   )

(A)abc三点的线速度大小相等

(B)ab两点的线速度始终相同

(C)ab两点的角速度比c的大

(D)ab两点的加速度比c点的大

答案:D

试题详情

14.在光滑水平面上有一个内外壁都光滑的质量为M的气缸,气缸内有一质量为m的活塞,已知Mm.活塞密封一部分理想气体.现对气缸施加一个水平向左的拉力F(如图甲)时,气缸的加速度为a1,封闭气体的压强为p1,体积为V1;若用同样大小的力F水平向左推活塞(如图乙),此时气缸的加速度为a2,封闭气体的压强为p2,体积为V2。设密封气体的质量和温度均不变,则

A.a1a2p1p2V1V2 

B.a1a2p1p2V1>V2

C.a1 = a2p1p2V1V2

D.a1 = a2p1p2V1V2 

答案:D

崇明

试题详情

10.一个在水平地面上做直线运动的物体,在水平方向只受摩擦力f的作用,当对这个物体施加一个水平向右的推力F作用时,下面叙述的四种情况不可能出现的是

A、物体向右做匀速直线运动

B、物体向左做匀速直线运动

C、物体的加速度方向向右

D、物体的加速度方向向左

答案:B

试题详情


同步练习册答案