0  334255  334263  334269  334273  334279  334281  334285  334291  334293  334299  334305  334309  334311  334315  334321  334323  334329  334333  334335  334339  334341  334345  334347  334349  334350  334351  334353  334354  334355  334357  334359  334363  334365  334369  334371  334375  334381  334383  334389  334393  334395  334399  334405  334411  334413  334419  334423  334425  334431  334435  334441  334449  447090 

23.如图14所示,小明同学往量杯里倒人80℃的热水,读得热水的体积为80ml,

  然后将一只煮熟的冷鸡蛋放入热水中,一段时间后,测得热水的温度为30℃

  (1)由资料查得,水的比热容是4.2×103J/(kg·℃),则此过程中鸡蛋吸收的

热量不会超过多少?

图14

  (2)请你说明热水放出的热量没有全部被鸡蛋吸收而损耗的原因.

试题详情

38.右图是教室里使用的某品牌饮水机的简化电路图。R是一个阻值为100欧的电阻,用来给瓶胆内的水加热。S2是一个温控开关,它能根据瓶胆内水的温度自动断开或闭合,从而使水温保持在85℃-95℃之间。

(1)教室里电路的电压是     

(2)早晨第一个走进教室的同学闭合开关S1,此时开关S2也处

于闭合状态。当温度上升到     ℃时,S2将自动断开。

(3)该饮水机在给水加热时,通过R的电流是多少?

(4)由于粗心16:00放学时,谁都没有去关饮水机,直到第二天7:00第一个同学进教室后才发现。这一个晚上浪费了多少电能?(假如开关S2在晚上有1/6的时间处于闭合状态)

试题详情

26.(7分)(1)(1分)

(2)  (1分)

(1分)

(3)(1分) 

(1分)

(1分)

发动机的效率η(1分)

试题详情

26.(7分)某型号小轿车油箱的容积是60升(dm3),所用的燃料是密度为0.71×103kg/m3的汽油。

(1)该车油箱最多能装多少kg的汽油?

(2)如果该车的总质量是1500kg,4个车轮的轮胎对地面的压强都是2×105Pa,求车的总重量是多少?车与地面接触的总面积是多少(g取10N/kg)?

(3)该车以20m/s的速度匀速行驶100km时消耗的燃料是5kg,如果汽油的热值是4.6×107J/kg,汽车发动机的输出功率是12kW,求有用功和发动机的热机效率分别是多少?

试题详情

30.我们来对物体浮沉现象进行探究把一截圆柱体蜡烛竖直放入水中,发现蜡

  烛漂浮在水面上(如图19所示).

  (1)若要使蜡烛处于悬浮状态,应该加入适量的食盐还是加入适量的酒精?

   请说明理由.

  (2)蜡烛漂浮在水中时,测得露出水面的体积为总体积的,求蜡烛的密度是

   多大

试题详情

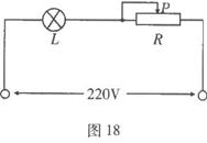
29.小王同学在实践活动中自制了一个可调节亮度的台灯,他设计的电路如图18所示.灯泡上标有"220V 40W'’,滑动变阻器R上标有"990Ω  5A'’设灯泡的电阻不随温度改变,电源电压保持220V不变求:

  (1)灯泡的电阻;

  (2)灯泡最亮时和最暗时,灯泡实际消耗的电功率;

  (3)灯泡最暗时,滑动变阻器每分钟产生的热量.

 

试题详情

4.2×lO-3J/(kg. ℃)]

试题详情

34、小玲利用家用煤气灶烧水,把质量为1kg、15℃的水烧开(在标准大气压下),烧水前后煤气表的示数分别如图12甲、乙所示.[C=4.2×103J/(kg·℃)]

 (1) 煤气的用量是多少立方米?如果煤气的密度为0.6kg/m3,烧水时需要消耗煤气多少千克?

(2)    此过程中水需要吸收多少热量?

试题详情

29.(5分)

(1)60.5欧(1分)    (2)6.72×105  J(2分)

(3)840 S (1分)

(4)661W(650W-670W均可)(1分)

试题详情


同步练习册答案