0  341163  341171  341177  341181  341187  341189  341193  341199  341201  341207  341213  341217  341219  341223  341229  341231  341237  341241  341243  341247  341249  341253  341255  341257  341258  341259  341261  341262  341263  341265  341267  341271  341273  341277  341279  341283  341289  341291  341297  341301  341303  341307  341313  341319  341321  341327  341331  341333  341339  341343  341349  341357  447090 

3.四人小组讨论寻求解决问题的方法。  (若有困难,可通过摆学具,比较容易找出相互之间的等量关系。)  4. 师根据课堂实际情况适当小结。  三、灵活运用数学思想方法解决问题

 谈话:老师这里有几个图形,它们分别是“○、△、□”。你能求出○、△、□所代表的数吗?

 (1)△+□=240            (2)○+□=91

 △=□+□+□                  △+□=63

 △=?                         △+○=46

 □=?                        ○=?△=?□=?  四、小结。  1、谈谈这节课的收获。  2、小调查:生活中哪些地方要用到今天所学知识来解决。

试题详情

2.情境出示:一只鹅的质量和两只鸭子的质量相等,一只鹅的质量和4只鸡的质量相等,问鸡和鸭谁的质量大?

试题详情

1.谈话:在游乐园,一个代币5元,玩一次“摩天大旋转”要12个代币,玩一次“摩天大旋转”要多少钱?    使学生明白:5元能买一个代币,一个代币需要5元,两者是等量的,可以互相代换。

试题详情

3、运用集合思想解决问题

试题详情

2、图示方法,加深理解

 (1)(课件出示)先是两个小组的集合圈,再把两个圈进行合并。  (2)让学生说一说图中不同位置所表示的不同意义。

 (4)全班交流,说说想法。

 (5)师根据课堂实际情况适当小结。

试题详情

1、创设情境,引入课题

 小动物在讨论在陆地上生活还是在水里生活好。一共来了10种动物,有6种动物可以在陆地上生活的,有6种动物可以在水里生活。这里面有几种动物既可以在陆地上生活也可以在水里生活? (适当给学生介绍“两栖动物”的常识,扩展学生知识面。)

 出示卡片:蚂蚱,章鱼,虾,青蛙,蜗牛,鲤鱼,兔子,乌龟,海鱼,瓢虫。

 (1)师:这些动物和昆虫,你知道它们都是生活在哪里吗?(它们有的生活在陆地上,有的生活在水里)你能把它们分类一下吗?

 (2)学生自己分析,教师找学生代表说出自己的分类方法。

 (3)全班一起分类。

 (4)发现问题:乌龟和青蛙有时生活在水里,有的生活在陆地上。

试题详情

16.(16分)如图所示,在距水平地面高为 0.4m处,水平固定一根长直光滑杆,杆上 P处固定一定滑轮,滑轮可绕水平轴无摩擦转动,在 P点的右边,杆上套一质量 m3kg的滑块 A.半径 R=0.3m的光滑半圆形竖直轨道固定在地面上,其圆心 O在 P点的正下方,在轨道上套有一质量 m=3.0kg的小球 B.用一条不可伸长的柔软细绳,通过定滑轮将 A、B连接起来.杆和半圆形轨道在同一竖直面内,滑块和小球均可看作质点,且不计滑轮大小的影响.现给滑块 A施加一个水平向右、大小为 F=60N的恒力,求:(1)把小球 B从地面沿半圆形轨道拉到顶点 C的过程中力 F做的功

  (2)小球 B运动到 C处时所受的向心力的大小;

  (3)小球 B被拉到离地多高时滑块 A与小球 B的速度大小相等?

 

试题详情

15.(14分)如图所示,某空间有一竖直向下的匀强电场,电场强度E=1.0×102V/m,一块足够大的接地金属板水平放置在匀强电场中,在金属板的正上方高度h=0.80m的a处有一粒子源,盒内粒子以v0=2.0×102m/s的初速度向水平面以下的各个方向均匀放出质量为m=2.0×10-15kg,电荷量为q=+10-12C的带电粒子,粒子最终落在金属板b上.若不计粒子重力,求:(结果保留两位有效数字)

(1)粒子源所在处a点的电势;

(2)带电粒子打在金属板上时的动能;

(3)粒子源射出的粒子打在金属板上的范围(所形成的面积);若使带电粒子打在金属板上的范围减小,可以通过改变哪些物理量来实现?

试题详情

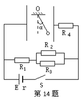
14.(14分)如图所示,一电荷量q=3×10-4C带正电的小球,用绝缘细线悬于竖直放置足够大的平行金属板中的O点.S合上后,小球静止时,细线与竖直方向的夹角α=37°.已知两板相距d=0.1m,电源电动势E=12V,内阻r=2Ω,电阻R1=4Ω,R2=R3= R4 =12Ω,(g=10m/s2).求:(1)流过电源的电流强度;

(2)两板间的电场强度的大小;

(3)小球的质量.

试题详情

13.(8分)某研究性学习小组为探究导电溶液的电阻在体积相同时,电阻值与长度的关系,选取一根乳胶管,里面灌满了盐水,两端用粗铜丝塞住管口,形成一段封闭的盐水柱.进行了如下实验:

   (1)该小组将盐水柱作为纯电阻,粗测其电阻约为几千欧.现采用伏安法测定盐水柱的电阻,有如下实验器材可供选择:

A.直流电源:电动势12V,内阻很小,额定电流1A;

B.电流表A1:量程0-10mA,内阻约

C.电流表A2:量程0-600mA,内阻约

D.电压表V:量程0-15V,内阻约;E.滑动变阻器R1:最大阻值

F.滑动变阻器R2:最大阻值;    G.开关.导线等

在可供选择的器材中,应选用的电流表是_______(填“A­1”或“A2”),滑动变阻器是________(填“R1”或“R2”);

  (2)根据所选器材,在图示方框内画出实验原理图

   (3)握住乳胶管两端把它均匀拉长,多次实验测得盐水柱长度L.电阻R的数据如下表:

实验次数
1
2
3
4
5
6
长度L(cm)
20.0
25.0
30.0
35.0
40.0
45.0
电阻R()
1.3
2.1
3.0
4.1
5.3
6.7

为了借助线性图像,形象直观地研究电阻R与长度L的关系,该小组用纵坐标表示电阻R,你认为横坐标应用       物理量表示.

试题详情


同步练习册答案