0  395042  395050  395056  395060  395066  395068  395072  395078  395080  395086  395092  395096  395098  395102  395108  395110  395116  395120  395122  395126  395128  395132  395134  395136  395137  395138  395140  395141  395142  395144  395146  395150  395152  395156  395158  395162  395168  395170  395176  395180  395182  395186  395192  395198  395200  395206  395210  395212  395218  395222  395228  395236  447090 

8.如图所示,跨在光滑圆柱体侧面上的轻绳两端分别系有质量为mAmB的小球,系统处于静止状态.AB小球与圆心的连线分别与水平面成60°和30°角,则两球的质量之比和剪断轻绳时两球的加速度之比分别为

A.1:1    1:2       B.1:1   1:

C.:1   1:1      D.:1  1:

试题详情

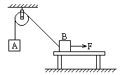
7.如图所示,物体A和B质量均为m,且分别与轻绳连接跨过定滑轮,当用力拉B沿水平面向右作匀速运动的过程中,绳对A的拉力大小是

A.大于mg      

B.小于mg

C.总等于mg     

D.由大于mg逐渐变为小于mg

试题详情

6. 从地面竖直上抛一个小球,设小球从地面上升到最高点所用的时间为;从最高点下落到地面所用的时间为。若考虑空气阻力作用,则

A.        B.        

C.    D. 无法判断

试题详情

5.下表是四种交通工具的速度改变情况,下列说法正确的是      

 
初始速度(m/s)
经过时间(s)
末速度(m/s)

2
3
11

0
3
6

0
20
6

0
100
20

    A.①的速度变化最大,加速度最大      B.②的速度变化最慢

    C.③的速度变化最快            D.④的末速度最大,但加速度最小

试题详情

4.如图所示,质量分别为m1m2m3的小物块ABC用两根相同的自然长度为、劲度系数为k的轻弹簧连接起来,在竖直向上的外力F的作用下静止,小物块ABC可视为质点,AC之间的距离是

A.              B.

C.               D.          

试题详情

3、用轻弹簧竖直悬挂质量为m的物体,静止时弹簧伸长量为L.现用该弹簧沿斜面方向拉住质量为2m的物体,系统静止时弹簧伸长量也为L.斜面倾角为300,如图所示.则物体所受摩擦力

A.等于零            

B.大小为,方向沿斜面向下

C.大小为,方向沿斜面向上 

D.大小为mg,方向沿斜面向上

试题详情

2、如图所示,质量为m的等边三棱柱静止在水平放置的斜面上。已知三棱柱与斜面之间的动摩擦因数为,斜面的倾角为,则斜面对三棱柱的支持力与摩擦力的大小分别为( )

A.mg和mg     B.mg和mg

C.mg和mg    D.mg和mg

试题详情

1、水平地面上有一木箱,木箱与地面之间的动摩擦因数为。现对木箱施加一拉力F,使木箱做匀速直线运动。设F的方向与水平面夹角为,如图,在从0逐渐增大到90°的过程中,木箱的速度保持不变,则  (   )

A.F先减小后增大      B.F一直增大

C.F的功率减小       D.F的功率不变

试题详情

22.(8分)在一定条件下,NanRO3和NaI在硫酸介质中反应,发生反应生成NaR、I2和Na2SO4。已知该变化过程中,0.1mol的NanRO3参加反应时共转移0.6mol电子:

(1)RO3n中R元素的化合价是    

(2)R元素的最外层电子数为     

(3)写出该反应配平的离子方程式。

(4)   KMnO4+   H2O2+   H2SO4   K2SO4+   MnSO4+   O2↑+   H2O

贵州省兴义市崇文中学2010届高三第一次月考

试题详情

21、(10分)根据右边反应框图填空。

已知B、D、E、L常温下为

密度比空气大的气体,D、

E为单质,其他为化合物。

A是一种淡黄色固体,C在

水中的溶解度随温度的升高

而减小,F、G均能与L的

水溶液反应放出B。

⑴ F的俗名是         ,工业上利用反应③生产     

⑵ 反应①~⑤中,属于氧化还原反应的是       

⑶ 反应④的离子方程式为                     

⑷ 有一种单质能与H反应生成E,该反应的化学方程式为       

⑸ 某气体M具有漂白作用,既有氧化性,又有还原性,请写出同时有B、H和M生成的化学方程式                      

试题详情


同步练习册答案