0  402309  402317  402323  402327  402333  402335  402339  402345  402347  402353  402359  402363  402365  402369  402375  402377  402383  402387  402389  402393  402395  402399  402401  402403  402404  402405  402407  402408  402409  402411  402413  402417  402419  402423  402425  402429  402435  402437  402443  402447  402449  402453  402459  402465  402467  402473  402477  402479  402485  402489  402495  402503  447090 

26.(15分)六种短周期元素A、B、C、X、Y、Z原子序数依次减小,其中X、Y、Z原子核外电子层数之和是5。X元素原子最外电子层上的电子数是Y和Z两元素原子最外电子层上的电子数的总和;Y元素原子的最外电子层上的电子数是它的电子层数的2倍,  X和Z可以形成XZ2的化合物;C与X处于同周期,B+与C2的核外电子排布相同,A与B处于同周期,且可形成BA型化合物。

     请回答:

  (1)Y元素的名称是      

  (2)A、B、C的离子半径由大到小的顺序为       (用离子符号表示);

  (3)判断化合物XZ4A的溶液的酸碱性       (填“酸性”、“中性”或“碱性”),其原因是(用离子方程式表示)            

  (4)Z的单质与C的单质在强酸性条件下构成燃料电池,其正极反应式为      

20090515
 
  (5)由Y和Z两种元素形成的相对分子质量为44的化合物的燃烧热为2220kJ/mol,请   写出其热化学方程式:            

试题详情

25.(20分)如图所示,在平面直角坐标系xoy的第一象限内,有垂直纸面向外的有界匀强磁场区,磁感应强度为B;y轴是磁场左侧的边界,直线OM是磁场的右侧边界,磁场上方足够大。在第二象限内有与坐标系xoy在同一平面的足够大的匀强电场,电场强度为E,方向沿x轴正方向。有一电量为q带正电的粒子,质量为m,重力不计。

  (1)现将此粒子从第二象限的A(x、a)点由静止释放(其中“为已知常数),最后粒子垂直于直线OM射出磁场,求A点横坐标x的绝对值。

    (2)图中的虚线是抛物线,其轨迹方程为(其中b为常数,是已知量)。若将此粒子从该抛物线轨迹上位于第二象限的任意一点由静止释放,粒子都能沿垂   直x轴方向射出磁场。求直线OM与x轴的正方向的夹角

试题详情

23.(16分)一裉质量分布均匀的长直绳AB,在水平恒定外力F的作用下,沿光滑水平面以2m/s的初速度做匀加速直线运动(忽略绳子的形变),在头2s内所通过的位移等于绳长的6倍。如图甲所示,绳内距A端x处的张力(即绳内部之间的拉力)的关系如图乙所示,利用图象和题中的已知数据,求:

  (1)距A端1.5m处绳内的张力多大?

  (2)绳子的质量多大?

 

  24.(18分)如图所示,在高为h=1.25m的水平台面上放着两个质量分别为的小球B、C,其中C球用轻质弹簧与左边固定的挡板连接,开始弹簧处自然长度。C球右侧台面光滑,左侧台面粗糙,各球与左侧台面间的动摩擦因数均为。现有一质量为的小球A以的水平速度向左运动,与B球发生正碰,A球被反弹后从水平台面上飞出,落地点距平台右边缘的水平距离为。而B球与C球在极短的时间内发生正碰,碰后粘在一起共同压缩弹簧,使弹簧具有最大弹性势能;已知三个小球均可看做质点,弹簧的形变在弹性限度内,不计空气阻力,g取10m/s2

   求:小球B、C碰后压缩弹簧的最大形变量x。

试题详情

22.(18分)

       I.(6分)如图所示,某同学利用方格坐标纸测定半圆形玻璃砖的折射率,OA是画在纸上的直线,他在直线OA适当位置先后竖直插上 P1、P2两枚大头针,如图放上玻璃砖(如粗黑线所示,O为玻璃砖的圆心),然后插上P3、P4大头针。

  (1)其中他确定P3太头针位置的方法应当是

    

  (2)若设同学实验操作规范准确,其记录的情

况如图所示。该同学移去玻璃砖,用圆规  

20090515
 
做了一个以O为圆心,半径与玻璃砖相同

的圆(如图中虚线所示)。请你根据图中

坐标纸的数据算出玻璃砖的折射率为  

(保留两位有效数字)。

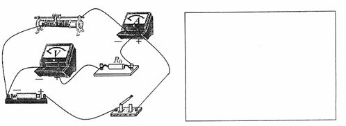
     II.(12分)在测定一节干电池的电动势和内阻

的实验中,备有下列器材:

     A.待测的干电池(电动势约为1.5V,内阻约

为1.0)

     B.电流表A(量程0-0.6A,内阻约0.5)

     C.电压表V(量程0一0.6V,内阻准确值Rv=2000)

     D.滑动变阻器R(各种阻值范围的共四个)

     E.定值电阻R0(各种阻值的共四个)

     F.开关和导线若干

    (1)某同学发现上述器材中电压表的量程不够,于是他设计了如图所示的实物连线图,  较精确的测出了电源的电动势和内阻,请你根据这一实物连线图画出他的实验电  路原理图。

  (2)实验室中有以下四种阻值的定值电阻.为了减小实验误差,该实验定值电阻R0应   选取                             (   )

A.2000    B.4000         C.6000         D.8000

  (3)为了操作方便且能准确地进行测量,在该实验中,滑动变阻器应选取     (   )

       A.0-20     B.0-200       C.0-300       D.0-400

  (4)改同学根据实验电路,测出七组实验数据,他利

用测出的数据直接绘出了右侧的U -I图线(I

为电流表A的示数,U为电压表V的示数),但

坐标纸不够大,他只画了一部分图线,若把电流

表和改装后的电压表当成理想电表,则由图线可

得被测电池的电动势E=     V(保留三

位有效数字),内阻r=    (保留两位有  

效数字)。

  (5)该实验的电表因不是理想的电表,使得测得的电

动势和内阻的值与真实值存在误差,以下关于误差分析的原因正确的是   (   )

     A.因为电流表的分压作用引起的

     B.因为电压表的分流作用引起的

     C.电流表的内阻越小,误差越小

     D.电压表的内阻越大,误差越小

试题详情

21.如图所示,水平面内两个足够长光滑平行的金属导轨间距为d.置于垂直于导轨平面的匀强磁场中,磁场的磁感应强度为B。质量均为m,电阻均为R的金属棒ab和cd垂直于导轨放置处于静止状态,现给ab棒一个水平向左的瞬时冲量I。下列说法正确的是

                                                                                     (   )

       A.两棒组成的系统动量守恒、机械能守恒

     B.电路在整个过程中产生的电能为

     C.最终稳定后两棒之间距离将减小

     D.电路在整个过程中产生的电热为

第Ⅱ卷(非选择题共l0小题,共174分)

试题详情

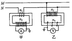
19.如图所示,M、N是输电线,甲是电流互感器,乙是电压互感器。已知

  .若A表和V表的示数分别为10A和44V,则输电线输送的功率为(   )

     A.88W            B.440W             C.2.2×103W      D.2.2×107W

  20.如图所示,固定的气缸内盛有一定量的气体(分子间的相互作用力不计),气缸壁及活塞均导热性良好,气缸外环境保持恒温,活塞与气缸壁间无摩擦,且不漏气。现用外力  缓慢地向右拉动活塞使气体等温膨胀并对外做功。则下列说法正确的是             (   )

     A.该过程缸内气体从单一热源吸收热量,并

将其全部用来对外做功

     B.该过程缸内气体分子的平均动能增大

     C.该过程缸内气体分子单位时间内撞击器壁

单位面积的总冲量增大

     D.此过程不违反热力学第二定律

试题详情

18.如图所示,弹性介质中的1、2、3…10各点之间的距离均是1m,当t=0时,质元l开始向上振动,t=0.1s时质元1第一次到达平衡位置正上方最大位移处,而振动向右传播恰好传到质元3,则以下结论正确的是           (   )

       A.波的频率是2。5Hz艘的传播速度是30 m/s

     B.t=0.2s时,质元3位于平衡位置正下方

最大位移处

     C.t=0.45s时波恰好传播到质元10

     D.渡传播到质元l0时,质元l的位移大小正好是振幅的一半

试题详情

16.通过探测器传输回的数据研究表明,月球的密度和火星的密度几乎相等。当火星探测器贴近火星表面做匀速圆周运动与月球探测器贴近月球表面做匀速圆周运动时,关于这两个探测器下列物理量接近的是               (   )

     A.线速度         B.角速度         C.向心加速度      D.向心力

  17.A、B是一条电场线上的两个点,一带负电的粒子仅在电场力作用下以一定的初速度从A 点沿电场线运动到B点,其v-t图象如图甲所示,则这一电场可能是目乙中的(   )

试题详情

14.一群处于基态的氢原子受某种单色光照射时,只能辐射“a、b、c三种单色光,其中a光的波长最短,c光的波长最长。已知氢原子的能级公式为.其中E1是处于基态氢原子的能量。则a、c这两种单色光的光于能量之比等于(   )

     A.3:2            B.6:l            C.32:5           D.9:4

  l5.如图所示,用A和B两种单色光均垂直照射到同一条直光纤的端面上,A光穿过光纤的时间比B光穿过的时间长,则下列说法正确的是                           (   )

     A.光纤对A光的折射率比对B光的折射率大 

     B.用A和B两种光分别照射同种金属,若A光

照射金属能发生光电效应,则B光照射也一定能发生光电效应

     C.当A、B光在光纤中发生全反射时,A光临界角小于B光的临界角

     D.对同一单缝A光的衍射中央亮条纹比B光窄

试题详情

12.A、B、C、D、E为原子序数相邻且依次递增的同一短周期元素,下列说法正确的是(m、  n均为正整数)                                                    (   )

     A.若B为金属,则C一定为金属元素

     B.若HnEOm为强酸,则D是位于VA族以后的非金属元素

     C.若A、B的最高价氧化物水化物均为碱,则碱性A(OH)n强于B(OH)n+1

     D.若C的最低化合价为-3,则E的气态氢化物的分子式为H2E

  13.向甲乙两个容积均为lL的恒容容器中,分别充人2mol A、2m0I B和l mol A、l mol B。相同条件下,发生下列反应:A(g)+B(g)    xC(g):△H<0。测得两容器中c(A)随时间t的变化如图所示:           

     则以下说法正确的是                                                           (   )

   A.x可能等于2也可能等于3

   B.向平衡后的乙容器中充人氦气可使c(A)增大

   C.将乙容器升温可使乙容器内各物质的体积分数与甲容器内的相同

   D.若向甲容器中再充人2mol A、2mol B,则平衡时甲容器中0.78 mol·L-1<c(A)<1.56 mol·L-1

试题详情


同步练习册答案