题目列表(包括答案和解析)

 0  171657  171665  171671  171675  171681  171683  171687  171693  171695  171701  171707  171711  171713  171717  171723  171725  171731  171735  171737  171741  171743  171747  171749  171751  171752  171753  171755  171756  171757  171759  171761  171765  171767  171771  171773  171777  171783  171785  171791  171795  171797  171801  171807  171813  171815  171821  171825  171827  171833  171837  171843  171851  447348 

3. 如图所示,小球从A点以初速度v0沿粗糙斜面向上运               动,到达最高点B 后返回ACAB的中点。下列说法中正确的是

A.小球从A出发到返回A的过程中,位移为零,外力                做功为零

B.小球从AC过程与从CB过程,减少的动能相等

C.小球从AC过程与从CB过程,速度的变化量相等

D.小球从AC过程与从CB过程,损失的机械能相等

试题详情

2.下图为杂技表演的安全示意图,网绳的结构为正方形格,0,a,b,c,d……为网绳的结点,安全网水平张紧后,若质量为m的运动员从高处落下,并恰好落在0点上,该处下凹至最低点时,网绳doe、bog均成120°向上的张角,如图乙所示,此时0点受到的向下的冲击力大小为F,则这时0点周围每根网绳承受的力的大小为

A.F      B.  

C.F+mg    D.

试题详情

1.下列说法中正确的是

A.质点、位移都是理想化模型

B.牛顿第一定律、牛顿第二定律都可以通过实验来验证

C.单位mkgs是一组属于国际单位制的基本单位

D.万有引力恒量G是由伽利略首次通过实验而测得的

试题详情

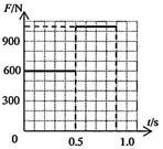
31.起跳摸高是学生常进行的一项活动,竖直起跳的时间和平均蹬地力的大小能够反映学生在起跳摸高中的素质.为了测定竖直起跳的时间和蹬地力的大小,老师在地面上安装了一个压力传感器,通过它可以在计算机上绘出平均压力与时间的关系图象.小刘同学身高1.72m,站立时举手达到2.14m,他弯曲两腿,做好起跳的准备,再用力蹬地竖直跳起,测得他对传感器的压力F与时间t的关系图象如图所示.已知图中网格间距相等,不计空气阻力,取g = 10m/s2.求小刘同学起跳摸高的最大高度约为多少?

答案

 小刘同学起跳摸高的最大高度约为2.59m

试题详情

31.(12分)如图所示,在动摩擦因素μ=0.2的水平面AB上,水平恒力F推动质量为m=1kg的物体从A点由静止开始作匀加速直线运动,物体到达B点时撤去F,接着又冲上光滑斜面(设经过B点前后速度大小不变),最高能到达C点。用传感器测量物体的瞬时速度,并在表格中记录了部分测量数据。求:

t/s
0.0
0.2
0.4

2.2
2.4
2.6

v/m•s-1
0.0
0.4
0.8

3.0
2.0
1.0

(1)恒力F的大小;

(2)斜面的倾角

(3)若在A处撤去推力F,给物体一个水平向左的初速度v0,恰能使物体运动到C点,求此初速度v0的大小。

答案:(1)∴Fma1+mmg=4N     

(2))   ∴a=30°      

 (3)

  解得  v0=5.6m/s       

杨浦

*8.一辆汽车在水平公路上转弯,沿曲线由M向N行驶,速度逐渐减小.如图所示,分别画出汽车转弯时所受合力的四种方向,你认为正确的是:

答案:B

试题详情

13.如图所示,一斜面体静止在粗糙的水平地面上,一物体恰能在斜面体上沿斜面匀速下滑,可以证明此时斜面不受地面的摩擦力作用.若沿平行于斜面的方向用力向下推此物体,使物体加速下滑,斜面体依然和地面保持相对静止,则斜面体受地面的摩擦力  (     )

(A)大小为零  (B)方向水平向右

(C)方向水平向左 (D)大小和方向无法判断

答案:A

*18.天文学家如果观察到一个星球独自做圆周运动,那么就想到在这个星球附近存在着一个看不见的星体──黑洞。星球与黑洞由万有引力的作用组成双星,以两者连线上某点为圆心做匀速圆周运动,那么(     )

(A)它们做圆周运动的角速度与其质量成反比 

(B)它们做圆周运动的线速度与其质量成反比

(C)它们做圆周运动的半径与其质量成反比  

(D)它们所受的向心力与其质量成反比

答案:BC

试题详情

10.一物块以某一初速度沿粗糙的斜面向上沿直线滑行,到达最高点后自行向下滑动,不计空气阻力,设物块与斜面间的动摩擦因数处处相同,下列哪个图像能正确地表示物块在这一过程中的速率与时间的关系(     )

                                       

答案:C

试题详情

31.(12分)特战队员从悬停在空中离地235米高的直升机上沿绳下滑进行降落训练,某特战队员和他携带的武器质量共为80 kg,设特战队员用特制的手套轻握绳子时可获得200 N的摩擦阻力,紧握绳子时可获得1000 N的摩擦阻力,下滑过程中特战队员至少轻握绳子才能确保安全. g取10m/s2. 求:

(1)特战队员轻握绳子降落时的加速度是多大?

(2)如果要求特战队员着地时的速度不大于5m/s,则特战队员在空中下滑过

程中按怎样的方式运动所需时间最少,最少时间为多少?

答案:解:(1)  

(2)         

奉贤

试题详情

25.水平地面上有一质量为2kg的物体,物体在水平拉力

F的作用下由静止开始运动,10s后拉力大小减为F/3,

该物体的运动速度随时间变化的图像如图所示,则物

体受到的拉力F的大小为__________N;物体与地面

之间的动摩擦因数_________.

答案:8.4  ,  0.34

试题详情

14.压敏电阻的阻值随所受压力的增大而减小,有位同学利用压敏电阻设计了判断小车运动状态的装置,其工作原理如图(a)所示,将压敏电阻和一块挡板固定在绝缘小车s上,中间放置一个绝缘重球。小车向右做直线运动过程中,电流表示数如图(b)所示,下列判断正确的是…(   )

t
 
(A)从时间内,小车做匀速直线运动

(B)从时间内,小车做匀加速直线运动

(C)从时间内,小车做匀速直线运动

(D)从时间内,小车做匀加速直线运动

答案:D

试题详情


同步练习册答案