题目列表(包括答案和解析)

 0  30405  30413  30419  30423  30429  30431  30435  30441  30443  30449  30455  30459  30461  30465  30471  30473  30479  30483  30485  30489  30491  30495  30497  30499  30500  30501  30503  30504  30505  30507  30509  30513  30515  30519  30521  30525  30531  30533  30539  30543  30545  30549  30555  30561  30563  30569  30573  30575  30581  30585  30591  30599  447348 

7. 下列物质中,在不同条件下可以发生氧化、消去、酯化反应的为(   )

A、乙醇   B、乙醛    C、苯酚    D、乙酸

试题详情

6.下列各组混合物,不能用分液漏斗分开的是①四氯化碳、水 ②乙醇、甘油 ③乙醇、水 ④苯、水 ⑤已烷、水 ⑥环已烷、苯 ⑦溴苯、水

A.①②③  B.②③⑥  C.①④⑤⑦  D.④⑤⑥

试题详情

5.欲除去混在苯中的少量苯酚,下列实验方法正确的是      (   ) 

A.分液       B.加入氢氧化钠溶液后,充分振荡,静置后分液

C.加入FeCl3溶液后,过滤   D.加入过量溴水,过滤 

试题详情

4.关于乙酸的下列说法中不正确的是(   ).

 A.乙酸易溶于水和乙醇

 B.无水乙酸又称冰醋酸,它是纯净物

 C.乙酸是一种重要的有机酸,是有刺激性气味的液体

 D.乙酸分子里有四个氢原子,所以不是一元酸

试题详情

3.甲酸和乙醇发生酯化反应生成的酯的结构简式为(   ).

 A.CH3COOCH3  B.HCOOCH3

 C.HCOOCH2CH3 D.HCOOCH2CH2CH3

试题详情

2.下列芳香族化合物常温下,能与溴水发生取代反应的是(   )

  (A)        (B)           (C)     (D) 

试题详情

1.下列分子式表示的物质一定是纯净物的是(   )

(A)  CH4O  (B)  C7H16   (C) C5H10  (D)C2H4Cl2

试题详情

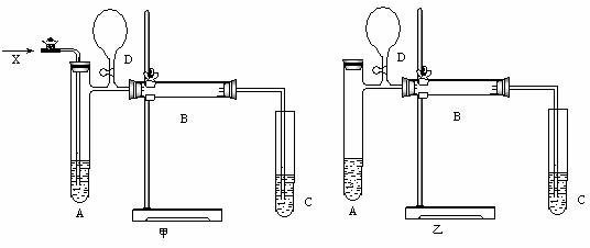
25.(13分)实验室可利用甲醇、空气、铜或氧化铜来制备甲醛,关于甲醇和甲醛的沸点和水溶性见下表:

 
沸点/℃
水溶性
甲醇
65
与水相溶
甲醛
-21
与水相溶

下图是甲、乙两位同学设计的实验装置,甲和乙的反应装置和收集装置相同,而气体发生装置不同,D处的气球均在反应结束时使用,分别如甲和乙所示。

请回答:(1)按甲装置进行实验,则通入A试管的X是    ____________,

B管中发生反应的化学方程式为     _________        _______________________。

(2)若按乙装置进行实验,则B管中发生反应的化学方程式为

_______________________      _________________。

(3) C试管中装入的试剂是__   __,管内收集到的物质有_________      ___。

(4)对甲、乙两装置中的A、B、C,还需要采取什么措施(实验室提供用品),才能使实验顺利进行?对A是_____________,对B是_____________,对C是_____________。

(5)反应结束时,对D处气球的操作是___________________________________________。

 
 
 
 
 
()
 
 
 
 

来源:
 
版权所有:()

版权所有:()

版权所有:()

试题详情

24.(10分)某化合物A在一定条件下能发生如下图所示的转变:

其中只有B1既能使溴水褪色,又能与Na2CO3 溶液反应放出CO2 ,回答下列问题:

(1)指出反应类型:X      反应,Y       反应。

   (2)物质A的结构简式为            。

   (3)写出C1  C2的化学方程式                      。

   (4)与F互为同分异构体且核磁共振氢谱只有一种峰的有机物的结构简式有         

试题详情

23.(8分)某学生利用下列仅有的试剂和仪器,通过一系列的实验,最终在一支洁净的试管内壁镀上了一层光洁的银。

试剂:乙醇、2%的AgNO3溶液、2%的氨水溶液

用品与仪器:酒精灯、铜丝、试管若干支、胶头滴管、

按照实验的先后顺序写出有关的化学方程式或离子方程式(可不填满或补充)。

①________________________________.②________________________________________.

③___________________________________④________________________________________.

⑤____________________________________________

试题详情


同步练习册答案