0  112106  112114  112120  112124  112130  112132  112136  112142  112144  112150  112156  112160  112162  112166  112172  112174  112180  112184  112186  112190  112192  112196  112198  112200  112201  112202  112204  112205  112206  112208  112210  112214  112216  112220  112222  112226  112232  112234  112240  112244  112246  112250  112256  112262  112264  112270  112274  112276  112282  112286  112292  112300  447090 

14.下列说法中正确的有                                                                                     (    )

  A.热量能够从高温物体传到低温物体,但不能从低温物体传到高温物体

B.当分子间的距离增大时,分子间的引力和斥力都在减小,但斥力减小得更快,所以分子间作用力总表现为吸引力

  C.温度是物体分子热运动的平均动能的标志,因而绝对零度是不可能达到的

  D.气体压强的大小只与气体分子的密集程度有关

试题详情

   (1)B球刚进入电场时的速度v1的大小

   (2)B球的最大位移及从开始到最大位移处B球电势能的变化量

   (3)带电系统运动的周期T

试题详情

   (1) 物块C的质量mC

   (2)墙壁对物体B的弹力在4s到8s的时间内对B做的功W及在4s到12s的时间内对B的冲量I的大小和方向

   (3)B离开墙后弹簧具有的最大弹性势能EP

20090306

试题详情

17.(10分)如图甲所示,物体AB的质量分别是mA=4.0kgmB=3.0kg,用轻弹簧相连放在光滑水平面上,物体B右侧与竖直墙相接触。另有一物体Ct =0时以一定速度向右运动,在t =4s时与物体A相碰,并立即与A粘在一起不再分开。物块Cv-t图象如图乙所示。求:

试题详情

16.(10分)某校课外活动小组,自制一枚土火箭,设火箭点火后竖直向上做匀变速直线运动。已知火箭点火后,运动一段时间燃料用完,火箭继续运动t =2.0s到达最高点,已知火箭能到达离地面的最大高度H=60m,若空气阻力和燃料质量均忽略不计,g取10m/s2。求:火箭所受的平均推力F与重力G的比值。

试题详情

15.(10分)甲、乙两个同学在直跑道上练习4×100m接力,他们在奔跑时有相同的最大速度。乙从静止开始全力奔跑需跑出s=20m才能达到最大速度,这一过程可看作匀变速直线运动,现在甲持棒以最大速度向乙奔来,乙在接力区伺机全力奔出。若要求乙接棒时奔跑达到最大速度的75%,则:

   (1)乙在接力区须跑出多少距离。

(2)乙应在距离甲多远时起跑。(请画出运动情况分析示意图)

试题详情

⑴ 实验中需选用的测量工具是_____________

A. 弹簧秤                                   B. 天平   

C. 毫米刻度尺                             D. 游标卡尺

⑵ 需测量的物理量是_____________________________________(写出物理量的名称并用字母表示)

⑶ 用测量的物理量表示动摩擦因数µ=____________________。

试题详情

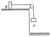
14.(8分)用如图所示装置可测得B物体与水平桌面间的动摩擦因数µ。装置中AB物体质量不同,且用跨过定滑轮的轻绳相连。开始时B放在水平桌面上,A离地面有一定的高度,从静止开始同时释放使它们运动,在运动过程中B始终碰不到滑轮,A着地后不反弹。则

试题详情

13.(3分)下面是教科书中提供的有关“学生实验”,对相关实验的描述正确的是___________。

A. 在“研究平抛物体的运动”实验中,斜槽末端必须水平且每次从同一位置释放小球

B. 在“验证动量守恒定律”的实验中,所选入射小球和被碰小球的直径相等,且入射小球的质量大于被碰小球的质量

C. 在“用单摆测定重力加速度”实验中,如果摆长的测量及停表的读数均无误,而测得的g值偏大,其原因可能是将全振动的次数n误计为n+1

D. 在“验证机械能守恒定律”的实验中,必须用天平测出下落物体的质量

试题详情