0  112195  112203  112209  112213  112219  112221  112225  112231  112233  112239  112245  112249  112251  112255  112261  112263  112269  112273  112275  112279  112281  112285  112287  112289  112290  112291  112293  112294  112295  112297  112299  112303  112305  112309  112311  112315  112321  112323  112329  112333  112335  112339  112345  112351  112353  112359  112363  112365  112371  112375  112381  112389  447090 

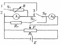
电流表A1                量程10mA,内阻约200Ω

试题详情

还需要一个什么形状的电极?答:____。在图甲中画出示意图,并完成电路连接。

②通电后,要描绘出过C点的等势线,还需要的仪器是________________,操作步骤是__________________________________________________________。

③描绘出的等势线应是正圆形,而实验中实际得到的图样却出现明显变形,如图乙所示。右边明显偏离圆形而外凸起,其原因可能是_________________________。(写出一个即可)

(2)(12分)石岩同学用如图所示的电路,测量一段金属丝的电阻Rx(阻值约为5Ω),选用以下器材:

试题详情

22.(18分)

(1)(6分)在“用描迹法画出电场中平面上的等势线”实验中,用在导电纸上形成的电流场模拟静电场,描绘一个平面上的等势线。吴利同学想模拟带负电的点电荷附近电场在一个平面上的等势线,他在木板上依次铺上白纸、复写纸、导电纸,并用图钉固定,然后在导电线中央固定一个小圆柱形电极A,如图甲所示。

试题详情

C.        D.

第Ⅱ卷

试题详情

A.                B.

试题详情

21.如图所示,劲度系数为k的轻弹簧竖直放置,下端固定在水平地面上,一质量为m的小球,从离弹簧上端高h处自由释放,压上弹簧后继续向下运动的过程中。若以小球开始下落的位置为原点,沿竖直向下建立坐标轴ox,则小球的速度平方v2随坐标x的变化图象如图所示,其中OA段为直线,AB段是与OA相切于A点的曲线,BC是平滑的曲线,关于A、B、C各点对应的位置坐标xA、xB、xC及加速度aA、aB、aC的判断正确的是(   )

试题详情

D.若将R0换为的另一电阻,该粒子仍沿直线穿出两板,则粒子速度为

试题详情

A.将滑片P向上移动一点,该粒子穿出两板过程中动能减小

B.将滑片P向上移动一点,该粒子穿出两板过程中电势能减小

C.若粒子带负电,则不可能沿图示方向沿直线穿过此区域

试题详情


同步练习册答案