0  193870  193878  193884  193888  193894  193896  193900  193906  193908  193914  193920  193924  193926  193930  193936  193938  193944  193948  193950  193954  193956  193960  193962  193964  193965  193966  193968  193969  193970  193972  193974  193978  193980  193984  193986  193990  193996  193998  194004  194008  194010  194014  194020  194026  194028  194034  194038  194040  194046  194050  194056  194064  447090 

2.动能和势能的相互转化

物体在运动过程中,其速度、高度、弹性形变都可能发生变化,这时就可能伴随着能量的转化,不同形式的能量之间是可以相互转化的,即:动能和重力势能之间可以相互转化,动能和弹性势能之间可以相互转化,但重力势能和弹性势能之间不能相互转化,因为它们属于同种形式的能量.

下面我们来看几个能量相互转化的例子.

图14-4

把一个滚摆挂在框架上,如图14-4所示,用手捻动滚摆使悬线缠在轴上,滚摆升到最高点.放开手,观察滚摆的运动情况.

我们可以看到滚摆旋转着下降,越转越快.到最低点时,滚摆转而上升,上升中它越转越慢,直到差不多回到原来的位置.然后它又下降、上升,重复原来的运动.

根据滚摆运动中高度和速度的变化,不难看出:滚摆下降时,它的重力势能越来越小,动能越来越大,重力势能转化为动能;滚摆上升时,它的动能越来越小,重力势能越来越大,动能转化为重力势能.

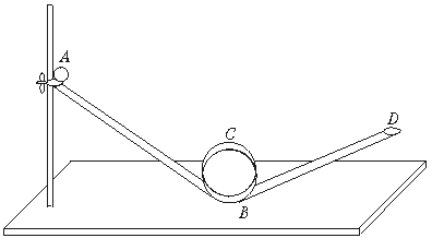
如图14-5所示,小球在轨道ABCD上滚动,其能量转化要分段来分析.

图14-5

小球由A点出发,从图中可以看到,A点是轨道的最高点,重力势能最大,开始下落的一刹那,速度为零,动能最小.由AB的下落过程中,其高度逐渐减小,使重力势能减小,而下落速度越来越大,使其动能越来越大.因此由AB阶段,小球的重力势能转化为动能.

B点是轨道的最低点,小球到达时重力势能最小,速度最大,动能最大,由BC是小球上升的阶段,速度越来越小,动能越来越小,高度不断上升,重力势能不断增大.因此,由BC阶段是动能转化为重力势能.

接下来,小球由C点落回B点,是重力势能转化为动能,到达B点时仍然速度最大.

最后一个阶段,小球由B点上升到D点,动能越来越小,重力势能越来越大.因此,由BD阶段小球的动能转化为重力势能.

在以上两个分析过程中,我们都未谈到物体的质量,虽然它也是影响动能和重力势能的因素,但在这两个过程中,滚摆的质量和小球的质量都是不变的.因此我们未做讨论.

图14-6

如果你把以上两个能量转化的分析都弄明白了,你可以试着分析一下图14-6所示的小球在摆动过程中的能量转化.

你会吗?

结论应该是:假设小球由A点开始运动,由AB过程,小球的重力势能转化为动能,由BC过程是动能转化为重力势能,由CB过程是重力势能转化为动能,由BA过程是动能转化为重力势能,…由此往复.

你分析对了吗?

以上三个例子都是关于动能和重力势能相互转化的情况分析.下面我们来看动能和弹性势能相互转化的情况.

如图14-7所示,小球从A点落到B点时,重力势能全部转化为动能.

图14-7

B点,小球具有动能,如图14-7甲所示,C点竖直有一个弹簧片,弹簧片下端固定,木球刚刚接触弹簧片.接下来,木球将动能释放,把弹簧片压弯,如图14-7乙所示,弹簧片的形变在增大,弹性势能在不断增大,在此过程中,动能转化为弹性势能,紧接着,弹簧片恢复原状,把木球弹回,如图14-7丙所示,此时弹簧片将弹性势能释放,而木球速度越来越大,动能也越来越大,在这个过程中弹性势能转化为动能.

图14-8

在图14-8中,一个简单的玩具很好地体现出了动能与弹性势能、重力势能间的转化.

当上紧发条后,由于发条发生了弹性形变,具有了弹性势能,它使体操人开始翻转,这时是弹性势能转化成动能,而体操人上下翻转过程中,又进行了动能和重力势能间的相互转化.

讲到这里,你可能会得到这样的结论:当动能和势能可以不断地相互转化下去时,物体就可以不停地往复运动下去而不会停止.

如果只有动能和势能相互转化,机械能的总和不变,或者说,机械能是守恒的.

但我们看到的现象往往是:往复运动的物体如果不给它再施加外力,它最终会停下来.这并不是说机械能不守恒了,而是因为物体在运动过程中是会遇到阻力的,物体克服阻力时要消耗一部分能量,所以物体的机械能总和是减小的.

我们可以举两个例子来说明上述问题.

图14-9

用绳子把一个铁锁悬挂起来.如图14-9所示,把铁锁拿近自己的鼻子,稳定后松手,头不要动.铁锁向前摆去又摆回来,你会害怕铁锁摆回时会碰到你的鼻子吗?不用怕,它不会碰到你的鼻子,而且每次荡回时都比上一次荡回距离你的鼻子远了一些,最终铁锁会停下来.在这个实验中,铁锁的动能和势能在不断转化.在转化过程中,机械能的总量是减小的.

图14-10

在图14-10中,让小球沿半圆形轨道由A点向B点运动.小球在A点静止,松手后,小球会到达B点吗?会一直从AB,再从BA地这样运动下去吗?实验结果是:小球不会再到达A点和B点,而且最后会停在轨道最底部.这是因为小球在运动过程中要克服摩擦,因此消耗一部分机械能,使其机械能总和减小,最终为零时,小球就停在最低点了.

动能和势能相互转化的事例在日常生活中还有很多.例如,炮弹从炮口斜向上射出,又落到远处地上,这时是动能转化为重力势能,重力势能又转化为动能;弹簧门打开后,可自动关闭,是弹性势能转化为动能.

图14-11

如图14-11所示.人造地球卫星绕地球沿椭圆轨道运行,它的位置有时离地球中心较近,有时离地球中心较远.离地球中心最近的一点叫近地点,这里卫星的势能最小;离地球最远的一点叫远地点,这里卫星的势能最大.卫星从远地点向近地点运动时,势能减小,动能增大,速度越来越大;反之,从近地点向远地点运动时,势能增大,动能越来越小,速度越来越小.卫星在运行过程中,也发生了动能和势能的相互转化.

[学习方法指导]

如何分析能量的转化

学习本节内容时,有的同学可能会遇到这样的困难:分析某一过程的能量转化,不知到底是动能转化成重力势能,还是由重力势能转化成动能.现在我来教你一个分析能量转化的方法.

在动能和势能相互转化的过程中,总有一种形式的能量在增加,另一种形式的能量在减少.那么我们根据各种能量影响因素的变化来判断能量的增加或是减少.例如,物体的高度减小,那么它的重力势能就减少,它的速度增大,那么它的动能就增加.而在能量转化的过程中,能量总是从逐渐减少的那种向逐渐增加的那种转化.

我们就以滚摆为例:滚摆上升过程中,速度在不断减小,因此其动能减少,而高度在不断增大,因此其重力势能在增加,所以我们可得出结论:滚摆上升过程中,动能转化成重力势能.

你明白了吗?那就试着分析一下滚摆下降过程中的能量转化.

其实,不仅是在机械能的转化中,在分析其他能量转化过程中,也可以使用这种方法.

试题详情

1.机械能

前一节我们学习了动能和势能的相关知识,在这里,我们提出一个新的名词:机械能.

动能和势能之和称为机械能.

关于“机械能”的定义,我要向你说明两点:

(1)动能和势能都属于机械能.动能是物体运动时具有的能量,势能是存储着的能量,它们虽然是两种形式不同的能量,但都属于机械能,或者说动能和势能是机械能的两种表现形式.

(2)一个物体既可以有动能,也可以有势能.上面说了,动能和势能是形式不同的能量,它们有各自的定义和存在方式,有各自的影响因素.只要一个物体同时满足动能和势能的定义条件,它就可以同时具有动能和势能.

例如,在空中飞行的飞机,是运动的而且有高度,因此这时它同时具有动能和重力势能.

试题详情

3.通过实例认识能量可以从一个物体转移到另一个物体,不同形式的能可以相互转化的过程.

[基础知识精讲]

试题详情

2.能用实例说明机械能和其他形式的能的转化;

试题详情

1.理解动能和势能可以相互转化;

试题详情

 

动能
 

势能
 
   机械能

注:只有动能和势能之间转化时能量是守恒的

自我点评:课程标准隐含着教师不是教科书的执行者而是教学方案的开发者,即教师“用教科书教,而不是教教科书”,本教学设计以学生为主体,教师旨在引导学生发现问题,解决问题,着眼于教材又联系生活,充分调动起学生的学习兴趣,让学生自主地去学习.本教学设计纯属个人一种尝试,望各位前辈、老师给予宝贵意见。

试题详情

    动能和势能之和

拓展知识

试题详情

动能和势能可以相互转化

试题详情

得出:动能和弹性势能也是可以相互转化的。

自然界中动能和势能相互转化的事例很多。首先分析课本图15.5-2,加深学生对动能,势能转化的认识,再请学生列举生活中动,势能转化的实例,老师和学生共同分析.

概括结论

试题详情


同步练习册答案