0  245848  245856  245862  245866  245872  245874  245878  245884  245886  245892  245898  245902  245904  245908  245914  245916  245922  245926  245928  245932  245934  245938  245940  245942  245943  245944  245946  245947  245948  245950  245952  245956  245958  245962  245964  245968  245974  245976  245982  245986  245988  245992  245998  246004  246006  246012  246016  246018  246024  246028  246034  246042  447090 

12、(1)某同学在探究牛顿第二定律的实验中,在物体受外力不变时,改变物体的质量,得到数据如下表所示。

实验次数
物体质量m(kg)
物体的加速度(m/s2)
物体质量的倒数1/m(1/kg)
1
0.20
0.78
5.00
2
0.40
0.38
2.50
3
0.60
0.25
1.67
4
0.80
0.20
1.25
5
1.00
0.16
1.00

①从表中的数据你可得出的结论为      ; ②物体受到的合力大约为 

(2)某同学从五楼的阳台处释放两个易拉罐,一个盛满水,一个是空的,他发现空易拉罐比盛满水的易拉罐晚落地一段时间,他想这一定是空气阻力引起的,于是他设计了一个测定空易拉罐所受空气阻力的实验。他先测出了易拉罐的质量m,又测出了一层楼的高度为h1,及五楼地板到阳台窗口的距离h2,他再请来另一同学在楼下用秒表测出空易拉罐从五楼阳台窗口到落地所用时间t。根据以上数据,计算空气阻力的表达式为:         

试题详情

11、一个小孩在蹦床上做游戏,他从高处落到蹦床上后又被弹起到原高度,小孩从高处开始下落到弹回的整个过程中,他的运动速度随时间的变化图象如图7所示,图中时刻123456为已知,oa段和cd段为直线,则根据此图象可知,小孩和蹦床相接触的时间为          .        图7

试题详情

10、在光滑水平面上有一物块受水平恒力F的作用而运动,在其正前方固定一个足够长的轻质弹簧,如图6所示,当物块与弹簧接触后,下列说法正确的是(  )

 A. 物块接触弹簧后即做减速运动

B. 物块接触弹簧后先加速后减速             图6

C. 当弹簧处于压缩量最大时,物块的加速度不等于零

D. 当物块的速度为零时,它所受的合力不为零

第Ⅱ卷(非选择题 共60分)

试题详情

9、(2002年春上海大综试题)根据牛顿运动定律,以下选项中正确的是( )

A.人只有在静止的车厢内,竖直向上高高跳起后,才会落在车厢的原来位置

B.人在沿直线匀速前进的车厢内,竖直向上高高跳起后,将落在起跳点的后方

C.人在沿直线加速前进的车厢内,竖直向上高高跳起后,将落在起跳点的后方

D.人在沿直线减速前进的车厢内,竖直向上高高跳起后,将落在起跳点的后方

试题详情

8、下面哪一组单位属于国际单位制的基本单位(  )

A.m、N、kg           B.kg、m/s2、s

C.m、kg、s             D.m/s2、kg、N

试题详情

7、如图5所示,在托盘测力计的托盘内固定一个倾角为30°的光滑斜面,现将一个重4 N的物体放在斜面上,让它自由滑下,那么测力计因4 N物体的存在,而增加的读数是(  )

 

图5         

A.4 N     B.2 N    C.0 N     D.3 N

试题详情

5、一个物体受到的合力F如图3所示,该力的大小不变,方向随时间t周期性变化,正力表示力的方向向东,负力表示力的方向向西,力的总作用时间足够长,将物体在下面哪个时刻由静止释放,物体可以运动到出发点的西边且离出发点很远的地方     (   )                           图3

  A.t=0时  B. t=t1时  C.t=t2时  D.t=t3

 6、如图4所示,质量为M的框架放在水平地面上,一轻弹簧上端固定在框架上,下端固定一个质量m的小球,小球上下振动时框架始终没有跳起,当框架对地面压力为零的瞬间,小球的加速大小为(   )                              

A.  B.  C.  D.     图4

试题详情

4、一个放在水平桌面上质量为2kg原来静止的物体,受到如图2所示方向不变的合外力作用,则下列说法正确的是(  )

A.在t=2s时,物体的速率最大

B.在2s  内物体的加速度为5m/s2

C.在2s内物体运动的位移为10m

D.0~2s这段时间内作减速运动

试题详情

2、质量2Kg的质点,在只受两个力F1=2N,F2=8N的作用下,获得的加速度大小可能是

     A .1 m/s2    B. 3 m/s2    C. 6 m/s2    D. 4 m/s2

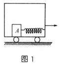
 3、如图1所示,质量为10kg的物体A拴在一个被水平拉伸的弹簧一端,弹簧的拉力为5N时,物体A 处于静止状态,若小车以1m/s2的加速度向右运动后(m/s2),则(  )

A.物体A相对小车仍然静止B.物体A受到的摩擦力减小

C.物体A受到的摩擦力大小不变D.物体A受到的弹簧拉力增大

试题详情

1、有关超重和失重,以下说法中正确的是(  )

A.物体处于超重状态时,所受重力增大,处于失重状态时,所受重力

减小

B.斜上抛的木箱中的物体处于完全失重状态

C.在沿竖直方向运动的升降机中出现失重现象时,升降机必定处于下降过程

D.在月球表面行走的人处于失重状态

试题详情


同步练习册答案