0  246245  246253  246259  246263  246269  246271  246275  246281  246283  246289  246295  246299  246301  246305  246311  246313  246319  246323  246325  246329  246331  246335  246337  246339  246340  246341  246343  246344  246345  246347  246349  246353  246355  246359  246361  246365  246371  246373  246379  246383  246385  246389  246395  246401  246403  246409  246413  246415  246421  246425  246431  246439  447090 

29.读我国某地区图,完成下列问题。(18分)

(1)写出图中有关地理事物的名称:(4分)

甲(山脉)  ;丙(湖泊)  ;③(铁路)  

铁路①与②的交汇城市   

(2)比较甲山脉相同海拔东南坡和西北坡气温年较差的大小,并说明理由。(4分)

(3)1949年丙湖面积有4350平方千米,由于泥沙淤积和大量围垦,到1997年其面积只有2691平方千米,缩小了近40%。试分析洞庭湖面积不断缩小对周围自然环境产生的不利影响,并说明针对该问题应采取的主要措施。(5分)

(4)据统计,乙地区在一年中地表蒸发量最大的月份是8月,说明其主要原因。(3分)

(5)简析图示区域酸雨严重的原因。(2分)

试题详情

28. 日照时数是指每天从日出到日落之间太阳直接照射到地面上的实际日照时数,以小时为单位。下图是我国部分地区年日照时数等值线图,读图回答下列问题。(9分)

(1) 昆明与成都的年日照时数差值约为  小时。(1分)

(2)简要分析昆明年日照时数与贵阳年日照时数的差异。(4分)

 (3) 图示B地区在一年中 ≥10℃的日数多于A地区,但积温反而低于A地区,分析其原因。(4分)

试题详情

26.读甲、乙两幅区域图,完成下列问题。(13分)

(1)比较甲、乙两图所示区域内的相关内容,完成下列表格。(8分)

 

 

 
自然带类型
 
 
 
主要气象灾害
暴雨洪涝、干旱
寒潮
主要气象灾害形成原因
 
 
主要农业地域类型
 
 

 (2)比较A城市与芝加哥两城市兴起和发展的交通区位条件的异同点。(5分)

城市
A
芝加哥
 
相同点
 
 
 
 
 
不同点
 
 
 
 
 
 

试题详情

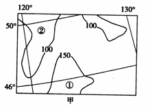
当地面或物体表面温度在0℃以下时,空气中的水汽会在其表面凝结成白色结晶,称为霜。一般把入秋后最早出现的一次霜叫初霜,而入春后最末出现的一次霜叫终霜。一年中,终霜后至初霜前的这段时间叫无霜期。下面是两地无霜期等值线图(单位:日)。读图回答24-25题。

24.乙地比甲地无霜期长的原因是乙地

A.纬度比甲地低   B.地势起伏比甲地大  C.海拔比甲地低  D.气候海洋性比甲地强

25.甲图中①、②两地无霜期差值T范围是

A.100<T<150      B.50<T<150 

C.150<T<200     D.50<T<100

试题详情

下图是“沿106.5°E经线的地形剖面及相关气候资料图”,据图回答22-23题。

22.图中③地形区的名称为      

  A.渭河谷地      B.汉中谷地      C.四川盆地     D.黄土高原

23.1月,④地气温高于①地的原因除纬度因素外,主要是因为④地

  A.海拔较高  B.受夏季风影响较大  C.森林覆盖率高  D.受冬季风影响较小

试题详情

21.影响下图中A处等值线向北凸出的主要因素是

A.纬度  B.地形 C.大气环流 D.洋流

试题详情

读下图中①、②、③、④四图“两组同纬度地区等降水量线图”,回答17-20题。

17.①图和②图所示地区降水差异大的原因是

A.②图地区受台风影响      B.①图地区深处内陆

C.②图多对流雨         D.①图地区接受太阳辐射量大

18.③图所示地区

A.降水沿河谷方向递减,说明湿润气流从上游吹来

B.该区的河流夏季多东南风活动

C.降水分布受地形影响小

D.该区局部地点比同纬度地区降水量丰富

19.④图所示地区的主要农业地域类型为

A.外向型特色农业和水稻种植业   B.彩色农业   C.混合农业   D.乳畜业

20.②图所示地区和④图所示地区农业生产的区位因素主要差异是

A.水热条件   B.土壤条件   C.海陆位置   D.国家政策

试题详情

根据下表的气候资料,回答15-16题。

序号
最热月均温(0C)
最冷月均温(0C)
季节降水量(毫米)
3-5月
6-8月
9-11月
12-2月

15.5
-2.2
43
326
73
1

24.5
-10.7
68
380
110
45

20.9
9.5
134
614
255
34

26.2
-4.6
57.1
479
84
10.7

15.①-④地所在地形区对应正确的是

A.①华北平原 ②云贵高原 ③东北平原 ④雅鲁藏布江谷地

B.①雅鲁藏布江谷地 ②云贵高原 ③长江中下游平原 ④华北平原

C.①雅鲁藏布江谷地 ②东北平原 ③云贵高原 ④华北平原

D.①云贵高原 ②东北平原 ③华北平原 ④雅鲁藏布江谷地

16.四个地区适宜种植的农作物排序正确的是

A.①小麦 ②水稻 ③棉花 ④青稞  B.①青稞 ②甜菜 ③水稻 ④小麦

C.①青稞 ②小麦 ③水稻 ④油菜  D.①水稻 ②甜菜 ③小麦 ④油菜

试题详情

据右图回答13-14题。 

13.图示地区自然灾害频繁,发生在春季的主要有

①干旱    ②台风    ③凌汛    ④泥石流    ⑤寒潮

A.①②     B.①③⑤    

C.③④⑤    D.②③④

14.关于图中的叙述正确的是

A.该河段河流水与地下水是互相补给的关系

B.图中古冲积扇分布区土壤比较贫瘠

C.塑造该地貌形态主要外力作用是流水作用

D.夏半年该区有梅雨与伏旱现象

试题详情


同步练习册答案