0  254707  254715  254721  254725  254731  254733  254737  254743  254745  254751  254757  254761  254763  254767  254773  254775  254781  254785  254787  254791  254793  254797  254799  254801  254802  254803  254805  254806  254807  254809  254811  254815  254817  254821  254823  254827  254833  254835  254841  254845  254847  254851  254857  254863  254865  254871  254875  254877  254883  254887  254893  254901  447090 

7.河南省武陟一中2010届高三第一次月考一物体在外力的作用下从静止开始做直线运动,合外力方向不变,大小随时间的变化如图所示。设该物体在时刻相对于出发点的位移分别是,速度分别是,合外力从开始至时刻做的功是,从时刻做的功是,则:             (  AC  )

A.              B.

C.          D.

试题详情

6.贵州省兴义市清华实验学校2010届高三9月月考物体沿直线运动的v-t关系如图所示,已知在第1秒内合外力对物体做的功为W,则           ( CD )

A.从第1秒末到第3秒末合外力做功为4W。               

B.从第3秒末到第5秒末合外力做功为-2W

C.从第5秒末到第7秒末合外力做功为W

D.从第3秒末到第4秒末合外力做功为-0.75W

试题详情

5.河北省衡水中学2010届高三上学期第四次调研考试在2008北京奥运会上,俄罗斯著名撑杆跳运动员伊辛巴耶娃以5.05m的成绩第24次打破世界纪录。图为她在比赛中的几个画面。下列说法中正确的是( D )

 A.运动员过最高点时的速度为零;

 B.撑杆恢复形变时,弹性势能完全转化为动能;

 C.运动员要成功跃过横杆,其重心必须高于横杆;

 D.运动员在上升过程中对杆先做正功后做负功。

试题详情

4.广东省蓝田中学2010届高三摸底考试质量为m的小球,从离桌面H高处由静止下落,桌面离地高度为h,如图所示,若以桌面为参考平面,那么小球落地时的重力势能及整个过程中小球重力势能的变化分别为                       ( D  )

A.mgh,减少mg(H-h)     

B.mgh,增加mg(H+h)

C.-mgh,增加mg(H-h)    

D.-mgh,减少mg(H+h

试题详情

3.湖北省众望高中2010届高三周练质量为 m 的小球A,在光滑水平面以初动能Ek与质量为 2m 的静止小球 B 发生正碰,碰撞后 A 球停下,则撞后B球的动能为 (  B  )

A . 0     B . Ek/ 2     C .2Ek/3     D , Ek

试题详情

2.安徽省两地2010届高三第一次联考检测质量为m的物体,在距地面为h的高处,以g/3的恒定加速度由静止竖直下落到地面,下列说法中不正确的是( A  )

A.物体的重力势能减少mgh/3    

B.物体的机械能减少2mgh/3

C.物体的动能增加mgh/3      

D.重力做功mgh

试题详情

1.海南省海口市2010届高三调研测试质量为m的小球,从离地面高h处以初速度v0竖直上抛,小球能上升到离抛出点的最大高度为H,若选取该最高点位置为零势能参考位置,不计阻力,则小球落回到抛出点时的机械能是               (  A  )

A.0      B.mgH      C.     D.mgh

试题详情

30. 浙江省温州市十校联合体2010届高三期中联考如图所示,一个圆弧形光滑细圆管轨道ABC,放置在竖直平面内,轨道半径为R,在A 点与水平地面AD相接,地面与圆心O等高,MN是放在水平地面上长为3R、厚度不计的垫子,左端M正好位于A点.将一个质量为m、直径略小于圆管直径的小球从A处管口正上方某处由静止释放,不考虑空气阻力.

(1)若小球从C点射出后恰好能打到垫子的M端,则小球经过C点时对管的作用力大小和方向如何?

(2)欲使小球能通过C点落到垫子上,小球离A点的最大高度是多少?

解:(1)小球离开C点做平抛运动,落到M点时水平位移为R,竖直下落高度为R,根据运动学公式可得:

    运动时间              (2分)

C点射出的速度为

                       (2分)                     

设小球以v1经过C点受到管子对它的作用力为N,由向心力公式可得

                      (2分)       

,            

由牛顿第三定律知,小球对管子作用力大小为,方向竖直向下.  (1分)

(2)小球下降的高度最高时,小球运动的水平位移为4R,打到N点.

设能够落到N点的水平速度为v2,根据平抛运动求得:

                 (2分)

设小球下降的最大高度为H,根据机械能守恒定律可知,

                (2分)

                (2分)

题组三

试题详情

29.重庆八中2010届高三上学期第一次月考如图14所示,在同一竖直上,质量为2m的小球A静止在光滑斜面的底部,斜面高度为H=2L。小球受到弹簧的弹性力作用后,沿斜面向上运动。离开斜面后,运动到最高点时与静止悬挂在此处的小球B发生碰撞(碰撞过程无动能损失);碰撞后球B刚好能摆到与悬点O同一高度,球A沿水平方向抛射落在水平面C上的P点,O点的投影O'与P的距离为L/2。已知球B质量为m,悬绳长L,视两球为质点,重力加速度为g,不计空气阻力,求:

(1)球A在两球碰撞后一瞬间的速度大小;

(2)碰后在球B摆动过程中悬绳中的最大拉力;

(3)弹簧的弹性力对球A所做的功。

解:(1)设碰撞后的一瞬间,球B的速度为vB/,由于球B恰好与悬点O同一高度,根据动能定理:

   ①

      ②

球A达到最高点时,只有水平方向速度,与球B发生弹性碰撞.设碰撞前的一瞬间,球A水平方向速度为vx.碰撞后的一瞬间,球A速度为vx/.

球A、B系统碰撞过程中水平方向动量守恒、机械能守恒:

        ③

  ④

由②③④解得:     ⑤

         ⑥

故,.碰撞后的一瞬间,球A速度为   

(2) 球A在摆动过程中,在最低点绳的拉力最大,由牛顿定律:

    T-mg=m V’B V’B//L.

   所以  T=

(3)碰后球A作平抛运动.设从抛出到落地时间为t,平抛高度为y,则:

  ⑦

  ⑧

由⑤⑦⑧得:y=L

以球A为研究对象,弹簧的弹性力所做的功为W,从静止位置运动到最高点:

由⑤⑥⑦得:

W=mgL  

试题详情

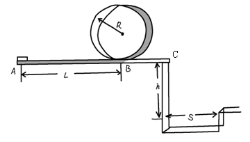
28. 贵州省开阳三中2010届高三10月月考某校物理兴趣小组决定举行遥控赛车比赛。比赛路径如图所示,赛车从起点A出发,沿水平直线轨道运动L后,由B点进入半径为R的光滑竖直圆轨道,离开竖直圆轨道后继续在光滑平直轨道上运动到C点,并能越过壕沟。已知赛车质量m=0.1kg,通电后以额定功率P=1.5w工作,进入竖直轨道前受到阻力恒为0.3N,随后在运动中受到的阻力均可不记。图中L=10.00m,R=0.32m,h=1.25m,S=1.50m。问:要使赛车完成比赛,电动机至少工作多长时间?(取g=10 m/s2)

 

解:本题考查平抛、圆周运动和功能关系。

设赛车越过壕沟需要的最小速度为v1,由平抛运动的规律

          

           

解得         

设赛车恰好越过圆轨道,对应圆轨道最高点的速度为v2,最低点的速度为v3,由牛顿第二定律及机械能守恒定律

           

           

解得            m/s

通过分析比较,赛车要完成比赛,在进入圆轨道前的速度最小应该是

              m/s

设电动机工作时间至少为t,根据功能原理

             

由此可得          t=2.53s

试题详情


同步练习册答案