0  267232  267240  267246  267250  267256  267258  267262  267268  267270  267276  267282  267286  267288  267292  267298  267300  267306  267310  267312  267316  267318  267322  267324  267326  267327  267328  267330  267331  267332  267334  267336  267340  267342  267346  267348  267352  267358  267360  267366  267370  267372  267376  267382  267388  267390  267396  267400  267402  267408  267412  267418  267426  447090 

9.如图所示,质量相等的甲、乙两物体开始时分别位于同一水平线

上的A、B两点.当甲物体被水平抛出的同时,乙物体开始自由下落.

曲线AC为甲物体的运动轨迹,直线BC为乙物体的运动轨迹,两轨迹

相交于C点,空气阻力忽略不计.则两物体(  )              

   A.在C点相遇           B.经C点时速率相等

   C.在C点时具有的机械能相等    D.在C点时重力的功率相等

第Ⅱ卷(非选择题 共54分)

试题详情

8.如图所示,质量为10kg的物体A拴在一个被水平拉伸的弹簧一端,弹簧的拉力为5N时,物体A 处于静止状态。若小车以1m/s2的加速度向右运动后,则(g=10m/s2)(     )

A.物体A相对小车仍然静止     

 B.物体A受到的摩擦力减小

C.物体A受到的摩擦力大小不变   

 D.物体A受到的弹簧拉力增大

试题详情

7.我国在今、明两年将发射10颗左右的导航卫星,预计在2015年建成由30多颗卫星组成的 “北斗二号”卫星导航定位系统,此系统由中轨道、高轨道和同步轨道卫星等组成。现在正在服役的“北斗一号”卫星定位系统的三颗卫星都定位在距地面36000km的地球同步轨道上。而美国的全球卫星定位系统(简称GPS)由24颗卫星组成,这些卫星距地面的高度均为20000km。则下列说法中正确的是

A.“北斗一号”系统中的三颗卫星的质量可以相等

B.GPS的卫星比“北斗一号”的卫星周期短

C.“北斗二号”中的每颗卫星一定比“北斗一号”中的每颗卫星的加速度大

D.“北斗二号”中轨道卫星的线速度小于高轨道卫星的线速度

试题详情

6.如图所示,在竖直方向的磁感应强度为B的 匀 强磁场中,金属框架ABCD固定在水平面内,AB与CD平行且足够长,BC与CD夹角,光滑导体棒EF(垂直于CD)在外力作用下以垂直于自身的速度V向右匀速运动,框架中的BC部分与导体棒在滑动过程中始终保持与导轨良好接触,经过C点瞬间作为计时起点,下列关于电路中电流大小I与时间t、消耗的电功率P与导体棒水平移动的距离x变化规律的图象中正确的是:AD

试题详情

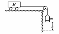
5.如图所示,把小车放在光滑的水平桌面上,用轻绳跨过定滑轮使之与盛有沙子的小桶相连,已知小车的质量为M,小桶与沙子的总质量为m,把小车从静止状态释放后,在小桶下落竖直高度为h的过程中,若不计滑轮及空气的阻力,下列说法中正确的是            (   )

A.绳拉车的力始终为mg

B.当M远远大于m时,才可以认为绳拉车的力为mg

C.小车获得的动能为mgh

D.小车获得的动能为 Mmgh/(M+m)

试题详情

4.图示为汽车蓄电池与车灯、启动电动机组成的电路,蓄电池内阻为0.05Ω,电表可视为理想电表。只接通S1时,电流表示数为10A,电压表示数为12V,再接通S2,启动电动机时,电流表示数变为8A,则此时通过启动电动机的电流是(   )

A.2A  B.8A    C.42A   D.50A

试题详情

3.如图所示,将小球甲、乙、丙(都可视为质点)分别从A、B、C三点由静止同时释放,最后都到达竖直面内圆弧的最低点D,其中甲是从圆心A出发做自由落体运动,乙沿弦轨道从一端B到达另一端D,丙沿圆弧轨道从C点运动到D,且C点很靠近D点。如果忽略一切摩擦阻力,那么下列判断正确的是:   

A.甲球最先到达D点,乙球最后到达D点

B.甲球最先到达D点,丙球最后到达D点

C.丙球最先到达D点,乙球最后到达D点

D.甲球最先到达D点,无法判断哪个球最后到达D点

试题详情

2.一定质量的理想气体处于平衡态I,现设法使其温度升高而压强减小达到平衡态II,则(   )

A.状态I时气体的密度比状态II时气体的密度小

B.状态I时分子的平均动能比状态II时分子的平均动能大

C.从状态I到状态II过程中气体要向外放热

D.从状态I到状态II过程中气体要对外做功

试题详情

1.铀239()经过衰变可产生钚239()。关于铀239的衰变,下列说法正确的是(   )                  

A.的核内具有相同的中子数和不同的核子数

B.放射性物质发生β衰变时所释放的电子来源于核外电子

C.经过2次β衰变产生   

D.温度升高,的半衰期减小

试题详情

22.(上海市浦东新区2010年4月高考预测理科)(本大题满分16分)本大题共有3个小题,第1小题满分4分,第2小题满分6分,第3小题满分6分.

设复数与复平面上点对应.

(1)若是关于的一元二次方程()的一个虚根,且,求实数的值;

(2)设复数满足条件(其中、常数

),当为奇数时,动点的轨迹为. 当为偶数时,动点的轨迹为. 且两条曲线都经过点,求轨迹的方程;

(3)在(2)的条件下,轨迹上存在点,使点与点的最小距离不小于,求实数的取值范围.

解:(1)是方程的一个虚根,则是方程的另一个虚根,……………………………………………………2分

,所以………………………………………………………………………2分

(2)方法1:①当为奇数时,,常数),

轨迹为双曲线,其方程为;……………………………………………………………2分

②当为偶数时,,常数),

轨迹为椭圆,其方程为;……………………………………………………………2分

依题意得方程组解得

因为,所以

此时轨迹为的方程分别是:.………………………………………2分

方法2:依题意得 ……………………………………………………2分

轨迹为都经过点,且点对应的复数

代入上式得,……………………………………………………………………………………………………2分

对应的轨迹是双曲线,方程为

对应的轨迹是椭圆,方程为.………………………………………2分

(3)由(2)知,轨迹,设点的坐标为

………………………………………2分

时,

时,,………………………………2分

综上 .……………………………………………………………………………………2分

试题详情


同步练习册答案