0  313404  313412  313418  313422  313428  313430  313434  313440  313442  313448  313454  313458  313460  313464  313470  313472  313478  313482  313484  313488  313490  313494  313496  313498  313499  313500  313502  313503  313504  313506  313508  313512  313514  313518  313520  313524  313530  313532  313538  313542  313544  313548  313554  313560  313562  313568  313572  313574  313580  313584  313590  313598  447090 

8、保持导轨之间接触良好,金属导轨的电阻不计。现经历以下四个过程:A (06全国1卷)

①以速度v移动d,使它与ob的距离增大一倍;②再以速率v移动c,使它与oa的距离减小一半;③然后,再以速率2v移动c,使它回到原处;④最后以速率2v移动d,使它也回到原处。

设上述四个过程中通过电阻R的电量的大小依次为Q1Q2Q3Q4,则

A.Q1=Q2=Q3=Q4        B.Q1=Q2=2Q3=2Q4

C.2Q1=2Q2=Q3=Q4       D.Q1Q2=Q3Q4

试题详情

7、老师做了一个物理小实验让学生观察:一轻质横杆两侧各固定一金属环,横杆克绕中心点自由转动,老师拿一条形磁铁插向其中一个小环,后又取出插向另一个小环,同学们看到的现象是B(08上海卷理科综合)

A.磁铁插向左环,横杆发生转动

B.磁铁插向右环,横杆发生转动

C.无论磁铁插向左环还是右环,横杆都不发生转动

D.无论磁铁插向左环还是右环,横杆都发生转动

试题详情

6、如图所示,平行于y轴的导体棒以速度v向右匀速直线运动,经过半径为R、磁感应强度为B的圆形匀强磁场区域,导体棒中的感应电动势ε与导体棒位置x关系的图像是A (08上海卷)

试题详情

5、如图所示,同一平面内的三条平行导线串有两个最阻Rr,导体棒PQ与三条导线接触良好;匀强磁场的方向垂直纸面向里。导体棒的电阻可忽略。当导体棒向左滑动时,下列说法正确的是B(08宁夏卷)

A.流过R的电流为由dc,流过r的电流为由ba

B.流过R的电流为由cd,流过r的电流为由ba

C.流过R的电流为由dc,流过r的电流为由ab

D.流过R的电流为由cd,流过r的电流为由ab

试题详情

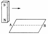
4、如图,粗糙水平桌面上有一质量为m的铜质矩形线圈.当一竖直放置的条形磁铁从线圈中线AB正上方等高快速经过时,若线圈始终不动,则关于线圈受到的支持力FN及在水平方向运动趋势的正确判断是D(08重庆卷)

A.FN先小于mg后大于mg,运动趋势向左

B.FN先大于mg后小于mg,运动趋势向左

C.FN先大于mg后大于mg,运动趋势向右

D.FN先大于mg后小于mg,运动趋势向右

试题详情

3、在沿水平方向的匀强磁场中,有一圆形金属线圈可绕沿其直径的竖直轴自由转动。开始时线圈静止,线圈平面与磁场方向既不平行也不垂直,所成的锐角为α。在磁场开始增强后的一个极短时间内,线圈平面B(08四川卷)

A.维持不动          B.将向使α减小的方向转动

C.将向使α增大的方向转动   D.将转动,因不知磁场方向,不能确定α会增大还是会减小

试题详情

2、如图,一个边长为l的正方形虚线框内有垂直于纸面向里的匀强磁场; 一个边长也为l的正方形导线框所在平面与磁场方向垂直; 虚线框对角线ab与导线框的一条边垂直,ba的延长线平分导线框.在t=0时, 使导线框从图示位置开始以恒定速度沿ab方向移动,直到整个导线框离开磁场区域.以i表示导线框中感应电流的强度,取逆时针方向为正.下列表示i-t关系的图示中,可能正确的是C(08全国2卷)

 

 

试题详情

1、矩形导线框abcd固定在匀强磁场中,磁感线的方向与导线框所在平面垂直,规定磁场的正方向垂直低面向里,磁感应强度B随时间变化的规律如图所示.若规定顺时针方向为感应电流I的正方向,下列各图中正确的是D(08全国1卷)

 

试题详情

15、某国2007年生产M商品10亿件,价值总额为100亿元。如果2008年从事M商品生产的劳动者数量增加10%,社会劳动生产率提高20%,其他条件不变,则2008年M商品的价值总额为?

试题详情

14、假设某国2007年生产M商品10亿件,单位商品的价格为10元,M商品价值总额和价格总额均为100亿元。如果2008年从事M商品生产的劳动者数量增加10%,社会劳动生产率提高10%,其他条件不变,则2008年M商品的价值总额和价格总额分别为?

试题详情


同步练习册答案