0  315670  315678  315684  315688  315694  315696  315700  315706  315708  315714  315720  315724  315726  315730  315736  315738  315744  315748  315750  315754  315756  315760  315762  315764  315765  315766  315768  315769  315770  315772  315774  315778  315780  315784  315786  315790  315796  315798  315804  315808  315810  315814  315820  315826  315828  315834  315838  315840  315846  315850  315856  315864  447090 

19.(8分)某军营进行体能训练,一战士先沿绳索攀爬到最高点而后由静止沿绳索下滑,若下滑过程中先以加速度a匀加速下滑一段时间,然后再匀速滑到地面,落地时的速度为v,整个下滑过程所用时问为t,求绳索的长度.

试题详情

18.在“研究匀变速直线运动”的实验中,打点计时器使用50Hz交流电源,记录小车做匀变速运动的纸带如图所示,在每相邻的两计数点中间都有四个点未画出,在纸带上按时间顺序取0-6的7个点,用刻度尺量出l、2、3、4、5、6点到0点的距离分别是(单位:cm)8.78、16.08、21.87、26.16、28.94、30.22.则可得出小车加速度大小为       m/s.打计数点3时纸带的瞬时速度为       m/s.(均保留三位有效数字)

试题详情

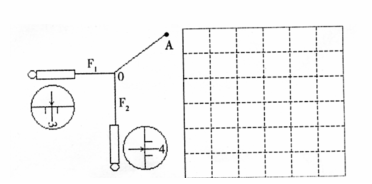
17.将橡皮筋的一端固定在A点,另一端拴上两根细绳,每根细绳分别连着一个量程为5N、最小刻度为0.1N的弹簧秤,沿着两个不同的方向拉弹簧秤,当橡皮筋的活动端拉到0点时,两根细绳相互垂直,如图所示,这时弹簧秤的读数可从图中读出

  (1)由图可读得两个相互垂直的拉力的大小F1、F2分别为      N和       N;

(只需读到0.1N)

  (2)在本题的虚线方格纸上按作图法的要求,画出这两个力及它们的合力.

试题详情

16.某同学在“探究弹力与弹簧伸长的关系”的实验中,得出弹簧弹力与弹簧总长的函数式为F=k(L-L0),式中k为      ,L为      ,L0     

试题详情

15.在用图所示装置做“探究功与速度变化的关系”的实验时.可通过改变      改变拉力做功的数据,利用      可测定小车的速度。

试题详情

14.如图1所示,光滑直角金属杆处在竖直面内,它的两

端MN固定在同一水平面上,且右半部分ON较左半

部分MO长一些。套在杆上的小圆环从M端开始以

初速度v0向上运动,到达最高点O时速度恰好为零,

并立即向N端滑去,若以v、s、a、Ek分别表示圆

环的速度、位移、加速度和动能四个物理量的大小,

图2中能够正确反映小球自M点到N点运动过程

的是                   (   )

第Ⅱ卷(非选择题。共58分)

试题详情

13.如图所示,物体P与竖直放置的轻质弹簧相连处于静止状态,现对P施一竖直向上的拉力F,使其向上运动至弹簧恢复原长的过程中              (   )

     A.力F对物体做的功等于物体动能的增量

     B.力F对物体做的功等于物体动能和重力

势能的增量之和

     C.力F与弹簧力对物体做功之和等于物体

动能和重力势能的增量之和

     D.力F做的功等于整个系统机械能的增量

试题详情

12.如图所示,电场中有A、B两点,则下列说法中正确的是             (   )

     A.电势电场强度

     B.电势电场强度

     C.将电荷+q从A点移到B点电场力做正功

     D.将电荷-q从A点移到B点电势能增加

试题详情

11.如图所示的塔吊臂上有一个可以沿水平方向运动的小车A,小车下装有吊着物体B的吊钩.在小车A与物体B以相同的水平速度沿吊臂方向匀速运动的同时,吊钩将物体B向上吊起.A、B之间的距离以d=H一2t

(SI)(SI表示国际单位制,式中H为吊

臂离地面的高度)规律变化.则物体B做                     (   )

     A.匀速直线运动

     B.匀加速直线运动

     C.匀减速直线运动

     D.曲线运动

试题详情

10.一辆空车和一辆满载货物的同型号的汽车,在同一路面上以相同的速度向同一方向行驶,紧急刹车后若车轮不滚动只滑动,那么                       (   )

     A.满载货物的车由于惯性较大,其滑行距离也较大 

     B.满载货物的车由于受的摩擦力较大,其滑行距离较小

     C.两辆车滑行的距离相同

     D.两辆车滑行的时间相同

试题详情


同步练习册答案