0  316602  316610  316616  316620  316626  316628  316632  316638  316640  316646  316652  316656  316658  316662  316668  316670  316676  316680  316682  316686  316688  316692  316694  316696  316697  316698  316700  316701  316702  316704  316706  316710  316712  316716  316718  316722  316728  316730  316736  316740  316742  316746  316752  316758  316760  316766  316770  316772  316778  316782  316788  316796  447090 

28.(16分)

    下图为某动物细胞分裂图像,请据图分析回答:

     (1)图中细胞B在进行        分裂,此时细胞中的染色体数为       条。细胞C叫做            。具有同源染色体的是图中        细胞(填字母)。细胞A的一个染色体组所包含的染色体是         。(填标号)

    (2)请在方框内画出E细胞分裂后期简图。

    (3)如果P为X染色体。则Q一定不是Y染色体,其原因是           

                                        

    (4)染色体P和Q上的基因,在亲子代传递过程中将遵循           定律。这是其中一种类型的基因重组,基因重组的另一种类型发生在减数分裂形成     的时期。

试题详情

26,(16分)

    下图的A、B、C、D是4种不同类型的细胞某些结构图,请据图回答下列问题:

     (1)A-D图中,图      是幽门螺杆菌结构模式图,其区别于酵母菌的最主要的结构特点是                

    (2)A~D图所示细胞中一定能进行光合作用的是         (填代号)。

    (3)B细胞的某种分泌蛋白,在核糖体中合成之后,按照             (用箭头和结构名称表示)的方向运到细胞外。

    (4)与B细胞相比,A细胞中特有的能产生ATP的结构是[   ]     

    (5)图A中[4]和[6]两种具膜结构的细胞器为适应各自的功能,都有增大膜面积的方式,它们分别是                       

    (6)要研究图B所示分泌蛋白的分泌过程,一般采用的研究力法是        

    (7)若图B细胞表示动物胰脏内的细胞,①可能为               

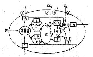
27.(15分)

    下图是某植物叶肉细胞内发生的生理过程,请据图分析回答;

     (1)图中D、G所代表的物质分别是        和       

     (2)该细胞中B物质的生成场所是                 

     (3)在夏季光照较强的上午.从O2、CO2进出细胞的角度分忻指出图①②③④中不合理的是                。(填写标号) 

    (4)参与图中所示生理过程的物质A在细胞内的存在形式是           

     (5)叶绿素合成与光照有关,某生物兴趣小组为了验证这一结论,利用刚萌发的绿豆种子及其他用具,设计并进行实验,请补充完成相关实验步骤:

  ①取刚萌发的绿豆种子,平均分为两组,分别编号为A、B:  

  ②                                    

③培养一段时间后                             

实验结果:A组幼苗变绿  B.组幼苗不变绿。   实验结论,叶绿素的合成需要光。

试题详情

25.下列是生物学发展史上的几个重要实验,实验中应用了反射性同位素示踪技木的是

     A.巴斯德发现酿酒中的发酵是由于酵母细胞的存在

     B.摩尔根用果蝇做实验证明基因在染色体上 

     C.赫尔希和蔡斯的噬菌体侵染细菌实验 

     D.验证光合作用释放的氧全部来自水

试题详情

24.下图为甲、乙、丙、丁4种遗传性疾病的调查结果,根据系谱图分析、推测这4种疾病肯定是常染色体遗传病的是 

    A.系谱甲          B.系谱乙          C.系谱丙          D.系谱丁

试题详情

23.下列离子方程式书写正确的是

   A.向NaOH溶液中通入过量的CO2气体:

   B.在氯化亚铁溶液中滴入几滴氯水:

   C.偏铝酸钠溶液中加入过量盐酸:

   D.向碳酸氢钙溶液中滴入过量澄清石灰水:

试题详情

22、混合下列各组物质使之充分反应,加热蒸干产物并在300℃灼烧至质量不变,最终残留固体为纯净物的是 

     A.向溶液中加入过量铁粉 

   B.在NaBr溶液中通入过量氯气

   C.等物质的量浓度、等体积的 溶液

    D.等物质的量的固体

试题详情

21.一有固定斜面的小车在水平面上做直线运动,小球通过细绳与车顶相连.小球某时刻正处于图示状态.设斜面对小球的支持力为N,细绳对小球的拉力为T,关于此时此刻小球的受力情况,下列说法正确的是

    A.若小车向左运动,N可能为零

     B.若小车向左运动,T可能为零

   C.若小车向右运动,N不可能为零

   D.若小车向右运动,T不可能为零

试题详情

20. 如图所示,A、B两条直线是A、B两地分别用竖直向上的力F拉质量分别为的两个物体得到的加速度与力之间的图线,分析图线可知,下列说法中正确的是

A.比较两地的重力加速度,有

    B.比较两物体的质量,有

    C.比较两地的重力加速度,有

    D.比较两物体的质量,有

试题详情

19.如图所示;竖直光滑杆上套有一个小球和两根轻弹簧。两弹簧的一端各与小球相连,另一端分别用销钉M,N固定于杆上:小球处于静止状态。设拔去销钉M瞬间,小球加速度的大小为12m/s2,若不拔去销钉M而拔去销钉N瞬间,小球的加速度可能是(取).

    A.22m/s2,竖直向上  

    B.22m/s2,竖直向下

C.2m/s2,竖直向上

D.2m/s2,竖直向下

试题详情

18.如熙所示A,B两木块放在水平面上,它们用细线相连两次连接情况中细线倾斜方向不同但倾角一样.两木块与水平面间的摩擦系数相同,先后用水平力Fl和F2拉着A,B一起匀速运动.则

    A.       B.        C.      D.

试题详情


同步练习册答案