0  317883  317891  317897  317901  317907  317909  317913  317919  317921  317927  317933  317937  317939  317943  317949  317951  317957  317961  317963  317967  317969  317973  317975  317977  317978  317979  317981  317982  317983  317985  317987  317991  317993  317997  317999  318003  318009  318011  318017  318021  318023  318027  318033  318039  318041  318047  318051  318053  318059  318063  318069  318077  447090 

3.分析下列甲、乙、丙三图,说法正确的是

A.若图甲曲线表示的是阴生植物的光合速率受光照强度的影响,则阳生植物的曲线与此比较,b点向左移,c点向右移

B.在图乙中光照强度相同时,t2℃植物净光合作用最大

C.若图丙代表两类色素的吸收光谱,则f代表类胡萝卜素

D.用塑料大棚种植蔬菜时,应选用绿色的塑料大棚

试题详情

2. 甲状腺细胞可以将氨基酸和碘合成甲状腺球蛋白,并且将甲状腺球蛋白分泌到细胞外,其过程如下图所示。下列叙述错误的是               

A.若含18O的氨基酸在甲状腺细胞内的代谢过程中产生了H218O,那么水中的18O最可能来自于氨基酸的-COOH

B.细胞内的碘浓度远远高于血浆中的碘浓度,这表明a是主动运输过程

C.与c过程有关的细胞器是内质网、高尔基体、线粒体

D.用含3H标记的氨基酸注射到该细胞中,则出现3H的部位依次为③①②⑥④

试题详情

1.下列叙述中,正确的是

A.硝化细菌、霉菌、支原体的细胞都有细胞壁

B.有线粒体的细胞不一定进行有氧呼吸,但进行有氧呼吸的细胞一定含线粒体

C.人体骨骼肌细胞能合成多糖,也能通过无氧呼吸产生酒精

命题人
张  顶

D.细胞膜功能的复杂程度,主要取决于膜上的蛋白质的种类和数量

试题详情

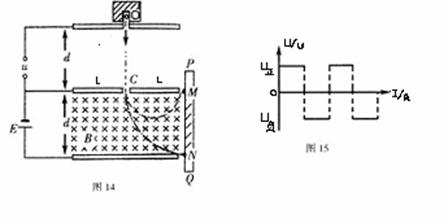
14.(16分)利用电场和磁场的共同作用可以控制带电粒子的运动轨迹和运动形式。在某个探究实验室中,设计了如图14所示的装置,上中下三块长度均为2L的金属电极板平行等距正对放置,已知L=5㎝,相邻两板间相距均为d=10cm,上面两金属板正中有小孔,紧贴上板小孔有一个带电粒子发生器,可从小孔O处不断输出带电粒子(初速度较小可忽略不计),粒子的比荷为 q/m=10-2c/kg 。在上面两板间加周期性变化的方波电压(周期很大,远大于粒子运动时间),如图15所示,在下面两板间接入直流电源,电动势一定,同时该区域有垂直向里的匀强磁场,磁感应强度为B=1.6×10-3T,整个装置处于真空中。若带电粒子离开O点后,沿直线向下穿过中板中间的小孔C后恰好能在该区做匀速圆周运动,下面两板的右端紧靠着竖直的接收屏PQ,由于上两板间方波电压的作用,带电粒子恰好可以控制在经过两极板边缘的两条圆弧之间,最后打在紧靠两板末端边缘上的屏上的M、N两点及其之间,重力加速度为g=10m/s2

(1)直流电源的电动势E=?

(2)带电粒子在C点的最大速度v和最小速度v分别是多少?

(3)若最上板电压为正时规定为正向电压,则方波电压坐标的正值U和负值U分别是多少?

15(16分).如图所示,两条“^”形足够长的光滑金属导轨PME和QNF平行放置,两导轨间距L=1m,导轨两侧均与水平面夹角a=37o,导体棒甲、乙分别放于MN两边导轨上,且与导轨垂直并接触良好,两导体棒的质量均为m=0.1kg,电阻也均为R=1Ω,导轨电阻不计,MN两边分别存在垂直导轨平面向上的匀强磁场,磁感应强度大小均为B=1T.设导体棒甲、乙只在MN两边各自的导轨上运动,

(sin37o =0.6,cos37o =0.8,g=10m/s2)

(1)将乙导体棒固定,甲导体棒由静止释放,问甲导体棒的最大速度为多少?

(2)若甲乙两导体棒同时由静止释放,问两导体棒的最大速度为多少

(3)若仅将乙导体棒的质量改为m'=0.05kg,电阻不变,在乙导体棒由静止释放的同时,让甲导体棒以初速度v0=0.8m/s 沿导轨向下运动,问在时间t=1s内电路中产生的电能为多少?

 

试题详情

13.(12分)2009年11月26日,我国海军171海口号、169武汉号导弹驱逐舰和微山湖号补给舰为履行国际义务,奉命赴亚丁湾索马里海域,开始对过往船只执行护航任务。某日清晨,海面上有薄雾,一艘某国的货轮正在匀速行驶,到达A处时,船长突然发现后侧面不远处,有海盗的快艇正在向他们靠近,并预计还有40min就会追上货船,于是立即向在C处海域执行任务的我国某驱逐舰发出求援信号,我官兵立即推算出40min后的货船位置应在D处,马上调好航向,沿CD直线方向从静止出发,恰好在40min内到达D处,如图12所示,驱逐舰运动的速度、时间图如图13所示,求:

(1)驱逐舰走的航线CD的长度。

 (2)假设该驱逐舰以最大速度航行时,轮机输出的总功率为2.5×103kW。则驱逐舰受海水的阻力有多大?

(3)假设舰体受海水的阻力不变,舰体质量为7000吨,则在第36分钟时,轮机通过涡轮对海水的推力为多大?方向如何?

      

试题详情

12.(10分)荡秋千是大家喜爱的一项体育运动。随着科技迅速发展,将来的某一天,同学们也会在其它星球上享受荡秋千的乐趣。假设你当时所在星球的质量是M、半径为R,可将人视为质点,秋千质量不计、摆长不变、摆角小于90°、不计阻力,万有引力常量为G。那么,

(1)该星球表面附近的重力加速度等于多少?

(2)若经过最低位置的速度为v0,你能上升的最大高度是多少?

试题详情

11.(16分)在“测定一节干电池电动势和内阻”的实验中:

(1)第一组同学利用如图a的实验装置测量,电压表应选择量程      (选填“3V”或“15V”),实验后得到了如图b的U-I图像,则电池内阻为     Ω。(电压表、电流表均为理想电表)。

(2)第二组同学也利用图a的连接测量另一节干电池,初始时滑片P在最右端,但由于滑动变阻器某处发生断路,合上电键后发现滑片P向左滑过一段距离x后电流表有读数,于是该组同学分别作出了电压表读数U与x、电流表读数I与x的关系图,如图c所示,则根据图像可知,电池的电动势为      V,内阻为       Ω。

 

试题详情

10.如图所示,质量为m的物体带正电Q在斜面上处于静止状态,物体与斜面均在匀强电场内,匀强电场E方向水平向右。当斜面的倾角θ逐渐增大(θ<90°),而该带电体仍静止在斜面上时,(   )

  A.物体所受合外力为零。

  B.物体所受静摩擦力的方向可能会改变180°。

  C.物体的重力势能逐渐增大,电势能逐渐减小。

  D.物体的重力势能逐渐增大,电势能逐渐增大。

第Ⅱ卷 ( 非选择题:共70分)

试题详情

9.如图所示电路中,电源的电动势为E,内电阻为r,当滑动变阻器的滑片P由a向b滑动的过程中,电流表、电压表的示数变化情况是(  )

  A.电流表示数一直减小,电压表示数一直增大

  B.电流表示数一直增大,电压表示数一直减小

  C.电流表示数先增大后减小,电压表示数先减小后增大

  D.电流表示数先减小后增大,电压表示数先增大后减小

试题详情

8.欧姆在探索通过导体的电流和电压、电阻关系时由于无电源和电流表,他就利用金属在冷水和热水中产生电动势代替电源,用小磁针的偏转检测电流,具体做法是:在地磁场作用下处于水平静止的小磁针上方,平行于小磁针水平放置一直导线,当该导线中通有电流时,小磁针会发生偏转;当通过该导线电流为I时,小磁针偏转了30°,问当他发现小磁针偏转了60°,通过该直导线的电流为(已知直导线在某点产生的磁场与通过直导线的电流成正比(   )

    A.2I        B.I     C.3I       D. I

试题详情


同步练习册答案