0  362085  362093  362099  362103  362109  362111  362115  362121  362123  362129  362135  362139  362141  362145  362151  362153  362159  362163  362165  362169  362171  362175  362177  362179  362180  362181  362183  362184  362185  362187  362189  362193  362195  362199  362201  362205  362211  362213  362219  362223  362225  362229  362235  362241  362243  362249  362253  362255  362261  362265  362271  362279  447090 

17.(12分)如图18所示 ,质量,上表面光滑的足够长的木板在水平拉力的作用下,以的初速度沿水平地面向右匀速运动,现有足够多的小铁块,它们质量均为m=1kg,将一铁块无初速地放在木板最右端,当木板运动了时,又无初速地在木板最右端放上第二个铁块,以后只要木板运动了L就在木板最右端无初速放一铁块(m/s2)。求:

(1)第一个铁块放上后,木板运动1m时,木板的速度多大?

(2)最终有几个铁块能留在木板上?

(3)最后一个铁块与木板右端距离多大?

试题详情

16.(10分)如图17所示,在足够长的光滑水平面上,放置一长为L=1m、质量为的木板A,一质量为的小物体B以初速度滑上A的上表面,AB之间的动摩擦因数为m/s2

(1)当B刚从A上滑落时,AB的速度分别是多大?

(2)为使B不从木板A的右端滑落,当B滑上A时,在A的右端始终施加一个水平向右的恒力F,求F的大小应满足的条件。

试题详情

15.(10分)如图16所示,在同一竖直平面内两正对着的相同半圆光滑轨道,相隔一定的距离,虚线沿竖直方向,一小球能在其间运动,今在最低点与最高点各放一个压力传感器,测试小球对轨道的压力,并通过计算机显示出来,当轨道距离变化时,测得两点压力差与距离的图象如右下图所示。(不计空气阻力,g 取m/s2)求:

(1)小球的质量;

(2)相同半圆光滑轨道的半径;

(3)若小球在最低点B的速度为20m/s,为使

小球能沿光滑轨道运动,的最大值。

试题详情

14.(1)图14中;游标卡尺的示数是     mm。

        螺旋测微器的示数是       mm。

(2)在“验证机械能守恒定律”的实验中:

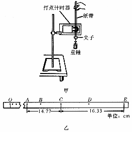
①某同学用图15甲所示装置进行实验,得到如图15乙所示的纸带,测出点A,C间的距离为14.77cm,点C,E间的距离为16.33cm,已知当地重力加速度为9.8m/s2,重锤的质量为,则重锤在下落过程中受到的平均阻力大小    

②某同学上交的实验报告显示重锤增加的动能略大于重锤减少的重力势能,则出现这一问题的原因可能是       (填序号)。

A.重锤的质量测量错误                 B.该同学自编了实验数据

C.交流电源的频率不等于50HZ        D.重锤下落时受到的阻力过大

试题详情

13.某同学在做平抛运动实验时得以了如图13所示的物体运动轨迹,abc三点的位置在运动轨迹上已标出。则:

(1)小球平抛的初速度为     m/s。(g取10m/s2)

(2)小球开始做平抛运动的位置坐标为       cm,

     cm。

(3)小球运动到b点的速度为      m/s。

试题详情

12.如图12所示,轮子的半径均为R=0.20m,且均由电动机驱动以角速度逆时针匀速转动,轮子的转动轴在同一水平面上,轴心相距d=1.6m,现将一块均匀木板轻轻地平放在轮子上,开始时木板的重心恰好在轮的正上方,已知木板的长度L>2d,木板与轮子间的动摩擦因数均为=0.16,则木板的重心恰好运动到轮正上方所需的时间是(   )

A.1s                               B.0.5s     

C.1.5s                              D.条件不足,无法判断

试题详情

11.如图11所示,一个下面装有轮子的贮气瓶停放在光滑的水平地面上,左端与竖直墙壁接触,现打开右端阀门K,气体往外喷出,设喷口面积为S,气体密度为,气体往外喷出的速度为,则气体刚喷出时钢瓶左端对竖直墙的作用力大小是(   )

A.               B.           

C.         D.

试题详情

10.质量为1.0kg的物体,以某初速度在水平面上滑行,由于摩擦阻力的作用,其动能随位移变化的情况如图10所示,有下列判断(g=10m/s2)正确的是(   )

A.物体与水平面间的动摩擦因数为0.25

B.物体与水平面间的动摩擦因数为0.30

C.物体滑行的总时间是2.0s

D.物体滑行的总时间是4.0 s

试题详情

9. ab两车在两条平行的直车道上同方向行驶,它们的图象如图9所示,在时刻,两车间距离为d的时刻它们第一次相遇,关于两车之间的关系,下列说法正确的是(   )

A.的时刻两车第二次相遇         

B.的时刻两车第二次相遇

C.在5~15s的时间内,先是a车在前,而后是b车在前

D.在10~15s的时间内,两车间距离逐渐变大

试题详情

8. 若某行星的质量是地球质量的6倍,半径是地球半径的1.5倍,则此行星的第一宇宙速度约为(   ) 

A.2 km/s           B.4 km/s          

C.32 km/s          D.16 km/s

试题详情


同步练习册答案