0  370596  370604  370610  370614  370620  370622  370626  370632  370634  370640  370646  370650  370652  370656  370662  370664  370670  370674  370676  370680  370682  370686  370688  370690  370691  370692  370694  370695  370696  370698  370700  370704  370706  370710  370712  370716  370722  370724  370730  370734  370736  370740  370746  370752  370754  370760  370764  370766  370772  370776  370782  370790  447090 

2.磷元素单质及化合物性质记忆不清,解有关习题时容易出错。

试题详情

1.对氮族元素原子结构特点理解不清,对同主族元素性质相似性、递变性理解不到位,不能灵活运用同主族元素性质相似性、递变性规律解题。

试题详情

10.2.1克Cu与100mL的1.0mol/L稀硝酸完全反应。计算生成NO多少升(标准状况)。反应消耗硝酸的物质的量是多少?(写出计算过程)

(此题考查过量计算的计算技能)

第26课时  氮族元素  氮和磷(B卷)

易错现象

试题详情

8. NO分子因污染空气而臭名昭著。近年来,发现少量的NO在生物体内许多组织中存在,它有扩张血管、免疫、增强记忆的功能,而成为当前生命科学的研究热点,NO亦被称为“明星分子”。请回答下列问题。

(1)NO对环境的危害在于          (填以下项目的编号)

A.破坏臭氧层  B.高温下能使一些金属被氧化

C.造成酸雨    D.与人体血红蛋白结合

(2)在含Cu+ 离子的酶活化中心中,亚硝酸根离子

(NO2)可转化为NO,写出Cu+和亚硝酸根离子在酸性水溶液中反应的离子方程式:                   

(3)在常温下,把NO气体压缩到100个大气压,在一个体积固定的容器里加热到50℃,发现气体的压力迅速下降,压力降至略小于原压力2/3就不再改变,已知其中一种产物为N2O,写出上述变化的化学方程式:                        

(4)解释变化(3)中为什么最后的气体总压力小于原压力的2/3           

(此题属于信息题,一般认为NO是有害气体,此题告诉人们它对人也有有用的一面。考查根据客观事实写方程式的能力。)

9(96年上海高考题).实验室常用饱和NaNO2和NH4Cl溶液反应制取纯净的氮气。反应式为:

NaNO2 + NH4Cl == NaCl + N2↑+2H2O↑+ Q实验如下图

试回答:

(1)  装置中A部分的分液漏

斗与蒸馏烧瓶之间连接的导

管所起的

作用是(   )。

a.    防止NaNO2饱和溶液蒸

b.保证实验装置不漏气  

c.NaNO2饱和溶液容易滴下

(2) B部分的作用是(    )

a. 冷凝   b. 冷却氮气   c. 缓冲氮气流

(3) 加热前必须进行一个操作步聚是: _      ;加热片刻后,即应移去酒精灯以防反应物冲出,其原因是: _            。

(4)收集N2前必须进行的步聚是:    ;收集N2最适宜的方法是(   )。

a.    用排气法收集在集气瓶中

b.    用排水法收集在集气瓶中  

c.直接收集在球胆或塑料袋中

试题详情

7.右图为装有活塞的密闭容器,内盛22.4ml的一氧化氮,若通入11.2L氧气(气体体积均在标准状况下测定)保持温度和压强不变 ,则容器内的密度

A.  等于1.369克/升  

B.等于2.054克/升

C.在1.369克/升和2.054克/升之间 

D 大于2.054克/升   

(此题考查密度的计算技能及极值法的应用。)

试题详情

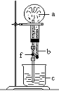
6.在下图装置中,烧瓶中充满干燥气体a,将滴管中的液体b挤入烧瓶内,轻轻振荡烧瓶,然后打开弹簧夹f,烧杯中的液体b呈喷泉状喷出,最终几乎充满烧瓶.则a和b分别是 (   )

(此题考查NH3、NO2、CO2等形成喷泉的实验,要求掌握喷泉实验形成的原理,从物理有关知识理解。)

试题详情

5.在NO2与水的反应中,水                               [   ]

A.是还原剂    B.是氧化剂

C.既是氧化剂又是还原剂

D.既不是氧化剂又不是还原剂

(此题考查NO2与水的反应,该反应中NO2一部分做氧化剂,一部分做还原剂,属于歧化反应。)

试题详情

4.常温下,在密闭容器中将物质的量相同的下列各组气体混合,完全反应后容器中压强没有发生变化的是

A、H2S和SO2   B、NO和O2  

   C、HI和Cl2    D、H2S和Cl2

(此题是元素化合物知识的综合题,考查硫、氮、氯等性质,阿伏加得罗定律推论的运用)

试题详情

3.某金属的硝酸盐加热分解生成的NO2和O2的物质的量之比8:1。在加热过程中,该金属元素的化合价

A、降低     B、升高   

C、不变     D、无法确定

(此题看似超纲,需要硝酸盐的分解知识,但实际是考查运用氧化还原反应知识解决问题的能力,氧化还原反应中化合价生降总数必相等。)

试题详情

2、工业废气中氮氧化物是主要的大气污染源之一。

已知2NO2+2NaOHNaNO3+NaNO2+H2O,NO2+NO+2NaOH2NaNO2+H2O。现有a mol NO2和b mol NO的混合气,若用足量的NaOH溶液将其完全吸收,则混合气中两种气体的物质的量必须满足的关系是

A、a=b/3    B、2a=b  

 C、a≥b    D、a<b

(此题是信息题,考查接受信息的能力,解决问题的能力)

试题详情


同步练习册答案