题目列表(包括答案和解析)

 0  169106  169114  169120  169124  169130  169132  169136  169142  169144  169150  169156  169160  169162  169166  169172  169174  169180  169184  169186  169190  169192  169196  169198  169200  169201  169202  169204  169205  169206  169208  169210  169214  169216  169220  169222  169226  169232  169234  169240  169244  169246  169250  169256  169262  169264  169270  169274  169276  169282  169286  169292  169300  447348 

6、关于机械能,下列说法正确的是[  ]

A.物体的机械能守恒时,一定只受到重力和弹力的作用

B.物体处于平衡状态时机械能一定守恒

C.在重力势能和动能的转化中,物体除受重力外还受其他力时,其机械能可能守恒

D.物体重力势能和动能之和增大时,必定有重力以外的力对它做了功

试题详情

5、质量为m的质点从距水平地面H高处做平抛运动,初速度是,从抛出到它下降了高度h的过程中(不计空气阻力)[   ]

A.重力对质点做的功  B.重力对质点的冲量

C.质点速度增量的大小等于  D.质点机械能的增量等于

试题详情

4、图中AD为光滑斜面,ABC为光滑弧面,且AD=ABC.现有两小球a和b从A点分别沿两面由静止滑下.若已知到达底面时,小球速度大小相等,则小球达到底面时间应有[ ]

A.         B. =

C.         D.上述答案都有可能

试题详情

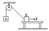
3、如图所示,物体A和B质量均为m,且分别与轻绳连接跨过定滑轮,当用力拉B沿水平面向右作匀速运动的过程中,绳对A的拉力大小[ ]

A.大于mg    B.小于mg

C.总等于mg  D.由大于mg逐渐变为小于mg

试题详情

2、两物体质量之比,初速之比,在相同的阻力作用下,最后停止运动,则它们通过的路程S1、S2和经历的时间t1,t2之间有下述关系 [ ]

A.       B.

C.       D.

试题详情

1、如图所示.质量为M的斜面放在水平地面上,质量为m的物体放在斜面上,m与M,M与水平地面之间均有摩擦.当m沿斜面运动时,M一直处于静止,为使地面对M的摩擦f的方向向左,,则应 [ ]

A.m沿斜面匀速下滑    B.m沿斜面加速下滑

C.m沿斜面减速下滑    D.以上答案都不对

试题详情

25.(20分)带有等量异种电荷的两个金属板A和B水平放置,相距为d(d远小于板的长和宽),一个带正电的油滴M悬浮在两板的正中央,处于平衡,油滴的质量为m,带电量为q,如图所示。在油滴的正上方距A板d处有一个质量也为m的带正电的油滴N,油滴N由静止释放后,可以穿过A板上的小孔,进入两金属板间与油滴M相碰,并立即结合成大油滴(设在碰撞瞬间不考虑重力、电场力的影响)整个装置处于真空环境中,如不计油滴M、N间的库仑力和万有引力以及金属板的厚度,要使油滴N能与M相碰,且结合成大油滴(油滴可视为质点)又不至于与金属板B相碰。求:

(1)两个金属板A、B间的电压是多少?哪一个板的电势较高?

(2)油滴N所带电量的范围是多少?

试题详情

24.(16分)如图所示,A、B是系在绝缘细线两端,带有等量同种电荷的小球,其中mA=0.3kg,细线总长为58cm,现将绝缘细线通过O点的光滑定滑轮,将两球悬挂起来,两球平衡时,OA的线长等于OB的线长,A球依于光滑绝缘竖直墙上,B球悬线OB偏离竖直方向600角,求:

(1)B球的质量;

(2)细绳中的拉力大小

试题详情

23.(15分) 如图所示,将楔木块放在光滑水平面上靠墙边处并用手固定,然后在木块和墙面之间放入一个小球,球的下缘离地面高度为H,木块的倾角为,球和木块质量相等,一切接触面均光滑,放手让小球和木块同时由静止开始运动,求球着地时球和木块的速度。

试题详情

22.(21分)

(1).(9分)在“验证机械能守恒定律”的实验中,打点计时器所用的电源频率为50Hz,当地重力加速度的值为9.80m/s2,所用重物的质量为1.00Kg,甲、乙、丙三位同学分别用同一装置打出三条纸带,并依次测出纸带的第1、2两点间的距离分别为1.80mm、1.90mm、和2.50mm,可以看出                同学操作上有错误,错误的原因可能是                        ,若按实验要求,应选           同学打出的纸带进行测量较合理。

(2).(12分)在“用单摆测定重力加速度”的实验中:

1摆动时偏角满足的条件是     ,为了减小测量周期的误差,计时开始时,摆球应是经过最   (填“高”或“低’)的点的位置,且用停表测量单摆完成多次全振动所用的时间,求出周期.图甲中停表示数为一单摆振动50次全振动所需时间,则单摆振动周期为  

2用最小刻度为1 mm的刻度尺测摆长,测量情况如图乙所示.O为悬挂点,从图乙中可知单摆的摆长为      m。

3若用L表示摆长,T表示周期,那么重力加速度的表达式为g=       

4考虑到单摆振动时空气浮力的影响后,学生甲说:“因为空气浮力与摆球重力方向相反,它对球的作用相当于重力加速度变小,因此振动周期变大.”学生乙说:“浮力对摆球的影响好像用一个轻一些的摆球做实验,因此振动周期不变”,这两个学生中    

A、甲的说法正确     B、乙的说法正确     C、两学生的说法都是错误的

试题详情


同步练习册答案