题目列表(包括答案和解析)

 0  169525  169533  169539  169543  169549  169551  169555  169561  169563  169569  169575  169579  169581  169585  169591  169593  169599  169603  169605  169609  169611  169615  169617  169619  169620  169621  169623  169624  169625  169627  169629  169633  169635  169639  169641  169645  169651  169653  169659  169663  169665  169669  169675  169681  169683  169689  169693  169695  169701  169705  169711  169719  447348 

1、(青浦区)如图所示,实线和虚线分别为某种波在t时刻和t+Δt时刻的波形曲线。B和C是横坐标分别为d和3d的两个质点,下列说法中正确的是:…………………………………………(   )

A.任一时刻,如果质点B向上运动,则质点C一定向下运动;

B.任一时刻,如果质点B速度为零,则质点C的速度可以为零也可以不为零;

C.如果波是向右传播的,则波的周期可能为(6/ 7)Δt;

D.如果波是向左传播的,则波的周期可能为(6/ 13)Δt。

(崇明县)

试题详情

1.(嘉定区)如图所示,波源St=0时刻从平衡位置开始向上运动,形成向左右两侧传播的简谐横波。S、a、b、c、d、ea′、b′、c′是沿波传播方向上的间距为1m的9个质点,t=0时刻均静止于平衡位置。已知波的传播速度大小为1m/s,当t=1s时波源S第一次到达最高点,则在t=4s到t=4.6s这段时间内,下列说法中正确的是

(A)质点c的加速度正在增大

(B)质点a的速度正在减小

(C)质点b的运动方向向上

(D)质点c′的位移正在减小

(卢湾区)2.我国蹦床队组建时间不长,但已经在国际大赛中取得了骄人的成绩,前不久又取得北京奥运会的金牌.假如运动员从某一高处下落到蹦床后又被弹回到原来的高度,其整个过程中的速度随时间的变化规律如图所示,其中oa 段和cd段为直线,则根据此图象可知运动员

A、在t1~t2时间内所受合力逐渐增大

B、在t2时刻处于平衡位置

C、在t3时刻处于平衡状态

D、在t4时刻所受的弹力最大

[       ]

(浦东区)3.一简谐横波某时刻的波形如图所示,质点A此时的运动方向向下,经过0.2s第一次回到平衡位置,由此可以判定(   )

A.波沿x轴正方向传播,波速大小为0.05m/s

B.波沿x轴负方向传播,波速大小为0.05m/s

C.波沿x轴正方向传播,波速大小为0.1m/s

D.波沿x轴负方向传播,波速大小为0.1m/s

试题详情

20.(10分)磁流体发电机示意图如图所示,a、b两金属板相距为d,板间有磁感应强度为B的匀强磁场,一束截面积为S,速度为v的等离子体自左向右穿过两板后速度大小仍为v,截面积仍为S,只是等离子体压强减小了。设两板之间单位体积内等离子的数目为n,每个离子的电量为q,板间部分的等离子体等效内阻为r,外电路电阻为R。求:

(1)等离子体进出磁场前后的压强差△P;

(2)若等离子体在板间受到摩擦阻力f,压强差△P′又为多少;

(3)若R阻值可以改变,试讨论R中电流的变化情况,求出其最大值Im,并在图中坐标上定性画出I随R变化的图线。

   

试题详情

19.(10分)如图所示,水平放置的两块长直平行金属板ab相距d=0.10m,a、b间的电场强度为E=5.0×105N/C,b板下方整个空间存在着磁感应强度大小为B=6.0T、方向垂直纸面向里的匀强磁场.今有一质量为m=4.8×10-25kg、电荷量为q=1.6×10-18C的带正电的粒子(不计重力),从贴近a板的左端以v0 =1.0×106m/s的初速度水平射入匀强电场,刚好从狭缝P处穿过b板而垂直进入匀强磁场,最后粒子回到b板的Q处(图中未画出).求PQ之间的距离L.

试题详情

17.(10分)如图所示,某人乘雪橇从雪坡经A点滑至B点,接着沿水平路面滑至C点停止(人与雪橇在B点无能量损失)。人与雪橇的总质量为70 kg。设雪橇与ABBC接触面间的动摩擦因数处处相同,忽略空气阻力,表中记录了沿坡滑下过程中的有关数据,请根据图表中的数据解决下列问题:

(1)求动摩擦因数m

(2)求斜面的倾角q

 

 

 

 

  18. (10分)如图所示是一种悬球式加速度仪,它可以用来测定沿水平轨道运动的列车的加速度.m是一个金属球,它系在金属丝的下端,金属丝的上端悬挂在O点,AB是一根长为L的电阻丝,其电阻值为R.金属丝与电阻丝接触良好,摩擦不计,电阻丝的中点C焊接一根导线.从O点也引出一根导线,两线之间接入一个电压表V(金属丝和导线电阻不计);图中虚线OCAB相垂直,且OCh,电阻丝AB接在电压为U的直流稳压电源上, 整个装置固定在列车中使AB沿着前进的方向,列车静止时金属丝呈竖直状态,当列车加速或减速前进时,金属线将偏离竖直方向,从电压表的读数变化可以测出加速度的大小.

(1)当列车向右匀加速运动时,试写出加速度a与电压表读数U的对应关系.

(2)用此装置测得的最大加速度是多少?

(3)为什么C点设置在电阻丝AB的中间? 对电压表的选择有什么特殊要求?

试题详情

16. (12分)如图所示,线圈的面积是S,共N匝,线圈电阻为r,外接电阻R,匀强磁场的磁感应强度B,当线圈以f的转速匀速旋转时,求:

(1)若从线圈牌中性面开始计时,写出线圈中感应电动势瞬时值表达式.

(2)电路中电压表和电流表的示数各是多少?

(3)由图示位置转过60°角的过程产生的平均感应电动势为多少?

(4)由图示位置转过1800通过电阻R的电量为多少?

(5)由图示位置转过一周在R上产生的热量为多少?

(6)由图示位置转过一周外力做的功为多少?

位置
A
B
C
速度(m/s)
2.0
15.2
0
时刻(s)
0
3.0
10.6

试题详情

15.热敏电阻是传感电路中常用的电子元件。现用伏安法研究热敏电阻在不同温度下的伏安特性曲线,要求特性曲线尽可能完整。已知常温下待测热敏电阻的阻值约4~5Ω。热敏电阻和温度计插入带塞的保温杯中,杯内有一定量的冷水,其它备用的仪表和器具有:盛有热水的热水杯(图中未画出)、电源(3V、内阻可忽略)、直流电流表(内阻约1Ω)、直流电压表(内阻约5kΩ)、滑动变阻器(0~20Ω)、开关、导线若干。

⑴在图(a)的方框中画出实验电路图,要求测量误差尽可能小。

⑵根据电路图,在图(b)的实物图上连线。

⑶简要写出完成接线后的主要实验步骤______________________。

试题详情

14.在用图示装置做“探究动能定理"的实验时,下列说法正确的是_________

A.通过改变橡皮筋的条数改变拉力做功的数值

B.通过改变橡皮筋的长度改变拉力做功的数值

C.通过打点计时器打下的纸带来测定小车加速过程中获得的最大速度

D.通过打点计时器打下的纸带来测定小车加速过程中获得的平均速度

试题详情

13.用螺旋测微器测量一根电阻丝的直径,测量结果如图,其读数为     mm.用游标为50分度的卡尺测量一工件的直径,测量结果如图所示,此工件的直径为     mm.

试题详情

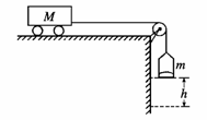
12. 如图所示,把小车放在光滑的水平桌面上,用轻绳跨过定滑轮使之与盛有沙子的小桶相连,已知小车的质量为M,小桶与沙子的总质量为m,把小车从静止状态释放后,在小桶下落竖直高度为h的过程中,若不计滑轮及空气的阻力,下列说法中正确的是

①绳拉车的力始终为mg

②当M远远大于m时,才可以认为绳拉车的力为mg

③小车获得的动能为mgh

④小车获得的动能为 Mmgh/(M+m)

A.①③        B.②④       C.①④       D.②③

试题详情


同步练习册答案