题目列表(包括答案和解析)

 0  29171  29179  29185  29189  29195  29197  29201  29207  29209  29215  29221  29225  29227  29231  29237  29239  29245  29249  29251  29255  29257  29261  29263  29265  29266  29267  29269  29270  29271  29273  29275  29279  29281  29285  29287  29291  29297  29299  29305  29309  29311  29315  29321  29327  29329  29335  29339  29341  29347  29351  29357  29365  447348 

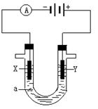
25. 电解原理在化学工业中有广泛应用。下图表示一个电解池,装有电解液a ; X、Y是两块电极板,通过导线与直流电源相连。请回答以下问题:

(1)若X、Y都是惰性电极,a是饱和NaCl溶液,实验开始时,同时在两边各滴入几滴酚酞溶液,则电解池中X极上的电极反应为               ,在X极附近观察到的现象是:          

Y电极上的电极反应为               ,检验该电极反应产物的方法是:                。若将惰性电极中的一个换成铁丝,那么换     极(填“X”或“Y”)对电解过程无影响。

(2)如果用该装置电解硫酸钠溶液,则X和Y两电极上产生的气体体积比为     

试题详情

24.实验室为监测空气中汞蒸气的含量,往往悬挂涂有CuI的滤纸,根据滤纸是否变色或颜色发生变化所用去的时间来判断空气中的含汞量。其反应为:

4CuI + Hg→Cu2HgI4 +2Cu 。

  (1)上述反应产物中Cu2HgI4中,Cu显    价。

  (2)上述反应的氧化剂为    ,当有1molCuI 参与反应时,转移电子数为    mol。

  (3)CuI可由Cu2+与I-直接反应得到,请配平下列反应的化学方程式:(提示:I3=I-+I2)

  Cu2++  I→  CuI+  I3

试题详情

23.归纳整理是科学学习的重要方法之一。在学习了元素的各种性质后,可归纳整理出如下表所示的表格(表中是VIA族元素)。 

性质\元素
8O
16S
34Se
52Te
单质熔点(℃)
-218.4
113
 
450
单质沸点(℃)
-183
444.6
685
1390
主要化合价
-2
-2,+4,+6
-2,+4,+6
 
原子半径
逐渐增大
单质与H2反应情况
点燃时易化合
加热化合
加热难化合
不能直接化合

请根据表回答下列问题:

(1) 硒的熔点范围可能是______________

(2) 碲的化合价可能有_________________

(3) 硫、硒,碲的最高价氧化物对应水化物的酸性由强至弱顺序是                 (填化学式)。

(4) 氢硒酸有较强的_________(填“氧化性”或“还原性”),因此放在空气中长期保存易变质,其可能发生的化学方程式为_______________________________________。

(5) 右图所示为该族元素单质与H2反应过程中的能量变化示意图,其中a、b、c、d分别表示该族中某一元素的单质,Q为相同物质的量的单质与H2反应的反应热。则:b代表________________,d代表_____________(均写单质名称)。

试题详情

22.根据表1信息,判断以下叙述错误的是(   )

          表1  部分短周期元素的原子半径及主要化合价

元素代号
L
M
Q
R
T
原子半径/nm
0.160
0.143
0.112
0.104
0.066
主要化合价
+2
+3
+2
+6、-2
-2

A.氢化物的相对分子质量H2T<H2R    B.单质与稀盐酸反应的速率为L<Q

C.M与T形成的化合物具有两性     D.L2+与R2的核外电子数相等

第Π卷(51分)

试题详情

21.下列物质中 ①NaHCO3,②Al(OH)3,③(NH4)2S,④CH3COONH4,⑤Al中,跟盐酸和氢氧化钠溶液都能反应的是(   )

A.只有②④    B.只有①②③⑤    C.只有①②③④     D.全部

试题详情

20.下列关于化学基本原理和基本概念的几点认识中正确的是(   )

A.明矾和漂白粉常用于自来水的净化或杀菌消毒,但两者的作用原理不相同

B.由SO2通入Ba(NO3)2溶液产生白色沉淀可知,BaSO3不溶于硝酸

C.由NaHCO3溶液与NaAlO2溶液混合产生白色沉淀可知,酸性:HCO3>Al(OH)3 

D.将铜片放入浓硫酸中,无明显实验现象,说明铜在冷的浓硫酸中发生钝化

试题详情

19.镁和铝分别与等浓度、等体积的过量稀硫酸反应,产生气体的体积(V)与时间(t)关系如右图。关于反应中镁和铝的说法正确的是(  )

A.物质的量之比为3:2    B.质量之比为4:3

C.摩尔质量之比为2:3    D.反应速率之比为2:3

试题详情

18.下列金属冶炼的反应原理,错误的是  (    ) 

A.2NaCl(熔融)  2 Na+Cl2↑  B.Al2O3 + 3H2 2Al + 3H2O

C.Fe3O4+4CO  3Fe+4CO2      D.2HgO2Hg+O2

试题详情

17. 已知A2On2-可与B2-反应,B2-被氧化成B单质,A2On2-被还原成A3+,  且知50mL 0.3mol / L的A2On2-溶液与150 mL、0.3mol / L的B2-溶液恰好完全反应,则n值为(   )

A.4       B.5       C.7       D.10

试题详情

16.同一周期相邻主族的两种元素的原子序数之差不可能是(   )

A.1       B.8        C.11        D.25

试题详情


同步练习册答案