题目列表(包括答案和解析)

 0  29302  29310  29316  29320  29326  29328  29332  29338  29340  29346  29352  29356  29358  29362  29368  29370  29376  29380  29382  29386  29388  29392  29394  29396  29397  29398  29400  29401  29402  29404  29406  29410  29412  29416  29418  29422  29428  29430  29436  29440  29442  29446  29452  29458  29460  29466  29470  29472  29478  29482  29488  29496  447348 

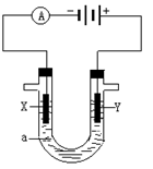
22.(8分)电解原理在化学工业中有广泛应用。右图表示一个电解池,装有电解液a ;  X、Y是两块电极板,通过导线与直流电源相连。请回答以下问题:

(1)若X、Y都是惰性电极,a是饱和NaCl溶液,实验开始时,同时在两边各滴入几滴酚酞溶液,则电解池中X极上的电极反应为___________________________,在X极附近观察到的现象是 :__________________。

(2)Y电极上的电极反应式是_________,检验该电极反应产物的方法是 :____________________________________。

(3)如果用电解方法精炼粗铜,电解液a选用CuSO4溶液,则X电极的材料是_________,电极反应式是__________________,Y电极的材料是_________,电极反应式是__________________。

试题详情

21. (8分)如图A 直流电源,B为浸透饱和氯化钠溶液和酚酞试液的滤纸,C为电镀槽,接通电路后,发现B上的c点显红色,请填空:

(1)电源A上的a为________极;

(2)滤纸B上发生的总化学方程式为___________________;

(3)欲在电槽中实现铁上镀锌,接通K点,使c、d两点短路,则电极e上发生的反应为________________,电极f上发生的反应为______________________________,槽中放的镀液可以是________或________(只要求填两种电解质溶液)。

试题详情

20.(10分)氯碱厂电解饱和食盐水制取NaOH溶液的工艺流程示意图如下所示,完成下列填空:

  

(1)在电解过程中,与电源正极相连的电极上电极反应为__________________,与电源负极相连的电极附近,溶液pH_________(选填“不变”、“升高”或“下降”)。

(2)工业食盐含Ca2+、Mg2+等杂质,精制过程发生反应的离子方程式为_________

_______________________________________________________________。

(3)如果粗盐中SO42-含量较高,必须添加钡试剂除去SO42-,该钡试剂可以是_________。

   a. Ba(OH)2         b. Ba(NO3)2        c. BaCl2

(4)为了有效除去Ca2+、Mg2+、SO42-,加入试剂的合理顺序为_________(选填a、b、c)

a. 先加NaOH,后加Na2CO3,再加钡试剂   

b. 先加NaOH,后加钡试剂,再加Na2CO3

c. 先加钡试剂,后加NaOH,再加Na2CO3

(5)脱盐工序中利用NaOH和NaCl在溶解度上的差异,通过_________、冷却、_________(填写操作名称)除去NaCl。

试题详情

19.(8分)右图为以惰性电极进行电解:   

(1)写出B、C、D各电极上的电极反应式和总反应方程式:

   A:________________________________,

B:________________________________,

  总反应方程式:________________________;

 C:________________________________,

   D:________________________________,

总反应方程式:___________________________;

(2)在A、B、C、D各电极上析出生成物的物质的量比为__________________。

试题详情

18.(2008宁夏理综,10)一种燃料电池中发生的化学反应为:在酸性溶液中甲醇与氧作用生成水和二氧化碳。该电池负极发生的反应是(   )

   A. CH3OH(g)+O2(g) ==H2O(1)+CO2(g)+2H+(aq)+2e -

 B. O2(g)+4H+(aq)+4e -==2H2O(1)

   C. CH3OH(g) (1) ==CO2(g)+6H+(aq)+6 e -

D. O2(g)+2H2O(1)+4 e -==4OH-

试题详情

17. 在某电解质溶液里,用M和N作电极,通电一段时间后,发现M极质量减小,N极质量增大,符合这一情况的是(  B  )

A. 电解质溶液是稀硫酸        B. 金属M是阳极,金属N是阴极

C. M和N都是石墨电极        D. M是阴极,N是阳极

试题详情

16. 在1LK2SO4和CuSO4的混合溶液中,c(SO42-)=2.0 mol·L-1,用石墨作电极电解此溶液,当通电一段时间后,两极均收集到22.4L(标准状况)气体,则原溶液中K+的物质的量浓度为(   )

A. 2.0 mol·L-1   B. 1.5 mol·L-1   C. 1.0 mol·L-1   D. 0.5 mol·L-1

试题详情

15. 已知蓄电池在充电时作电解池,放电时作原电池。铅蓄电池上有两个接线柱,一个接线柱旁标有“+”,另一个接线柱旁标有“-”。关于标有“+”的接线柱,下列说法中正确的是(  )

A.充电时作阳极,放电时作负极        B.充电时作阳极,放电时作正极

C.充电时作阴极,放电时作负极        D.充电时作阴极,放电时作正极

试题详情

14. (2008江苏,5)镍镉(Ni-Cd)可充电电池在现代生活中有广泛应用。已知某镍镉电池的电解质溶液为KOH溶液,其充、放电按下式进行:Cd + 2NiOOH + 2H2OCd(OH)2 + 2Ni(OH)2  有关该电池的说法正确的是(   )

A.充电时阳极反应:Ni(OH)2-e- + OH- == NiOOH + H2O

B.充电过程是化学能转化为电能的过程

C.放电时负极附近溶液的碱性不变

D.放电时电解质溶液中的OH-向正极移动

试题详情

13. 电解含下列离子的水溶液,若阴极析出相等质量的金属,则消耗的电量最多的是 (  )

A.Ag+       B.Cu2+      C.Na+        D.Mg2+

试题详情


同步练习册答案