0  123968  123976  123982  123986  123992  123994  123998  124004  124006  124012  124018  124022  124024  124028  124034  124036  124042  124046  124048  124052  124054  124058  124060  124062  124063  124064  124066  124067  124068  124070  124072  124076  124078  124082  124084  124088  124094  124096  124102  124106  124108  124112  124118  124124  124126  124132  124136  124138  124144  124148  124154  124162  447090 

18.小明要用图9所示的实验器材探究电压一定时,电流热效应与电阻的关系。其中瓶内电阻丝的长度、粗细都相同

(1)请你用笔画线代替导线,帮他把电路连接完整。

(2)电流产生热量的多少不易直接测量。因此,在这个实验中是通过      显示电流产生热量的多少的。象这种用能直接观测的量来显示不易直接观测的量的方法叫“转换法”。这种方法在物理学的研究中经常用到,请你列举一例:            

           

(3)在这个实验中,除了控制电压一定外,还要控制的量有            

(4)在这个实验中,若两个电阻丝的通电时间相同,则      瓶内温度计的示数升高的多。

试题详情

17、某同学要比较牛奶和豆浆两种饮料密度的大小,可身边又没有天平和量筒,请你任意选择其它器材设计一个实验,要求:

   ①写出实验器材

②简述实验方法(只比较密度的大小,不必测出具体值)

试题详情

16、一个家用电能表的盘面上标有“3000r/kW·h”字样,若用这个电能表测某用电器的功率时,转盘在3min内转了15转,这个用电器的功率是      W。

试题详情

15、有两个灯泡,甲灯标有“PZ220-25”,乙灯标有“PZ220-15”字样,把它们并联后接在220V的电路上,那么    灯较亮;把它们串联后接在220V的电路上,则    灯较亮。

试题详情

14.如图8所示,开关闭合时,位于螺线管左侧的小磁针将    (选填“顺时针”或“逆时针”)旋转。

试题详情

13.如图7所示,推土机重为51000N,每条履带跟地面的接触面积约为0.75m2,则它对水平地面的压强是    Pa。

试题详情

12、沿着下垂的纸面从上方吹气,如图6所示,你观察到的现象是     

试题详情

11.世界上海拔最高的火车站是我国青藏铁路上的唐古拉山车站,与广州火车站比,此处的大气压      ,水的沸点     。(填“较高”、“较低”或“相同”)

试题详情

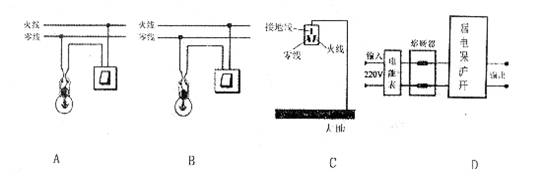
10.为了避免触电事故,图5下列电器安装不符合国家规定的技术要求的是 (  )

试题详情

9.如图4所示,电源电压保持不变。只闭合开关S1,灯泡L正常发光,再闭合开关S2,则  (  )

A.电流表示数变大,灯变亮          B.电流表示数变小,灯变暗

C.小灯泡的额定功率变大        D.电路中的总功率变大

试题详情


同步练习册答案