0  124149  124157  124163  124167  124173  124175  124179  124185  124187  124193  124199  124203  124205  124209  124215  124217  124223  124227  124229  124233  124235  124239  124241  124243  124244  124245  124247  124248  124249  124251  124253  124257  124259  124263  124265  124269  124275  124277  124283  124287  124289  124293  124299  124305  124307  124313  124317  124319  124325  124329  124335  124343  447090 

12.在电磁感应现象中,能产生感应电流的条件是   (   )

   A.导体在磁场中做切割磁感线运动

   B.闭合电路的一部分导体在磁场中,平行于磁感线运动

   C.闭合电路的一部分导体在磁场中做切割磁感线运动

   D.以上说法都是错误的

试题详情

11.关于直流电动机,下列说法正确的是   (   )

   A.电动机工作时,机械能转化成电能

   B.电动机是根据电磁感应原理制成的

   C.电动机是通过换向器来实现连续转动的

   D.同时改变磁场方向和线圈中的电流方向才能改变电动机的转动方向

试题详情

10.下列设备中利用电磁感应原理的是   (   )

   A.电磁铁      B.电磁继电器      C.电动机          D.发电机

试题详情

9.在图中,表示垂直于纸面的一根导体的横截面,导体是闭合电路中的一部分,它在磁场中按如图所示的方向运动,其中不能产生感应电流的是   (   )

试题详情

8.下列关于电磁现象的说法中,正确的是   (   )

   A.电磁感应现象中,电能转化为机械能

   B.导体在磁场中运动就会产生感应电流

   C.感应电流的方向只跟导体运动方向有关

   D.发电机是利用电磁感应现象制成的

试题详情

7.下列说法正确的是   (   )

   A.奥斯特实验说明磁能生电          B.发电机工作时将电能转化为机械能

   C.电磁继电器是由电磁铁控制的开关  D.电动机是利用电磁感应原理制成的

试题详情

6.实验表明,磁体能吸引1元硬币,对这种现象解释正确的是   (   )

   A.硬币一定是铁做的,因为磁体能吸引铁

   B.硬币一定是铝做的,因为磁体能吸引铝

   C.磁体的磁性越强,能吸引的物质种类越多

   D.硬币中含有磁性材料,磁化后能被吸引

试题详情

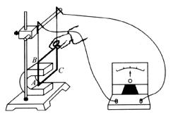
5.下图是研究电磁感应的实验装置,只有当闭合电路的一部分导体在磁场中做     运动时,灵敏电流计的指针才会发生偏转,此时电路的电源是    部分(用图中的字母表示).

试题详情

4.如图所示,根据通电螺线管的磁感线方向,可判断通电螺线管的左端为     极,电源的端为     极,小磁针的端为     极.

试题详情

3.电磁铁和普通磁铁相比的突出优点是      (写出一个即可).电磁铁在生产和生活中的应用很多,在电炉、电铃、电灯中,用到电磁铁的是      

试题详情


同步练习册答案