0  156490  156498  156504  156508  156514  156516  156520  156526  156528  156534  156540  156544  156546  156550  156556  156558  156564  156568  156570  156574  156576  156580  156582  156584  156585  156586  156588  156589  156590  156592  156594  156598  156600  156604  156606  156610  156616  156618  156624  156628  156630  156634  156640  156646  156648  156654  156658  156660  156666  156670  156676  156684  447090 

16.(15分)质量为0.2千克的小球从一弹性平面处以20米/秒的速度竖直上抛,能上升的最大高度为16m,然后落回平面,与平面发生碰撞后再次上升,上升的高度为7m,而后又落回平面……直到最后静止在平面上,设小球受到的空气阻力大小恒定,求:

   (1)小球所受空气阻力的大小

  (2)小球第一次上升时间和下落时间之比

  (3)从小球刚开始上抛到第二次落到平面之前的过程中损失的机械能是多少?

20081005
 

试题详情

15.(12分)两个完全相同的物块A、B质量均为m=0.80kg,在同一粗糙水平面上以相同的初速度从同一位置开始运动。图中的两条直线分别表示A物块受到水平拉力F作用和B物块不受拉力作用的v-t图像。求:⑴物块A所受拉力F的大小;⑵8.0s末物块A、B之间的距离s。  

试题详情

骤.只写出最后答案的不能得分.有数值计算的题,答案中必须明确写出数值和单位)

14.(11分)如图所示,质量为2kg的直角三棱柱A放在水平地面上,三棱柱的斜面是光滑

的,且斜面倾角θ为37º。质量为1kg的光滑球放在三棱柱和光滑竖直墙壁之间,A和B都

处于静止状态,求地面对三棱柱的支持力和摩擦力各为多少?

(g=10m/s2 , sin37º=  cos37º=)

试题详情

82615205
 
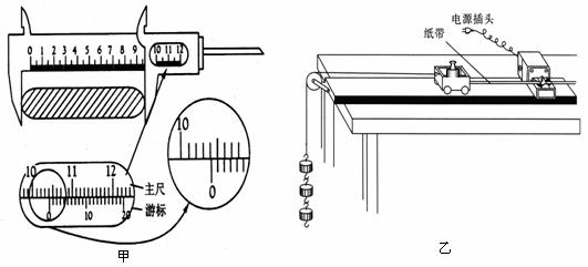
13.(1)有一游标卡尺,主尺的最小分度是1mm,游标上有20个小的等分刻度。这种游标

卡尺测量长度可以精确到      mm,现用它测量一工件的长度,如图甲所示,图示的读

数是      mm;

  (2)科学规律的发现离不开科学探究,而科学探究可以分为理论探究和实验探究。下面

我们用第二种方法探究恒力做功和物体动能变化间的关系。

①某同学的实验方案如图乙所示,他想用钩码的重力(图中用到的钩码和砝码的重力已知)

表示小车受到的合外力,为了减小这种做法带来的实验误差,你认为在实验中还应该采取的

两项措施是:

a.                 

b.                 

②如图丙所示是某次实验中得到的一条纸带,其中A、B、C、D、E、F叫计数点,相邻计数点间的时间间隔为T。则打C点时小车的速度为      ;要验证合外力的功与动能变化间的关系,除位移、速度外,还要测出的物理量有        

③这个实验所探究的规律实际上就是我们所学过的       定理,它的表达式是            

试题详情

12.如图所示,甲运动员在球场上得到篮球之后,甲、乙以相同的速度v匀速并排向对方半

场奔跑,随后甲运动员将球传给乙运动员,不计空气阻力,则             (   )

A.甲抛球时对球施加的水平方向推力应沿图中箭头1所指的方向

B.甲抛球时对球施加的水平方向推力应沿图中箭头2所指的方向

C.坐在场边的观众看到球向箭头1所指的方向运动

D.坐在场边的观众看到球向箭头2所指的方向运动

试题详情

11.如图所示,增大电阻R,灯泡变暗的是                              (   )

A.               B.           C.           D.

试题详情

10.质量相等的两颗人造地球卫星A和B,分别在不同轨道上绕地球做匀速圆周运动,两卫星的轨道半径分别为rA和rB,且rA>rB,则A和B两卫星比较,下列说法正确的是:(   )

20081005
 
20081005
 
A.卫星A受到地球引力较小         B.卫星A的动能较小

    C.卫星B的运动周期较大           D.卫星A的机械能较大

试题详情

9.如图所示,在通电长直导线的下方放有一闭合导线框abcd,能使abcd中产生感应电流的

情况是                                                          (   )

    A.长直导线中通以变化的电流

B.长直导线中通以恒定的电流,线圈左右平移

C.长直导线中通以恒定的电流,线圈上下平移

D.长直导线中通以恒定的电流,线圈绕ad边转动

试题详情

8.在下面给出的方程中,括号中的a、b、c、d代表相同或不同的粒子,则正确的说法是(   )

U→Th+(a)                 ②Be+He→C+(b)

H+H→He+(c)                ④U+(d)→Ba+Kr+3n

A.a、b都是电子;                    B.bcd都是中子;

C.c是中子,a是α粒子;              D.a是α粒子,d是质子。

试题详情

7.如图所示,在方向竖直向下的匀强电场中,用绝缘细线拴着带负电的小球(视为质点)在竖直平面内绕O点做圆周运动,则下列判断正确的是           (   )

    A.小球运动到最低点时,细线的拉力一定最大

    B.小球运动到最低点时,小球的速度一定最大

    C.小球运动到最低点时,小球的电势能一定最大

    D.小球运动到最高点时,小球的机械能一定最小

试题详情


同步练习册答案