0  193397  193405  193411  193415  193421  193423  193427  193433  193435  193441  193447  193451  193453  193457  193463  193465  193471  193475  193477  193481  193483  193487  193489  193491  193492  193493  193495  193496  193497  193499  193501  193505  193507  193511  193513  193517  193523  193525  193531  193535  193537  193541  193547  193553  193555  193561  193565  193567  193573  193577  193583  193591  447090 

2. 小王家新买了一个电热取暖器,开始试机时,打开开关,一切正常,后来又打开一些用电器,保险丝就烧断了。小王取出保险盒一看,从熔丝的规格查得熔丝熔断电流为15 A。烧保险时,小王家用电器的总功率已经超过了     W。

试题详情

填一填

1. 家庭电路是由进户线、_________、___________、保护设备、________和导线等组成。

试题详情

5.斜面

同学们在日常生活中经常会看到向车上装重东西时,常用木板搭成个斜面,把重东西推上去.(图12-40).

   

斜面也是一种可以省力的简单机械,它能省多少力呢?

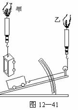
我们通过下面的实验来对比一下:假设物重为G,提升的高度为h,斜面长为L,沿斜面向上的拉力为F

图12-41甲中,用弹簧测力计竖直向上拉重物,提升高度h,读取弹簧测力计示数G

图12-41乙中,用弹簧测力计沿斜面向上拉重物,让货物到达的高度也是h,沿斜面通过的距离为L,读取弹簧测力计示数F

通过比较:Lh的几倍,F就是G的几分之一.公式:FLGh

[学习方法指导]

滑轮组绕线的方法和规律

对同一滑轮组,若绳子起点在动滑轮上,则有奇数段绳子承担物重;若绳子起点在定滑轮上,则有偶数段绳子承担物重.即滑轮组绕线规律是“奇动、偶定”.

在绕线时,每个轮槽只能绕过一根绳子,并且由内到外依次绕线,画图时线要用刻度尺画直线,因为滑轮组下面的动滑轮和货物受重力,将线拉直了,所以画出的线是直线.

请同学们完成以下几图的滑轮组绕线,加深记忆.

试题详情

4.轮轴

汽车方向盘和门把手属于另一类简单机械--轮轴.它们由一个轴和一个大轮组成.轻轻转动门把手,就可以把门打开;司机用不大的力转动方向盘,在轴上就能产生较大的力,使汽车转弯;所以轮轴是一种省力机械.也可以用摇臂来代替大轮,例如图12-38中的卷扬机的摇臂相当于大轮.

轮轴的原理可以用图12-39来说明.轮轴相当于一个杠杆,轮和轴的中心O是支点,作用在轮上的力F1是动力,作用在轴上的力F2是阻力,动力臂是OA,阻力臂是OB.而OA即为轮半径ROB即为轴半径r.由杠杆平衡条件可知:F1RF2rF2/F1R/r

因为轮半径R大于轴半径r,所以作用在轮上的动力F1总小于轴上的阻力F2

同学们,你们还能举出日常生活中哪些地方应用了轮轴?

试题详情

3.滑轮组

实际应用滑轮的时候,常常既要求省力,又要求方便,我们该怎么办呢?根据定滑轮和动滑轮的作用,可以将定滑轮和动滑轮组合在一起使用.用一个动滑轮和一个定滑轮组合起来提升重物,你能设计多少种方法?请自己组装,试一试.

如图12-36所示,就是一个动滑轮和一个定滑轮的组合.

图甲中,先用弹簧测力计测出钩码的重,再将钩码挂在动滑轮上,将绳子的一端拴在定滑轮上,依次绕过动滑轮和定滑轮,拉力加在绳子另一端,用弹簧测力计测出拉力大小,研究拉力与钩码重的关系.

通过比较得出:FG/2.而且人向下用力,钩码匀速上升,可以改变力的方向.说明图甲既可以省力,又可以改变动力的方向.从图中可以看出有两段绳子吊着动滑轮,提起物体所用的力,就是物重的二分之一.此时的两段绳子,是指跟动滑轮组连的那两段.

图乙中,将绳子的一端拴在动滑轮上,然后依次绕过定滑轮和动滑轮,将力加在绳子另一端,省力情况又是怎样的呢?用弹簧测力计测出拉力大小,研究拉力与钩码重的关系.通过比较得出:FG/3.从图中可以看出,有三段绳子吊着动滑轮,提起物体所用的力,就是物重的三分之一.

动滑轮和定滑轮的组合叫做滑轮组.

一条绳子串绕在滑轮组上以后,绳子就被动滑轮和定滑轮分成了几段.在滑轮组中,承担物重的是吊着动滑轮的那几段绳子,这包括拴在动滑轮框上的和最后从动滑轮引出的拉绳.而跨过定滑轮的绳子,包括最后从定滑轮引出的绳子,只起改变作用力方向的作用.例如,若动滑轮上有四段绳子,拉力就是物重的四分之一;若动滑轮上有五段绳子,拉力就是物重的五分之一.所以判断拉力是物重的几分之一,关键是判断货物是由几段绳子吊着,也就是有几段绳子与动滑轮相连.

同学们运用以前所学同一直线上力的合成知识,可以对滑轮组的省力进行分析.

甲图中有一段绳子吊着物体,所以FG,乙图中有二段绳子吊着物体,人只拉其中的一根绳子,所以FG/2,同理丙图中FG/3;丁图中FG/4;戊图中FG/5…

使用滑轮组时,滑轮组用几段绳子吊着物体,提起物体所用的力就是物重的几分之一.(不计摩擦和动滑轮的重)

使用滑轮组虽然省了力,但是费了距离,动力移动的距离大于货物升高的高度.所以,动滑轮或滑轮组省力,是费了距离换来的.

试题详情

2.定滑轮和动滑轮的实质

同学们从图12-35中不难看出,定滑轮的支点在轴心,动力臂和阻力臂分别等于半径,根据杠杆平衡条件:F1l1F2l2,因为l1l2,所以F1F2.由此可以得出:定滑轮实质是个等臂变形杠杆.

所以,定滑轮既不省力,也不费距离,只能改变动力的方向.

动滑轮的支点在滑轮的一侧,动力臂是直径,阻力臂是半径,动力臂是阻力臂的2倍,根据杠杆平衡条件:F1l1F2l2,因为l1=2l2,所以F1F2.由此可以得出:动滑轮实质是动力臂是阻力臂2倍的变形杠杆.所以,动滑轮可以省一半的力,但费距离.

同学们在理解了定滑轮、动滑轮的实质后,对定滑轮、动滑轮的特点会有更进一步的认识.学习物理要注意理解.

试题详情

1.定滑轮和动滑轮

首先我们来认识一下什么是滑轮,滑轮是一个周边有槽的轮,这个轮可以绕着装在框子的轴转动.同学们思考一下,如果我要想从低处吊起一袋货物,如何利用滑轮来设计一个简单机械解决这一问题.你是否能想到有以下两种方法.(如图12-30,图12-31)

像图12-30那样使用滑轮,滑轮的轴固定不动,这样的滑轮叫做定滑轮.像图12-31那样使用滑轮,它的轴可以随物体一起运动,这种滑轮叫做动滑轮.

这两种不同的滑轮在使用时有什么不同吗?照图12-32所示,先用弹簧测力计测出两只钩码的重力G,再通过定滑轮拉两只钩码匀速上升,测出弹簧测力计的拉力F,对比FG的大小.请同学们利用实验室的器材亲自做一下,便于加深记忆.通过对比,FG,说明使用定滑轮不省力.有的同学就问了,使用定滑轮不省力,为什么我们还要使用它呢?这个问题问得很好,我们在使用任何机械时,在设计之初就是要利用它为人类造福. 请同学们回想一下图12-30那个装置图,不难看出,我们把货物从低处提到高处,按照常规做法就是直接用绳子吊着货物向上提,才能将货物提起;而使用定滑轮后,人的施力方向变为向下,也就是人站在高处向下拉绳子货物就会被提起.由此,我们可以得出定滑轮的特点:不省力,但能改变动力的方向.在许多情况下,利用定滑轮改变力的方向对我们是很方便的.例如,在旗杆顶部装一个定滑轮,人站在地上,就能把旗升到高处.所以,在提升不太重的物体时,为了改变力的方向,常常使用定滑轮,可给人们带来方便.

定滑轮可以改变动力的方向,那么动滑轮呢?

照图12-34所示,用弹簧测力计通过动滑轮匀速提升钩码,记录拉力F,对比FG的大小,研究FG间的关系.通过实验可以看出FG,且F略大于G/2.(同学们可以通过实际操作一下,自己读取数据)拉力为什么略大于钩码重的二分之一,而不是等于呢?这是因为人在提升货物的同时也将动滑轮提升起来,动滑轮有质量,并且在提升过程中克服摩擦多用了力.当货物重远大于动滑轮重时,动滑轮的重和摩擦可以忽略不计,得到FG/2,即使用动滑轮可以省一半的力.

使用动滑轮可以省一半力,能不能省距离?用红、白两色即时贴分别在铁架台上做标记,记下钩码和弹簧测力计的初始位置,利用动滑轮匀速提升钩码向上移动一段距离,再次用即时贴记下钩码和弹簧测力计的终止位置,对比钩码上升高度h和弹簧测力计移动的距离s.通过对比sh,sh,使用动滑轮要费距离.

请同学们回忆一下上节课学的杠杆,我们知道省力杠杆省了力,但费距离;费力杠杆费了力,但省了距离.通过本节知识,我们又知道了动滑轮省了一半力,但费距离.由此可以说明省力机械一定费距离.世界上没有既省力又省距离的机械.

试题详情

4.培养运用简单的机械解决实际问题的能力.

[基础知识精讲]

在日常生活中除了上节课我们学习的杠杆是一种常用的简单机械,还有其他简单机械,它们在生活中的应用也很广泛.

试题详情

3.了解轮轴、斜面的相关知识.

试题详情

2.理解定滑轮、动滑轮、滑轮组的作用,能用来解决简单的问题,会组装简单的滑轮组.

试题详情


同步练习册答案