0  194256  194264  194270  194274  194280  194282  194286  194292  194294  194300  194306  194310  194312  194316  194322  194324  194330  194334  194336  194340  194342  194346  194348  194350  194351  194352  194354  194355  194356  194358  194360  194364  194366  194370  194372  194376  194382  194384  194390  194394  194396  194400  194406  194412  194414  194420  194424  194426  194432  194436  194442  194450  447090 

16、如图所示,一个配有活塞的厚玻璃筒里放有一小团蘸了乙醚的棉花,把活塞迅速压下去,棉花燃烧起来了。在这个过程中,是通过_________________方法使空气内能增加,温度升高,达到乙醚的燃点使棉花燃烧。

试题详情

15.在图13(3)中所示的电路中,开关S是用来控制    

开关S1是用来控制      ,开关S2是用来控制      

试题详情

14.电路两端的电压可以用     来测量。使用电压表时,必须将电压表与所待测的电路两端     。用双量程电压表时,如果把标有“-”的接线柱和标有“3”的接线柱接到电路中,表示选用      的量程。读数时,应以刻度盘      (上方/下方)的刻度为准,如图13(2)所示,电压表的分度值为      V。图中的读数是

     V.          

试题详情

13.测量电路中电流大小的仪器叫      。实验室常用的一种有三个接线柱,如果把标有“-”的接线柱和标有“3”的接线柱接到电路中,表示选取用      的量程。读数时,应以刻度盘      (上方/下方)的刻度为准。如图13(1)所示。电流表的分度值为     A,图中的读数是     A。

试题详情

12.在镊子、钢丝钳、扳手、天平中,属于费力杠杆的有____________,属于等臂杠杆的有____________。

试题详情

10.在“探究串联电路中的电流”实验中,某同学用电流表分别测出图5中a、b、c三处的电流大小.为了进一步探究a、b、c三处的电流大小有什么

关系,他下一步的操作应该是(     )

   A.将电源两极对调,再次测量a、b、c三处的电流

   B.改变开关S的位置,再次测量a、b、c三处的电流

C.将图中两只灯泡位置对调,再次测量a、b、c三处

的电流

   D.换用不同规格的灯泡,再次测量a、b、c三处的电流

  11.图6所示的电路中,电源电压恒定.闭合开关S后,电路正常工作.过了一会儿,两电表的示数突然都变为零,则该电路中出现

   的故障可能是(     )

   A. 电阻R断路   B.电阻R短路

   C.灯L断路    D.灯L短路

试题详情

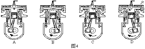
9.汽油机的一个工作循环是由四个冲程组成的,图4中表示做功冲程的是(     )

 

试题详情

8、下面是某同学“物理学习笔记”中的摘录,其中错误的是(     )

    A、做功和热传递在改变物体的内能上是等效的

    B、扩散现象表明物体的分子在不停地做无规则运动

    C、物体的内能的大小只与物体的温度有关

D、分子间相互作用的引力和斥力是同时存在的

试题详情

7、在研究电流时,将它比作水流。这是采用了下列哪种研究方法(     )

A、控制变量法      B、等效法       C、建模法          D、类比法

试题详情

6、内燃机的四个冲程中,内能转化为机械能的冲程是(     )

A、吸气冲程           B、压缩冲程     C、做功冲程        D、排气冲程

试题详情


同步练习册答案