0  265610  265618  265624  265628  265634  265636  265640  265646  265648  265654  265660  265664  265666  265670  265676  265678  265684  265688  265690  265694  265696  265700  265702  265704  265705  265706  265708  265709  265710  265712  265714  265718  265720  265724  265726  265730  265736  265738  265744  265748  265750  265754  265760  265766  265768  265774  265778  265780  265786  265790  265796  265804  447090 

17.某同学站在电梯底板上,利用速度传感器和计算机研究一观光电梯

  升降过程中的情况,如图所示的2一t图象是计算机显示的观光电

梯在某一段时间内速度变化的情况(向上为正方向).根据图象提

供的信息,可以判断下列说法中正确的是             (   )

    A.在0~5s内,观光电梯在加速上升,该同学处于失重状态

    B.在5s~10s内,该同学对电梯底板的压力等于他所受的重力

    C.在10s~20s内,观光电梯在减速下降,该同学处于失重状态

    D.在20s~25s内,观光电梯在加速下降,该同学处于失重状态

试题详情

10.一个闭合回路由两部分组成,如图9所示,右侧是电阻为r的圆形导线;置于竖直方向均匀变化的磁场B1中,左侧是光滑的倾角为θ的平行导轨,宽度为d,其电阻不计.磁感应强度为B2的匀强磁场垂直导轨平面向上,且只分布在左侧,一个质量为m、电阻为R的导体棒此时恰好能静止在导轨上,分析下述判断不正确的有  (   )

A.圆形线圈中的磁场,可以方向向上均匀增强,也可以方向向下均匀减弱

B.导体棒a、b受到的安培力大小为mgsinθ

C.回路中的感应电流为

D.圆形导线中的电热功率为

[2010济宁一模]

答案:16.BC 17.BD 18.C  19.ACD 20.AC 21.A 22.ACD

  16.右图中有两个物体A、B,GA=3N,GB=4N,A用悬线挂在天花板上,B放

在水平地面上,A、B间的弹簧的弹力为2N,则悬线的拉力FT,B对地面的

压力FN的可能值分别是                              (   )

     A.FT=7N,FN=0

     B.FT=5N,FN=2N

     C.FT=1N,FN=6N

     D.FT=2N,FN=5N

试题详情

9.如图8所示,长为l的轻质细绳悬挂一个质量为m的小球,其下方有一个倾角为θ的光滑斜面体,放在光滑水平面上.开始时小球刚好与斜面接触,现在用水平力F缓慢向左推动斜面体,直至细绳与斜面平行为止,对该过程中有关量的描述,正确的有   (   )

A.小球受到的各个力均不做功

B.重力对小球做负功,斜面弹力对小球做正功

C.小球在该过程中机械能守恒

D.推力F做的总功是mgl(1-cosθ)

试题详情

8.利用双金属片温度传感器,可以控制电熨斗的温度,图7为电熨斗结构图,关于其控制温度的原理,下列说法正确的有 (   )

A.双金属片上层的膨胀系数应小于下层

B.常温下(温度较低时),两个触点间应该始终是断开的

C .熨烫棉麻衣物时需要较高的温度,因而要向下旋转调温旋钮

D.在较高温度工作时,若突然断开电源,两触点也会接着断开

试题详情

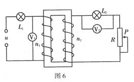
7.如图6所示的电路中,有一个理想变压器,原线圈匝数为n1,串联一只小灯泡L1,再并联一只电压表V1后接在稳定的交流电源上;副线圈匝数为n2,串联灯泡 L2和变阻器R,L2上并联电压表V2.现在向下移动滑动变阻器R的滑动触头P下列判断正确的是        (   )

A.V1读数将变大,V2读数将变小

B.V1读数不变,V2读数增大

C.灯泡L1和L2上消耗的功率都变小

D.灯泡L1及L2上电流强度IlI2与变压器原副线圈匝数n1n2成正比

试题详情

6.在一个长直螺线管L的两端,连接一个灵敏电流计,如图5所示,当一个与线圈等长的条形磁铁,在远处从左到右穿过线圈的过程中,下列判断正确的是   (   )

A.线圈中磁通量先减小后增大

B.电流计的指针可能先向右偏后向左偏

C.电流计的指针可能一直向一侧偏转

D.使磁铁穿过线圈的速度加大,电流计指针偏角可以更大

试题详情

5.如图4,真空中有两个电量相同的正电荷A、B相距L放置,在AB连线的中垂线上有a、b、c三点,b点在AB连线的中点上.a较c离b近一些,现若将A、B两电荷同时向两边扩大相同距离,设无穷远处电势为零,则有   (   )

A.两电荷间电势能将加大

B.b点场强仍为零,a、c两点场强都变小

C.a、b、c三点电势都升高

D.电场强度始终有EaEcEb

试题详情

4.随着世界航空事业的发展,深太空探测已逐渐成为各国关注的热点.假设深太空中有一颗外星球,质量是地球质量的2倍,半径是地球半径的l/2.则下述判断正确的有(   )

A.在地面上所受重力为G的物体,在该外星球表面上所受重力变为2 G

B.该外星球上第一宇宙速度是地球上第一宇宙速度的2倍

C.该外星球的同步卫星周期一定小于地球同步卫星周期

D.该外星球上从某高处自由落地时间是地面上同一高处自由落地时间的一半

试题详情

3.在冬奥会自由式滑雪比赛中,运动员在较高的雪坡上滑到某一弧形部位处,沿水平方向飞离斜坡,在空中划过一段抛物线后,再落到雪坡上,如图3所示,若雪坡的倾角为θ,飞出时的速度大小为v0则(   )

A.运动员落回雪坡时的速度大小是

 B.运动员在空中经历的时间是

C.运动员的落点与起飞点的距离是

D.运动员的落点与起飞点间竖直高度是

试题详情

2.如图2,在内壁光滑截面为矩形的钢槽中,对齐叠放着两根长度和质量都相同,且所受重力均为G,但粗细不同的金属管A和B,金属管外壁也光滑,外半径分别为1.5rr,槽的宽度是4r.下述分析正确的是    (   )

A.细管B对底面的压力等于2G

B.两管对侧壁的压力均小于G

C.两管之间的压力小于G

D.两管间的压力和对侧壁的压力均大于G

试题详情


同步练习册答案