0  265691  265699  265705  265709  265715  265717  265721  265727  265729  265735  265741  265745  265747  265751  265757  265759  265765  265769  265771  265775  265777  265781  265783  265785  265786  265787  265789  265790  265791  265793  265795  265799  265801  265805  265807  265811  265817  265819  265825  265829  265831  265835  265841  265847  265849  265855  265859  265861  265867  265871  265877  265885  447090 

24.(15分)如图所示,水平向右的恒力F=8N,作用在静止于光滑水平面上质量为M=8kg的小车上,当小车的速度达到%=1.5m/s时,在小车右端相对地面无初速地放上-个质量为m=2kg的小物块,物块与小车间的动摩擦因数=0.2,小车足够长,设最大静摩擦力与滑动摩擦力相等,g取10m/s2.求:

  (1)从物块放上小车开始计时,经多长时间t物块与小车刚好达到共同速度.

  (2)从物块放上小车到物块与小车刚好达到共同速度的过程,摩擦力对物块做功的平均

  功率P和系统产生的热量Q.

试题详情

13.(16分)

  (1)解:由动能定理:

 q=-                 (3分)

 解出vm==5×106m/s                  (1分)

(用平抛运动规律算出正确答案也给全分)

(2)证明:如图,设粒子在电场中的侧移为y,则

=            (2分)

l=v0t            (1分)

y=t           (2分)

联立解得x=        (1分)

(用其它方式证明出来也按对)

(3)解:如图,设环带外圆半径为R2

所求d= R2-R1           (1分)

R12+rm2=(R2-rm)2          (2分)

 qvmB=           (2分)

联立解得:d=(2-)m=O.586m   (1分)

试题详情

12.(15分)解:(1)对冰壶在B→0段,由速度位移公式:

  0-vm2 =-2aL2                     (2分)

a= =μg                    (2分)

联立解出vm =                 (1分)

(2)在A→B段,对冰壶由动能定理得:

W-μmgL1 =-0                  (3分)

结合vm =,解出W =μmg(L1+ L2)        (2分)

(3)从B→O段,由动能定理得:

-μmg-mg =-           (3分)

vm =代入,解出v =        (2分)

试题详情

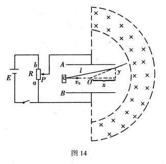
13.(16分)如图14所示,两平行金属板A、B长度l=0.8m,间距d=0.6m.直流电源E能提供的最大电压为9×105V,位于极板左侧中央的粒子源可以沿水平方向向右连续发射比荷为=l×107C/kg、重力不计的带电粒子,射人板间的粒子速度均为v0=4×106m/s.在极板右侧有一个垂直纸面向里的匀强磁场,磁感应强度B=lT,分布在环带区域中,该环带的内外圆的圆心与两板间的中心重合于O点,环带的内圆半径Rl= m.将变阻器滑动头由a向b慢慢滑动,改变两板间的电压时,带电粒子均能从不同位置穿出极板射向右侧磁场,且两板间电压最大时,对应的粒子恰能从极板右侧边缘穿出.

(1)问从板间右侧射出的粒子速度的最大值vm是多少?

(2)若粒子射出电场时,速度的反向延长线与v0所在直线交于O/点,试用偏转运动相关量证明O/点与极板右端边缘的水平距离x=,即O/与0重合,所有粒子都好像从两板的中心射 出一样.

(3)为使粒子不从磁场右侧穿出,求环带磁场的最小宽度d.

[2010临沂一模答案]

试题详情

12.(15分)2010年2月在加拿大温哥华举行的第2l届冬季奥运会上,冰壶运动再次成为人们关注的热点,中国队也取得了较好的成绩.如图13,假设质量为m的冰壶在运动员的操控下,先从起滑架A点由静止开始加速启动,经过投掷线B时释放,以后匀减速自由滑行刚好能滑至营垒中心O停下.已知AB相距L1,BO相距L2,冰壶与冰面各处动摩擦因数均为μ,重力加速度为g

(1)求冰壶运动的最大速度vm

(2)在AB段运动员水平推冰壶做的功W是多少?

(3)若对方有一只冰壶(冰壶可看作质点)恰好紧靠营垒圆心处停着,为将对方冰壶碰出,推壶队员将冰壶推出后,其他队员在BO段的一半长度内用毛刷刷冰,使动摩擦因数变为μ.若上述推壶队员是以与原来完全相同的方式推出冰壶的,结果顺利地将对方冰壶碰出界外,求运动冰壶在碰前瞬间的速度v

试题详情

18.解:(1)核反应方程式为

      ①

  (2)由爱因斯坦的质能方程   ②

   核反应所释放的能量△E为

      ③

  (3)由能量关系得   ④

   得   ⑤

   评分标准:本题共8分,②④式各1分,其它各2分

[2010临沂一模]

试题详情

15.解:(1)由图乙可知,线圈刚进入磁场时的感应电流I1=0.1A,

得   ①

    ②

   ③

  (2)由图乙,在第2s时间内,线圈中的电流随时间均增加,线圈速度随时间均匀增加,线圈所受安培力随时间均匀增加,且大小N   ④

   时线圈的速度   ⑤

   线圈在第2s时间内的加速度   ⑥

   由牛顿定律得   ⑦

  (3)在第2s时间内,线圈的平均速度   ⑧

     ⑨

   评分标准:本题共15分,⑤⑥⑧式各1分,其它各2分

试题详情

14.解:(1)推力做功全部转化为

弹簧的弹性势能,则有

   ①

即:

   ②

由牛顿运动定律得

   ③

  (2)设滑块到达B点时的速度为,由能量关系有

   ④

对滑块,由牛顿定律得

   ⑤

   ⑥

由牛顿第三定律可知,滑块对B点的压力62N   ⑦

  (3)设滑块能够到达C点,且具有速度vc,由功能关系得

   ⑧

代入数据解得   ⑨

故滑块能够越过C点

从滑块离开C点到再次回到C点过程中,物体做匀变速运动,以向下为正方向,有

   ⑩

   (11)

评分标准:本题共12分,⑧式2分,其它各1分。

试题详情

18.(8分)[选修3-5]

太阳的能量来自氢核聚变:即四个质子(氢核)聚变一个粒子,同时发射两个正电子和两个没有静止质量的中微子.如果太阳辐射能量的功率为P,质子H、氦核、正电子的质量分别为,真空的光速为c,则

  (1)写出上述核反应方程式;

  (2)计算每一次聚变所释放的能量△E;

  (3)计算t时间内因聚变生成的粒子数n. 

[2010潍坊一模答案]

试题详情

15.(15分)如图甲所示,光滑绝缘水平面上,磁感应强度B=2T的匀强磁场以虚线MN为左边界,MN的左侧有一质量m=0.1kg,bc边长L1=0.2m,电阻R=2Ω的矩形线圈abcd.t=0时,用一恒定拉力F拉线圈,使其由静止开始向右做匀加速运动,经过时间1 s,线圈的6c边到达磁场边界MN,此时立即将拉力F改为变力,又经过1s,线圈恰好完全进入磁场.整个运动过程中,线圈中感应电流i随时间t变化的图象如图乙所示.

  (1)求线圈bc边刚进入磁场时的速度v1和线圈在第ls内运动的距离x;

  (2)写出第2s内变力F随时间t变化的关系式;

  (3)求出线圈ab边的长度L2.

试题详情


同步练习册答案