0  291423  291431  291437  291441  291447  291449  291453  291459  291461  291467  291473  291477  291479  291483  291489  291491  291497  291501  291503  291507  291509  291513  291515  291517  291518  291519  291521  291522  291523  291525  291527  291531  291533  291537  291539  291543  291549  291551  291557  291561  291563  291567  291573  291579  291581  291587  291591  291593  291599  291603  291609  291617  447090 

读图9,①是欧洲最大港,②是波斯湾沿岸港口,完成26~27题

26.一油轮从港口②到港口①依次可能经过

A.英吉利海峡、苏伊士运河、曼德海峡

B.直布罗陀海峡、红海、马六甲海峡

C.地中海、红海、阿拉伯海

图9
 
D.霍尔木兹海峡、苏伊士运河、直布罗陀海峡

27.②所在半岛气候干旱,而同纬度的③地区被称为“回归沙漠带上的绿洲”,是因为

A.②地深居内陆,距海远

B.②地终年受副热带高压控制,盛行下沉气流,不易成云降雨

C.③地受季风环流影响大,夏季风可带来大量降水

D.③地夏季受东北信风影响,且位于迎风坡,多地形雨

试题详情

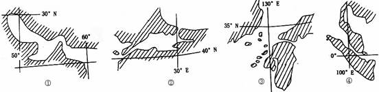
图8是亚洲四个国家的陆地轮廓图,读图完成23~26题

图8
 
23.石油资源较为丰富,出口量也较大的国家是

A.①②    B.①③    C.②④    D.②③

24.②国和③国相比,年降水量相差较大,其主要影响因素是

A.纬度差异  B.地形    C.受不同气压带、风带的控制    D.距海远近

25.④国3~5月气温比亚洲同纬度其他地区较高,形成“热季”,是因为

A.北部有高山屏障,冬季风影响不到这里

B.西南季风来得早,势力强

C.纬度低,正午太阳高度大,太阳辐射强

D.地势低,气温高

试题详情

图7为四地区的“气温和降水季节分配情况示意图”,读图完成20~22题

图7
 

20.下列城市与四种气候类型对应正确的一组是

A.①-开普敦,②-罗马,③-伦敦,④-孟买     

B.①-伦敦,②-罗马,③-开普敦,④-孟买     

C.①-伦敦,②-罗马,③-开普敦,④-巴马科      

D.①-伦敦,②-罗马,③-孟买,④-开普敦

21.常年受气压带和风带交替控制而形成的气候是

A.①②④   B.①②③   C.①③④   D.②③④

22.当③气候区处于雨季时,我国一艘油轮从波斯湾返航,途经北印度洋海区时

A.顺风顺水        B.逆风逆水  

C.顺风逆水        D.逆风顺水

试题详情

读图6“世界主要海峡示意图”,完成17~19题

图6
 
17.与图中①②③④四个海峡对应正确的一组是

A.曼德海峡、土耳其海峡、英吉利海峡、马六甲海峡

B.霍尔木兹海峡、土耳其海峡、朝鲜海峡、马六甲海峡

C.霍尔木兹海峡、直布罗陀海峡、英吉利海峡、马六甲海峡

D.曼德海峡、直布罗陀海峡、朝鲜海鲜、马六甲海峡

18.许多国家进口石油必经的海上交通要道是

A.①     B.②③     C.①④    D.④

19.④海峡所在地区多

A.锋面雨    B.对流雨   C.地形雨   D.飓风雨

试题详情

图5是世界地图的一段纬线,P点以东是海洋,Q点以西是海洋,S和T之间是某一海域,判断14~16题

图5
 
14.S ~ T之间的海域是

A.波斯湾     B.莫桑比克海峡     C.红海    D.墨西哥湾

15.实际观测表明,P海岸降水明显多于T海岸,其主要原因是

A.暖流对沿岸气候起到增湿作用   B.西南季风带来大量降水

C.东南信风带来大量降水      D.位于东南信风的迎风坡,多地形雨

16.Q沿岸地区的自然带的形成,体现了

A.纬度地带性规律         B.经度地带性规律

C.垂直地带性规律         D.地方性分异规律

试题详情

读图4各大洲地形剖面图完成11~13题

图4
 
11.下列判断正确的是

A.A图为欧洲   B.B图是亚洲   C.C图是北美洲   D.D图为大洋洲

12.A图所示的大洲东部是世界上季风气候最显著的地区,主要是因为

A.背靠最大的陆地,面临最大的洋,海陆热力差异最显著

B.气压带、风带随季节的移动

C.东部有日本暖流经过

D.中部地势太高,有利于高压形成

13.图示四个大洲都有的气候类型是

①热带雨林气候 ②热带季风气候 ③地中海气候 ④温带海洋性气候 ⑤温带大陆性气候

A. ①②     B. ①③⑤      C. ①③     D.②③④

试题详情

读图3,完成8~10题

8.下列关于A、B两幅图的叙述正确的是

A.A图表示的实际范围比B图大

B. A图表示的内容比B图详细

C. A图表示的实际范围内容比B图简略

D. A图的比例尺比B图小

9已知A图的比例尺为1:400万,若将此比例尺扩大到原图的2倍,则新图

A.比例尺为1:800万

图3
 
B. 若图幅面积不变,只能表示原图范围的一半

C. 图幅面积将是A图的4倍

D.内容比原图更简略.

10.若一架飞机从B图中M地以时速200km一直向南飞,到达N两地需要的时间约为

A.10小时    B.11小时   C.12小时   D.14小时

试题详情

图2为某区域等高线地形图,读图完成5 ~ 7题

5.A地附近的陡崖的相对高度最大值为

A.40米   B.50米   C.60米    D.59.9米

6.站在E地可以用肉眼直接观察到的地点是

A.A地   B.B地   C.C地     D.D地

7.D地可能是

图2
 
A.山谷   B.山脊   C.有河流发育    D.山顶

试题详情

读图1,完成1~ 4题

1.下列关于经线和纬线的描述,正确的是

A.30°纬线的长度是赤道的一半

B.任意两条经线长度之和与赤道等长

C.沿任意经线一直向北走,都可以回到出发地

D.A点所在纬线比B点所在纬线长

2.地点B的对趾点的地理坐标是

图1
 
A. 20°S、120°E   B. 20°N、120°E  

C. 20°N、120°W    D. 20°N、60°W

3.下列关于A、B两地的描述,与题意相符的是

A.A地在B地的东北方    B. A地北半球,B地在南半球,均属于中纬度地区

C.A地和B地均在东半球   D.A、B两地均有太阳直射现象

4.一架飞机从A地沿最短航线飞向B地,其航向应该是

A.先向东北,再向东南    B.先向西北,再向西南

C. 一直向东南        D. 先向东,再向南

试题详情


同步练习册答案