0  296905  296913  296919  296923  296929  296931  296935  296941  296943  296949  296955  296959  296961  296965  296971  296973  296979  296983  296985  296989  296991  296995  296997  296999  297000  297001  297003  297004  297005  297007  297009  297013  297015  297019  297021  297025  297031  297033  297039  297043  297045  297049  297055  297061  297063  297069  297073  297075  297081  297085  297091  297099  447090 

8.如图所示,跨在光滑圆柱体侧面上的轻绳两端分别系有质量为mAmB的小球,系统处于静止状态.AB小球与圆心的连线分别与水平面成60°和30°角,则两球的质量之比和剪断轻绳时两球的加速度之比分别为

A.1:1    1:2    B.1:1   1:

C.:1   1:1    D.:1  1:

试题详情

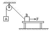
7.如图所示,物体A和B质量均为m,且分别与轻绳连接跨过定滑轮,当用力拉B沿水平面向右作匀速运动的过程中,绳对A的拉力大小是

A.大于mg       B.小于mg

C.总等于mg      D.由大于mg逐渐变为小于mg

试题详情

6. 从地面竖直上抛一个小球,设小球从地面上升到最高点所用的时间为;从最高点下落到地面所用的时间为。若考虑空气阻力作用,则

   A.      B.      C.    D. 无法判断

试题详情

5.下表是四种交通工具的速度改变情况,下列说法正确的是   

 
初始速度(m/s)
经过时间(s)
末速度(m/s)

2
3
11

0
3
6

0
20
6

0
100
20

   A.①的速度变化最大,加速度最大      B.②的速度变化最慢

   C.③的速度变化最快            D.④的末速度最大,但加速度最小

试题详情

4.如图所示,质量分别为m1m2m3的小物块ABC用两根相同的自然长度为、劲度系数为k的轻弹簧连接起来,在竖直向上的外力F的作用下静止,小物块ABC可视为质点,AC之间的距离是

A.             B.

C.             D.          

试题详情

3、用轻弹簧竖直悬挂质量为m的物体,静止时弹簧伸长量为L.现用该弹簧沿斜面方向拉住质量为2m的物体,系统静止时弹簧伸长量也为L.斜面倾角为300,如图所示.则物体所受摩擦力

A.等于零            B.大小为,方向沿斜面向下

C.大小为,方向沿斜面向上  D.大小为mg,方向沿斜面向上

试题详情

2、如图所示,质量为m的等边三棱柱静止在水平放置的斜面上。已知三棱柱与斜面之间的动摩擦因数为,斜面的倾角为,则斜面对三棱柱的支持力与摩擦力的大小分别为( )

A.mg和mg     B.mg和mg

C.mg和mg    D.mg和mg

试题详情

1、水平地面上有一木箱,木箱与地面之间的动摩擦因数为。现对木箱施加一拉力F,使木箱做匀速直线运动。设F的方向与水平面夹角为,如图,在从0逐渐增大到90°的过程中,木箱的速度保持不变,则  (   )

A.F先减小后增大      B.F一直增大

C.F的功率减小       D.F的功率不变

试题详情

1. D  2.C  3.A  4.C  5.B  6.C  7.D  8.C

试题详情

21.如图所示,在倾角为30°的足够长的光滑斜面上有一质量为的物体,它受到沿斜面方向的力F的作用。力F可按图(a)、(b)、(c)、(d)所示的四种方式随时间变化(图中纵坐标是Fmg的比值,为沿斜面向上为正)

  已知此物体在t=0时速度为零,若用分别表示上述四种受力情况下物体在3秒末的速率,则这四个速率中最大的是

A.               B.          C.         D.

试题详情


同步练习册答案