0  297431  297439  297445  297449  297455  297457  297461  297467  297469  297475  297481  297485  297487  297491  297497  297499  297505  297509  297511  297515  297517  297521  297523  297525  297526  297527  297529  297530  297531  297533  297535  297539  297541  297545  297547  297551  297557  297559  297565  297569  297571  297575  297581  297587  297589  297595  297599  297601  297607  297611  297617  297625  447090 

20.我国古代嫦娥奔月的传说、敦煌莫高窟的飞天壁画、西游记孙悟空的腾云驾雾,都表达了古代人们探索宇宙苍穹的愿望。我国实现飞天梦想,中国人能够实地考察宇宙苍穹的伟大壮举是

   A.东方红1号卫星的发射成功       B.第一颗原子弹试爆成功

C.神舟五号载人航天飞船的发射成功   D.第一颗氢弹试爆成功

试题详情

19.春联是中国特有的文学艺术形式,也折射出了历史的变迁,具有很强的时代性,据此判断以下农家百姓春联出现的先后顺序是

①食堂巧煮千家饭,公社饱暖万人心     ②改革开放同添异彩,经济建设共展宏图

③万里山河归人民,五亿群众庆新生

A.①②③      B.③①②      C.①③②      D.②①③

试题详情

18.据有关资料统计,1946年的铁路运送达12358.5万人次,比之前的最高年份高出7300多万人次。造成这种现象的主要原因是   

A.中国交通运输业的快速发展        B.国民政府政治中心迁回重庆

C.政局稳定,各地交流频繁         D.抗战胜利后民众向收复区回流

试题详情

17.《青年》(《新青年》前身)杂志的封面上印着“La Jeunesse”,就是法语“青年”的意思。人们经常用它的副题‘La  Jeunesse’来称呼它。这个副题的选择不是偶然的,因为

A.陈独秀曾留学法国,喜欢法语

B.这本杂志是和法国人合编的

C.上海是法租界,在杂志出版时必须附上法语

D.当时中国的思想界深受法国思想的影响

试题详情

16.以下言论中,体现洋务派兴办民用工业思想的是

A.“识时务者莫不以采西学制洋器为自强之道”

B.“欲自强,必须裕饷,欲裕饷莫如振兴商务”

C.“仅以忠信为甲胄,礼义为干橹等词,谓可折冲樽俎,足以制敌之命,……实未敢信。”

D.“中国欲自强,则莫如学习外国利器。”

试题详情

15.从明朝的内阁到清朝军机处的设立,不能反映的是

A.中国古代政治体制发生了根本变化        B.中国古代专制皇权达到顶峰

C.在皇权与相权的斗争中,皇权取得了最终胜利   D.中国封建制度日趋衰落

试题详情

14.史料记载,北魏初年“州郡之民,或因年俭流移,弃卖田宅,漂居异乡,事涉数世”,后来却纷纷“返旧墟”,导致这种变化产生的最主要因素是当时统治者实行了

A.屯田制         B.均田令        C.征役制      D.雇募制

试题详情

13.鸦片战争后,中国的茶叶和生丝出口数量猛增。这一现象的实质问题是  

   A.中国在对外贸易中逐渐取得优势

   B.茶叶和生丝获利多,农民生活得到改善

  C.茶叶和生丝日益商品化  

   D.中国沦为列强的原料产地,开始卷入资本主义世界市场

试题详情

12.中国古代每-个历史时期,都会有某种工艺品最能代表该时期最高的手工业水平,下面分类正确的是

   A.商周--铁器   唐宋一陶器    明清一瓷器

  B.商周--漆器   唐宋--青铜器  明清一瓷器

   C.商周--玉器   唐宋--漆器   明清一造船

  D.商周--青铜器  唐宋--瓷器   明清一丝织品

试题详情

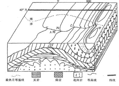
下图是40°N附近某地等高线地形图和海平面以下地层示意图,读图回答9-11题。

9.所示时间, A河流域的气候特点是:

A.高温多雨  B.温和多雨   C.炎热干燥   D.寒冷干燥

10.下列关于图示地区地质、地貌的叙述,正确的是

   A.向斜成谷,背斜成岭   B.①处可找到石油 

   C.③处可能为变质岩    D.②处比①处更不易被侵蚀

11.下列四地中有可能形成冲积扇的是:

 A.甲 B.乙 C.丙 D.丁

试题详情


同步练习册答案