0  312360  312368  312374  312378  312384  312386  312390  312396  312398  312404  312410  312414  312416  312420  312426  312428  312434  312438  312440  312444  312446  312450  312452  312454  312455  312456  312458  312459  312460  312462  312464  312468  312470  312474  312476  312480  312486  312488  312494  312498  312500  312504  312510  312516  312518  312524  312528  312530  312536  312540  312546  312554  447090 

1.下列选项中,属于基本的生命系统的是               

   A.蛋白质分子     B.大肠杆菌      C.噬菌体       D.蛙

试题详情

16.(12分)(7、8、9、10班同学做)如图12所示,在水平面上有AB两块相同的质量的木板放在一起不粘连,每块木板长l=1 m,木板与水平面间的动摩擦因数,木板与水平面间的最大静摩擦力略大于滑动摩擦力略大于滑动摩擦力,现有一质量的金属块以初速度A的左端向右滑动,金属块与木板间的动摩擦因数取10 m/s2,试求:

(1)金属块滑上B的左端时速度为多少?

(2)金属块停在木块B上何处?

图12
 
(3)整个过程中木块B的位移.

湖北省黄冈中学2009年秋季高一期末考试试题

试题详情

16.(12分)(7、8、9、10班同学不做)如图11,放在斜面底端的物体A用细绳利用定滑轮与物体B相连,已知斜面的倾角A物体的质量m1=0.1 kg,B物体距地面高h=1 m,物体A与斜面间的动摩擦因数g取10 m/s2,忽略细绳与滑轮的质量及滑轮的摩擦,斜面足够长。若AB物体由静止释放,B物体经t1=0.5 s落到地面,落地后不动,求①B物体的质量m2;②1.5 s时A物体到斜面底端的距离S.

试题详情

15.(12分)火星被认为是除地球之外最有可能存在生命的星球. 火星的质量是地球质量的0.1倍,半径是地球半径的0.5倍,假设火星是均匀球体,试求火星探测器围绕火星表面做匀速圆周运动的周期. 已知地球半径为R,地球表面重力加速度为g.(不考虑火星大气阻力的影响)

试题详情

14.(12分)如图10所示,当汽车通过拱桥顶点的速度为10 m/s时,车对桥顶的压力为车重的3/4,如果要使汽车在粗糙的桥面行驶至桥顶时,恰好不受桥面的摩擦力作用,则汽车通过桥顶的速度应为多少?

图10
 
 

试题详情

13.(10分)如图9所示,射击枪水平放置,射击枪与目标靶中心位于离地面足够高的同一水平线上,枪口与目标靶之间的距离s=100 m,子弹射出的水平速度v=200 m/s,不计空气阻力,取重力加速度g为10 m/s2,求:

(1)从子弹由枪口射出开始计时,经多长时间子弹击中目标靶?

图9
 
(2)子弹击中目标靶的位置与靶中心的距离h为多少?

试题详情

12.(8分)如图7为“用DIS(位移传感器、数据采集器、计算机)研究加速度与力的关系”的实验装置.

图7
 
 

(1)在该实验中必须采用控制变量法,应保持_________不变,用钩码所受的重力作为_________,用DIS测小车的加速度.

(2)改变所挂钩码的数量,多次重复测量. 在某次实验中根据测得的

图8
 
多组数据可画出关系图线(如图8所示).

①分析此图线的OA段可得出的实验结论是___________________.

②(单选题)此图线的AB段明显偏离直线,造成此误差主要原因是(   )

A.小车与轨道之间存在摩擦              B.导轨保持了水平状态

C.所挂钩码的总质量太大               D.所用小车的质量太大

试题详情

11.(6分)在研究平抛物体运动的实验中,用一张印有小方格的纸记录轨迹,小方格的边长l=1.25 cm,若小球在平抛物体运动中的几个位置如图6中的abcd所示,则小球平抛的初速度是__________ m/s, (g取9.8 m/s2).

图6
 
 

试题详情

10.假设有一载人宇宙飞船在距地面高度为4200km的赤道上空绕地球做匀速圆周运动,地球半径约为6400km,地球同步卫星距地面高为36000km,宇宙飞船和地球同步卫星绕地球同向运动,每当二者相距最近时. 宇宙飞船就向同步卫星发射信号,然后再由同步卫星将信号发送到地面接收站,某时刻二者相距最远,从此刻开始,在一昼夜的时间内,接收站共接收到信号的次数为(   )

A.4次            B.6次             C.7次            D.8次

试题详情

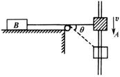
9.如图5所示,物体A以速度v沿杆匀速下滑,A用细绳通过定滑轮拉物体B,当绳与水平夹角为时,B的速度为:        (   )

A.vcos             B.vsin               C.v/cos                 D.v/sin

图5
 
 

试题详情


同步练习册答案