0  337233  337241  337247  337251  337257  337259  337263  337269  337271  337277  337283  337287  337289  337293  337299  337301  337307  337311  337313  337317  337319  337323  337325  337327  337328  337329  337331  337332  337333  337335  337337  337341  337343  337347  337349  337353  337359  337361  337367  337371  337373  337377  337383  337389  337391  337397  337401  337403  337409  337413  337419  337427  447090 

2.某电视专题片中出现了三组镜头,分别反映了不同朝代为解决洪水灾害,中央政府的运作情况: ①蜀郡洪水为患,丞相与诸卿拿出治理方案,交给皇帝裁决 ②渝州发生洪灾,中书省按皇帝旨意起草文件,交门下省审核后,再交尚书省,尚书省交工部、户部办理 ③徐州府爆发洪灾,阁臣据皇帝旨意写成诏书,直送工部、户部执行赈灾。据所学知识判断,上述历史场景最早出现的朝代分别是

A. 秦、唐、元   B. 秦、唐、明     C. 秦、元、清      D. 汉、宋、明

试题详情

1. 1975年底,在湖北云梦睡虎地出土了一千一百余枚秦代竹简。墓主人生前任县令史,竹简法条是他抄录的有关法律文书,记录了刑事、经济、民事和官吏管理的法律条文,是弥足珍贵的历史资料,从中可以得到秦朝的确切信息是

A.关心民众生活  B.加强专制集权  C.形成立法规范  D.进入法治社会

试题详情

7.(12分)如图所示,光滑绝缘的细圆管弯成半径为R的半圆形,固定在竖直面内,管口B、C的连线是水平直径.现有一带正电的小球(可视为质点)从B点正上方的A点自由下落,A、B两点间距离为4R.从小球进入管口开始,整个空间中突然加上一个匀强电场,电场力在竖直向上的分力大小与重力大小相等,结果小球从管口C处脱离圆管后,其运动轨迹经过A点.设小球运动过程中带电量没有改变,重力加速度为g,求:(1)小球到达B点的速度大小;(2)小球受到的电场力的大小  (3)小球经过管口C处时对圆管壁的压力.k+s-5#u 

试题详情

6.(10分)如图所示,一带电粒子垂直射人匀强电场,经电场偏转后从磁场的左边界上A点进入垂直纸面向外的匀强磁场中,最后从磁场的左边界上的B点离开磁场。已知:带电粒子比荷=3.2×109C/kg,电场强度E=200 V/m,磁感应强度B=2.5×10-2T,金属板长L=25 cm,粒子初速度v0=4×105 m/s。求:A、B之间的距离。(带电粒子重力忽略不计) k+s-5#u 

试题详情

5.(10分)如图所示,一质量为m=1 kg、长为L=1 m的直棒上附有倒刺,物体顺着直棒倒刺下滑,其阻力只为物体重力的1/5,逆着倒刺而上时,将立即被倒刺卡住.现该直棒直立在地面上静止,一环状弹性环自直棒的顶端由静止开始滑下,设弹性环与地面碰撞不损失机械能,弹性环的质量M=3 kg,重力加速度g=10 m/s2.求直棒在以后的运动过程中底部离开地面的最大高度. k+s-5#u 

试题详情

4.(10分)跳伞运动员从跳伞塔上跳下,当降落伞全部打开时,伞和运动员所受的空气阻力大小跟下落速度的平方成正比,即,已知比例系数。运动员和伞的总质量m=72kg,设跳伞塔足够高且运动员跳离塔后即打开伞,取,求:

(1)跳伞员的下落速度达到3m/s时,其加速度多大?  (2)跳伞员最后下落速度多大?

(3)若跳伞塔高200m,则跳伞员从开始跳下到即将触地的过程中,损失了多少机械能? k+s-5#u 

试题详情

3、倾角,一劲度系数为k的绝缘弹簧下端与固定于斜面底端的挡板相连,另一端与带正电的小球A相连,小球A质量为m,电量为q .匀强电场的方向平行斜面向上,小球A静止时弹簧恰为原长。另一质量也为m的不带电的绝缘小球B从距AP点由静止开始下滑,与A发生碰撞时即一起沿斜面向下运动(全过程中小球A 的电量不发生变化,重力加速度为g)。w.w.^w.k.s.5*

(1)试求匀强电场的电场强度E的大小;k+s-5#u 

(2)若已知,试求BA碰撞时损失的机械能;k+s-5#u 

(3)若未知,且BA在最高点恰未分离,试求A运动过程中的最大速度

试题详情

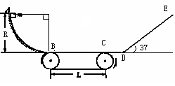
2、如图所示,光滑1/4圆弧形槽的底端B与长L=5m的水平传送带相接,滑块与传送带间动摩擦因数为0.2,与足够长的斜面DE间的动摩擦因数为0.5,斜面与水平面间的夹角θ=37°。CD段为光滑的水平平台,其长为1m,滑块经过BD两点时无机械能损失。质量m=1kg的滑块从高为R=0.8m的光滑圆弧形槽的顶端A处无初速度地滑下。求 (sin37°=0.6 cos37°=0.8,g=10 m/s2,不计空气阻力) :(1) 当传送带不转时,滑块在传送带上滑过的距离? w.w.^w.k.s.5*

(2) 当传送带以2m/s的速度顺时针转动时,滑块从滑上传送带到第二次到达D点所经历的时间t

(3)当传送带以2m/s的速度顺时针转动时,滑块在斜面上通过的总路程s。k+s-5#u 

试题详情

1、绝缘材料制成的圆柱形细管质量为4m、带电荷量为+q、管长为h,管底封闭且水平,由于空间有竖直向上的匀强电场,它刚好能竖直静止。现从其管口无初速释放一个绝缘的、不带电的、质量为m的小球(直径小于管的内径,可以视为质点),不计空气对小球和细管的作用力,在小球和细管的运动或碰撞过程中,不会改变各自的带电情况,已知重力加速度为g,问:w.w.^w.k.s.5*

(1)电场强度E多大?k+s-5#u 

(2)小球第一次与管底碰撞前瞬间的速度多大?

(3)小球与管底的碰撞为弹性碰撞(机械能不变)且碰撞时间可忽略,小球第二次与管底碰前瞬间的速度多大?

试题详情

40、我国古典优秀诗歌中,常常突出一个典型事例来概括事物本质。晚唐诗人杜牧根据飞骑送荔枝一事,只用“          ,         ”(《过华清宫》)两句14个字,便勾勒出唐明皇与杨贵妃骄奢淫逸的生活。              

试题详情


同步练习册答案