0  339182  339190  339196  339200  339206  339208  339212  339218  339220  339226  339232  339236  339238  339242  339248  339250  339256  339260  339262  339266  339268  339272  339274  339276  339277  339278  339280  339281  339282  339284  339286  339290  339292  339296  339298  339302  339308  339310  339316  339320  339322  339326  339332  339338  339340  339346  339350  339352  339358  339362  339368  339376  447090 

1.假定某国在一年内,商品价格总额增长20%,货币流通次数增加50%,在其他条件不变的情况下,则该国1元纸币的购买力相当于原来   元的购买力,该国居民这一年年初较为合理的投资方式有  

   A.0.80储蓄存款        B.1.25储蓄存款

   C.0.80购买股票         D.1.25购买股票

试题详情

14.(16分)(2001年春季高考试题)两根足够长的固定的平行金属导轨位于同一水平面内,两导轨间的距离为l.导轨上面横放着两根导体棒abcd,构成矩形回路,如图2-10-15所示.两根导体棒的质量皆为m,电阻皆为R,回路中其余部分的电阻可不计.在整个导轨平面内都有竖直向上的匀强磁场,磁感应强度为B.设两导体棒均可沿导轨无摩擦地滑行.开始时,棒cd静止,棒ab有指向棒cd的初速v0(见图2-10-15).若两导体棒在运动中始终不接触,求: 

图2-10-15

(1)在运动中产生的焦耳热最多是多少? 

(2)当ab棒的速度变为初速度的时,cd棒的加速度是多少? 

试题详情

13.(14分)匀强磁场磁感应强度B=0.2 T,磁场宽度L=3 m,一正方形金属框边长ab=l=   1 m,每边电阻r=0.2 Ω,金属框以v=10 m/s的速度匀速穿过磁场区,其平面始终保持与磁感线方向垂直如图2-10-14所示,求: 

(1)画出金属框穿过磁场区的过程中,金属框内感应电流的I-t图线.(要求写出作图依据) 

(2)画出ab两端电压的U-t图线.(要求写出作图依据)  

图2-10-14        

试题详情

12.(12分)据报道,1992年7月,美国“阿特兰蒂斯”号航天飞机进行了一项卫星悬绳发电实验,实验取得了部分成功.航天飞机在地球赤道上空离地面约300 km处由东向西飞行,相对地面的速度大约为6.5×103 m/s,从航天飞机上向地心方向发射一颗卫星,携带一根长20 km、电阻为800 Ω的金属悬绳,使这根悬绳与地磁场垂直,做切割磁感线运动,假定这一范围内的地磁场是均匀的,磁感应强度为4×10-5 T,且认为悬绳上各点的切割速度和航天飞机的速度相同,根据理论设计,通过电离层(由等离子体组成)的作用,悬绳可产生约3 A的感应电流,试求: 

(1)金属悬绳中产生的感应电动势; 

(2)悬绳两端的电压; 

(3)航天飞机绕地球运行一圈悬绳输出的电能(已知地球半径为6400 km).  

试题详情

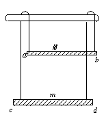
11.如图2-10-13所示,金属杆abcd长均为L,电阻约为R,质量分别为MmMm.用两根质量和电阻均可忽略的不可伸长的柔软导线将它们连成闭合回路,并悬挂在水平、光滑、不导电的圆棒两侧,两金属杆都处在水平位置,整个装置处在一与回路平面相垂直的匀强磁场中,磁感应强度为B,若金属杆ab正好匀速向下运动,则运动的速度为________.

图2-10-13

试题详情

10.(2002年广东高考试题)如图2-10-12所示,半径为R、单位长度电阻为λ的均匀导体圆环固定在水平面上,圆环中心为O.匀强磁场垂直水平面方向向下,磁感应强度为B.平行于直径MON的导体杆,沿垂直于杆的方向向右运动.杆的电阻可以忽略不计,杆与圆环接触良好.某时刻,杆的位置如图,∠aOb=2θ,速度为v.此时刻作用在杆上安培力的大小是___________________. 

试题详情

9.(2002年上海高考试题)已知某一区域的地下埋有一根与地表面平行的直线电缆,电缆中通有变化的电流,在其周围有变化的磁场,因此可以通过在地面上测量闭合试探小线圈中的感应电动势来探测电缆的确切位置、走向和深度.当线圈平面平行地面测量时,在地面上ac两处测得试探线圈中的电动势为零,bd两处线圈中的电动势不为零;当线圈平面与地面成45°夹角时,在bd两处测得试探线圈中的电动势为零.经过测量发现,abcd恰好位于边长为1 m的正方形的四个顶角上,如图2-10-11所示.据此可以判定地下电缆在_______两点连线的正下方,离地表面的深度为_______m. 

 

图2-10-11        图2-10-12

试题详情

8.一闭合线圈固定在垂直于纸面的匀强磁场中,设向里为磁感应强度B的正方向,线圈中的箭头为电流i的正方向,如图2-10-8所示,已知线圈中感应电流i随时间而变化的图象.如图2-10-9所示,则磁感应强度B随时间而变化的图象可能是图2-10-10中的 

图2-10-8         图2-10-9

图2-10-10

试题详情

7.用同种材料粗细均匀的电阻丝做成abcd、ef三根导线,ef较长,分别放在电阻可忽略的光滑平行导轨上,如图2-10-7所示,磁场是均匀的,用外力使导线水平向右做匀速运动,(每次只有一根导线在导轨上)而且每次外力做功功率相同,则下列说法正确的是 

图2-10-7

A.ab运动得最快

B.ef运动得最快 

C.导线产生的感应电动势相等

D.每秒钟产生的热量相等 

试题详情

6.如图2-10-6所示,正方形闭合导线框abcd处于垂直框平面的匀强磁场中,一根金属杆MN靠近ab边放在导线框上,在平行线框平面的拉力F作用下,沿导线框向cd边匀速滑动,滑动时MN杆始终与ab边平行,且与导线框接触良好.若导线框与MN杆间摩擦不计.MN杆与导线框每个边的电阻均相同,则在匀速滑动的过程中 

图2-10-6

A.MN杆中的电流有一次最小值 

B.MN杆两端电压有一次最小值 

C.拉力F有一次最小值 

D导线框消耗的电功率有最大值 

试题详情


同步练习册答案