0  349838  349846  349852  349856  349862  349864  349868  349874  349876  349882  349888  349892  349894  349898  349904  349906  349912  349916  349918  349922  349924  349928  349930  349932  349933  349934  349936  349937  349938  349940  349942  349946  349948  349952  349954  349958  349964  349966  349972  349976  349978  349982  349988  349994  349996  350002  350006  350008  350014  350018  350024  350032  447090 

11.某变电站用220V电压输电,线路损失功率为输出功率的20%,若要使导线损失功率为输出功率5%,则输电电压应为    V

试题详情

10.如图46-20所示的理想变压器,UAB=220V,nbC=10匝,R=10Ω,当S由b掷到c时流过R的电流强度增加了0.2A,则铁芯中磁通量Φ的变化率=    Wb/s(结果保留两位有效数字)

试题详情

9.图46-19中A、B是一对中间开有小孔的平行金属板,两小孔的连线与金属板面相垂直,两极板的距离为l,两极板加低频交流电.A板电势为零,B板电势,现有一电子在t=0时穿过A板上的小孔射入电场,设初速度和重力的影响均可忽略不计,则电子在两极板间可能(   )

A.以AB间的某一点为平衡位置来回振动

B.时而向B板运动,时而向A板运动,但最后穿出B板

C.如果ω小于某个值ω0,l小于某个值l0,电子一直向B板运动,最后穿出B板

D.一直向B板运动,最后穿出B板,而不论ω、l为何值

试题详情

8.图46-18中T是绕有两组线圈的闭合铁心,线圈的绕向如图所示,D是理想的二极管,是一种电子线路的重要元件,它具有单向导电性,即电流只能从其正极流向负极,金属棒ab可在两条平行的金属导轨上沿导轨滑行,磁场方向垂直纸面向里,若电流计G中有电流通过,则ab棒的运动可能是(  )

A 向左匀速运动   B向右匀速运动 

C向左匀加速运动   D向右匀加速运动

试题详情

7.图46-17中的甲、乙是配电房的互感器和电表的接线图,下列说法正确的是 (  )

A 线圈匝数N1<N2,N3<N4  B线圈匝数N1>N2,N3<N4

C 甲图中的电表是电压表,乙图中的电表是电流表

D甲图中的电表是电流表,乙图中的电表是电压表

试题详情

6.在远距离输电时输送的电功率为P,输出电压为U,所用导线的电阻率为ρ,横截面积为S,总长度为L,输电线损耗的功率为P,用户得到的功率为P。则下列P、P的表达式正确的是  (  )

A P=    B P= 

C P=P-    D P=P(1-)

试题详情

5.如图46-16所示是四种亮度可调的台灯的电路示意图,它们所用的白炽灯相同,且都是“220V 40W”当灯泡所消耗的功率都调至40W时,消耗功率最小的台灯是

(  )

     图46-16

试题详情

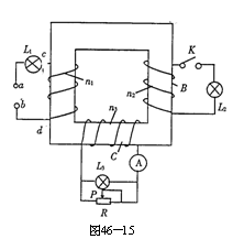
4.如图46-15所示为双输出的理想变压器,其中A为输入端线圈,B、C为两个输出端线圈,且n1:n2:n3=3:2:1,灯L1标有“6V 6W”的字样,当ab接有18V的交流电时,L1正常发光,电流表的读数为0.5A,那么  (  )

A 线圈B、C两端电压为12V和6V

B 线圈B所连灯L2消耗电功率为10W

C 若用导线将L1短路后,变压器的B、C线圈的输出电压、输出功率均变大

D 若用导线将L1短路,并使滑动触头P向右移动,则变压器的输入功率一定变大

试题详情

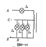
3. 如图46-14所示,为一理想自耦变压器示意图,L1、L2、L3、L4为四个完全相同的灯泡,在A、B两点加交变电压U1时,四个灯泡都同样正常发光,设C、D两端的电压为U2,则U1:U2 (  )

A 4:1  B 3:1 C 2:1  D 6:1

试题详情

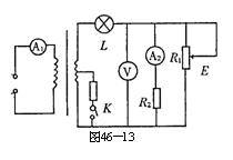
2. 如图46-13所示的电路中,理想变压器初级加一个固定的交变电压,那么下列情况正确的是  ( )

 

A 当滑动头E上移时,灯泡L变亮

B当滑动头E上移时,电流表A1读数变大

C 当滑动头E上移时,电压表V读数变大

D 若闭合开关K,则电流表A1读数变大,而A2读数变小

试题详情


同步练习册答案