0  382144  382152  382158  382162  382168  382170  382174  382180  382182  382188  382194  382198  382200  382204  382210  382212  382218  382222  382224  382228  382230  382234  382236  382238  382239  382240  382242  382243  382244  382246  382248  382252  382254  382258  382260  382264  382270  382272  382278  382282  382284  382288  382294  382300  382302  382308  382312  382314  382320  382324  382330  382338  447090 

10.(10分)光电计时器是一种研究物体运动情况的常用计时仪器,其结构如图(a ) 所示,ab分别是光电门的激光发射和接受装置,当有物体从ab间通过时,光电计时器就可以精确地把物体从开始挡光到挡光结束的时间记录下来.现利用图(b)所示的装置测量滑块和长木板间的动摩擦因数,图中MN是水平桌面,Q是长木板与桌面的接触点,1和2是固定在长木板上适当位置的两个光电门,与之连接的两个光电计时器没有画出,长木板顶端P点悬有一铅锤,实验时,让滑块从长木板的顶端滑下,光电门1、2各自连接的计时器显示的挡光时间分别为1.0×102 s和4.0×103 s.用精度为0.05 mm的游标卡尺测量滑块的宽度为d,其示数如图(c)所示.

 

图实-1-12

(1)滑块的宽度d=________ cm.

(2)滑块通过光电门1时的速度v1=________ m/s,滑块通过光电门2时的速度v2=________ m/s.(结果保留两位有效数字)

(3)由此测得的瞬时速度v1v2只是一个近似值,它们实质上是通过光电门1和2时的________,要使瞬时速度的测量值更接近于真实值,可将________的宽度减小一些.

试题详情

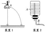
9.(8分)某同学利用如图所示的两种装置探究平抛运动,方案如下:

装置1:用小锤打击金属片,A球水平抛出,同时B球自由下落.仔细观察AB两球是否同时落到水平地面上.若同时落地,则说明水平分运动是匀速运动,竖直分运动是自由落体运动.

装置2:竖直管A上端要高于水面,这样可在较长时间内得到稳定的细水柱.水平管B喷出水流,在紧靠水流、平行于水流的玻璃板上用彩笔描出水流的轨迹,这就是平抛运动的轨迹.找出以上叙述中不当之处并写到下面:

(1)_____________________________________ ____________________;

(2)_________________________________________________________.    

试题详情

8.质量为m的小物块,在与水平方向成a角的力F作用下,沿光滑水平面运动,物块通过A点和B点的速度分别是vA和vB,物块由A运动到B的过程中,力F对物块做功W和力F对物块作用的冲量I的大小是     

A.

B.

C.

D.

试题详情

7.由于地球表面存在大气层,使太阳光覆盖地球面积与没有大气层时不同,则有大气层时太阳光覆盖面积是较大还是较小?地球某处清晨接收到的第一缕阳光是何种颜色?(设大气层为均匀介质)

A.较小,紫色    B.较小,红色

C.较大,红色    D.较大,白色

试题详情

6.一宇航员到达半径为R、密度均匀的某星球表面,做如下实验:用不可伸长的轻绳拴一质量为m的小球,上端固定在O点,如图甲所示,在最低点给小球某一初速度,使其绕O点的竖直面内做圆周运动,测得绳的拉力F大小随时间t的变化规律如图乙所示.F1=7F2,设Rm、引力常量G以及F1为已知量,忽略各种阻力.以下说法正确的是  

A.该星球表面的重力加速度为

B.卫星绕该星球的第一宇宙速度为

C.星球的质量为    D.小球在最高点的最小速度为零

试题详情

5.如图所示,小车的质量为M,人的质量为m,人用恒力F拉绳,若人与车保持相对静止,且地面为光滑的,又不计滑轮与绳的质量,则车对人的摩擦力可能是

A. F,方向向左         B. F,方向向右

C. F,方向向左         D. F,方向向右

试题详情

2.一个小石子从离地某一高度处由静止自由落下,某摄影爱好者恰好拍到了它下落的一段轨迹AB.该爱好者用直尺量出轨迹的长度,如图1所示.已知曝光时间为 s,则小石子出发点离A点约为               

A.6.5 cm   B.10 m  C.20 m     D.45 m

试题详情

1.如图4所示,物块A放在倾斜的木板上,已知木板的倾角α分别为30°和45°时物块所受摩擦力的大小恰好相同,则物块和木板间的动摩擦因数为    

A.       B.      C.      D.

试题详情

22.若数列满足,其中为常数,则称数列为等方差数列.已知等方差数列满足.

(1)求数列的通项公式;

(2)求数列的前项和;

(3)记,若不等式对于一切恒成立,求实数的取值范围.

江西省樟树中学2011届高三第一次月考

试题详情

21. 已知函数(其中常数),

(1)求的定义域及单调区间;

(2)若存在实数,使得不等式成立,求的取值范围. 

试题详情


同步练习册答案